钳位在电视、录象、仪器仪表等电子技术领域中有着广泛的应用。所谓钳位,是指将脉冲信号中的某个部分固定在预先设定的电平上的过程。为了更确切地理解钳位的概念,我们先对脉冲信号作一简单的分析。设有图1(a)所示的脉冲信号,该信号为单极性信号(单极性信号指只有正值而无负值或只有负值而无正值的信号),可以把它看成是由图1(b)所示的直流信号V\(_{0}\)与图1(c)所示的交流信号V'两者叠加而成的。其中,V0被称作脉冲信号的直流分量。当此脉冲信号通过电容或变压器耦合电路时,由于直流分量不能通过电容与变压器,所以通过耦合电路后,信号中只剩下了交流分量。这种情况叫作直流分量丢失。

实际上,不仅是单极性信号,只要不是对称的信号,其直流分量就不等于零。这样的信号在通过电容或变压器耦合电路后,都会有直流分量丢失的问题。
如果信号的大小是变化着的,如图2(a)所示的那样,那么其直流分量的大小也各不相同。当它们丢失直流分量后,就变成了图2(b)所示的状况,显然此时的波形与原来的信号波形有所不同,即失真了。若要避免因直流分量丢失所造成的失真,就该采用直流耦合放大电路。但是,多级直流放大器电源的供电电路比较复杂,设计与调试都比较困难。因此,在实际电路中仍然采用交流耦合方式。然后再针对直流分量丢失的问题用其它措施设法进行补救,以降低成本,简化电路。

对比图2(a)与图2(b)的信号不难看出,如果我们设法把图2(b)所示失真信号的底部强制上移,使之固定于零电平上,则信号就可以恢复原来的面貌,与未丢失直流分量前一样。这种把信号中某个部分强制固定在预定电平上的过程就叫作钳位。因为它能起到“恢复”直流分量的作用,因此又往往把钳位称作直流恢复。
电视技术中钳位的作用
电视中的全电视信号也是一种单极性信号。对于我国使用的负极性图象信号来说,电平越高,表示图象越暗,电平越低,表示图象越亮。信号中的消隐电平就是黑色电平,见图3。我国电视制式规定,同步信号电平为100%,消隐信号电平为75%,图象信号依图象内容不同而有不同的电平值,最亮处的图象信号电平最低,称为白电平。下面我们以黑白条电视图象的电信号为例,来说明信号丢失直流分量后的变化及钳位的必要性。

黑白条图象及其所对应的电信号如图4(a)、图4(b)所示。图4(a)的电信号可看成是由直流分量V\(_{a}\)与以Va为零电平的交流分量u'\(_{a}\)叠加而成,见图(a)'、图(c)。而图4(b)电信号为直流分量Vb与交流分量u'b叠加而成,见图(b)'、图(d)。应当注意:信号(a)与(b)的黑白电平都是等高的,当它们失去直流分量V\(_{a}\)与Vb之后,剩下的交流分量u'\(_{a}\)与u'b应均以零轴为准,见图(c)、图(d)。可见,原直流分量较大的(a)信号黑电平下移,而直流分量较小的(b)信号黑电平上移。使连续电信号由(a)变至(b)时,交流成分(c)、(d)的动态范围加大。这样的电信号如果不恢复直流分量而在接收机显象管上显示图象,根据高电平为黑,低电平为白的道理,(c)信号必然显示灰白条图象,而(d)信号必然显示灰黑条图象。即信号丢失直流分量之后,图象的对比度减小了,有了灰度失真,见图4(e)、图4(f)。

人们在普及型电视机上看到的黑色场景往往是灰濛濛的一层,层次不清楚,就是这种原因造成的。黑色电平的移动也给同步分离带来困难。在彩色电视机中,黑色电平的漂移还将使图象的底色色调发生变化。人的眼睛对于色调的变化是十分敏感的,底色色调的轻微变化就能使人感到明显的失真。所以在彩色电视机中丢失直流分量所造成的后果将更加严重。
由于反映图象不同亮度的信号电平都是以黑色电平为基准,相对它而单方向变化的,因此如能将黑色电平固定在它原有的位置上,则其他不同亮度的相应电平之间的关系也就随之被固定了。例如在图4中,如果我们将图(c)、(d)中的黑色电平段(信号的上端)拉平在原有位置上,就能使(c)、(d)恢复原来的形状。由此可见,固定电视图象信号中黑色电平(即消除电平),可以消除丢失直流分量引起的失真。这就是钳位电路的作用。
钳位电路的工作原理
图5是钳位电路的原理图。其中,R\(_{i}\)为信号源内阻,C为钳位电容,K为钳位开关,E为预定钳位电平,R为负载电阻。将图4中失去直流分量的信号4(c)、4(d)送入电路,选择F值为图4中的黑色电平值,在信号波顶部(图4C中的T1段)来到的时候接通开关K,此时E与V'串联后对C充电,充电电流方向如充箭头所示。只要R\(_{i}\)足够小,就可在极短的时间内使C两端电压为UC=E-V\(_{T1}\)。这时B点电位为E。随即断开开关K,C开始通过Ri和R放电。只要R足够大,放电很慢,就可保证在整个周期内U\(_{C}\)基本保持不变,则B点输出电平等于UC与失去直流分量的交流信号电平之和。这样在T\(_{1}\)段,B点可上移被钳定在黑电平(UB=E)处。当T\(_{2}\)段到来时,由于黑色电平与VT1之差和白电平与V\(_{T2}\)之差是相等的,故信号的下端应准确地落在白电平所处的位置上。这样一来使整个信号上移了一段,与失去直流成分之前的图4(a)波形相同。

由以上分析可知,在钳位电路中,是靠钳位电容来建立与保持钳位电平的。这就要求钳位电容的电压建立时间短,即R\(_{i}\)C的时间常数要小(RiC《T),而钳位电容上电压的保持时间应足够长,即U\(_{C}\)的放电时间(Ri+R)C》T(T为信号的周期)。只有这样才能保证在整个周期内,钳位电平基本保持不变。
几种典型的钳位电路
图6(a)和(d)所示是简单的二极管钳位电路,它与图5原理电路基本相同,不同的是用二极管D作为选通开关代替了开关K。图6(a)电路可把信号脉冲的顶部电平钳定于-E值,见图6(b)、6(c)。图6(d)电路可将信号脉冲的底部上移,见图6(e)、6(f)。当预定钳位电平E=0时,图6(a)、6(d)电路可分别将信号的顶部或底部钳定在零电平上。工作原理不再赘述。

图7(a)是三极管钳位电路。它与图5原理电路也基本上相同,只是用三极管代替了开关K,并用选通脉冲控制三极管的导通与截止。在图7(c)所示的选通脉冲到达时刻,三极管导通,脉冲过后三极管截止。通过控制选通脉冲到达的时刻,来达到选择钳位点的目的。图7(b)是钳位前的波形,钳位后的波形如图7(d)所示。

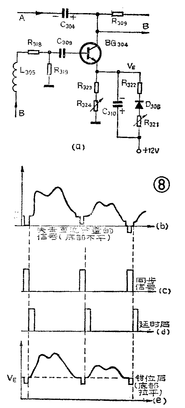
图8是日立CRT-45OD彩色电视机中的实用钳位电路,这是一个典型的三极管钳位电路。其中,C\(_{3}\)04是钳位电容,Q304用作钳位开关。钳位电平V\(_{E}\)值由R321、D\(_{3}\)06、R322、R\(_{323}\)及R324分压设定。当如图8(b)所示的失去直流分量的视频信号由A点经C304输入时,图8(c)所示的行同步脉冲经L\(_{3}\)05、R318、R\(_{319}\)延时分压,与消隐脉冲的后沿对齐,再经C309加至Q\(_{3}\)04的基极,控制三极管的导通时间,在消隐脉冲后沿处进行钳位,使B点电位钳定于VE值上。图8(d)和(e)分别示出了延时后和钳位后的波形。调整R\(_{324}\)可调整钳位电平的高低和消隐电平的高低,从而可改变黑电平的高低,起到亮度调节的作用。

图9为桥式钳位电路。D\(_{1}\)、D2、R\(_{1}\)、R2组成桥式电路,且D\(_{1}\)与D2相同,R\(_{1}\)=R2作钳位开关用。在M、N两端输入幅度相同,极性相反的选通脉冲,则D\(_{1}\)、D2同时导通。此时电桥平衡,B点电位必然与e点电位相同。所以在选通脉冲到达的时刻,B点将被钳定于E上。假设输入信号的被钳位点电平低于E值,则D\(_{2}\)导通电流大于D1。因C\(_{3}\)》C1,所以C\(_{3}\)两端电压变化不大,C1被充电而使B点电位上升,直至E值为止。同样,当输入信号的被钳位点电平高于E值时,D\(_{1}\)导通电流增大,C1通过D\(_{1}\)对C2放电。由于C\(_{2}\)》C1,故C\(_{2}\)两端电压基本不变, C1的B端电压下降,直至B点电位降至E值为止。所以,桥式钳位电路具有良好的双向钳位作用,即被钳位点的电平无论偏高还是偏低,都能被准确地钳定在预定的电平E上。在D\(_{1}\)、D2导通期间,C\(_{1}\)、C2被迅速充电,充电极性如图所示。当选通脉冲消失后,C\(_{1}\)、C2通过R\(_{1}\)、R2放电,由于R\(_{1}\)、R2阻值很大,放电极慢,故C\(_{1}\)、C2上的充电电位在选通脉冲的间隔时间内可保持不变,使D\(_{1}\)、D2处于反向偏置而保持截止状态。为进一步提高抗干扰能力,通常选取选通脉冲值为被钳位信号电平的2~4倍。这样在选通脉冲的间隔期间,因C\(_{2}\)、C3上所充电压较高,只有在干扰脉冲的幅度超过C\(_{2}\)、C3上的电平值后,才有可能迫使D\(_{1}\)、D2导通,而受到干扰。因此,桥式钳位电路的双向钳位及抗干扰性能均优于其它的电路。但因电路本身较为复杂,并需配置专门的分相电路,以取得幅度相同、极性相反的对称选通脉冲。故该电路一般多用于要求较高的地方,如电视台的设备中。

以上介绍了二极管钳位电路、三极管钳位电路及桥式钳位电路。比较起来,二极管钳位电路比较简单,它的抗干扰性能较差,通常在要求不高的场合应用较多。三极管钳位电路有较好的抗干扰能力,只要在基极上所加的选通脉冲足够大,保证三极管充分饱和,就能满足一般电路双向钳位的要求,故应用很广泛。桥式电路比较复杂多用于要求较高的地方。
综上所述,钳位电路是专门用于直流分量不等于零的信号中,采取将信号中某一平直部分固定于预先设定的电平上的办法,来弥补失去直流分量后波形失真的,起到等效于直流分量保持的作用。因而又称作直接恢复电路或幅度推移电路。在钳位过程中,波形只在电平值上作整体上下的移动,而没有其他附加形态的变化。它与限幅、削波电路,在电路的组成及所起作用方面都有本质的不同。(关贻 吴士圻)