触摸控制是目前国际上较为流行的照明控制款式,本文介绍的触控调光器可用于台灯、壁灯或吊灯,其输出电压分别调整为90V、130V和200V三档,加上“关断”共为四档,分别对应于灯具的“暗”、“中”“亮”“关断”四种状态。使用时用手触摸一金属片,灯光亮度便按→关断→暗→中→亮的顺序变化,变化速度约每秒一档。变至所需档位时,将手撤离,即可保持该档工作状态。
原 理
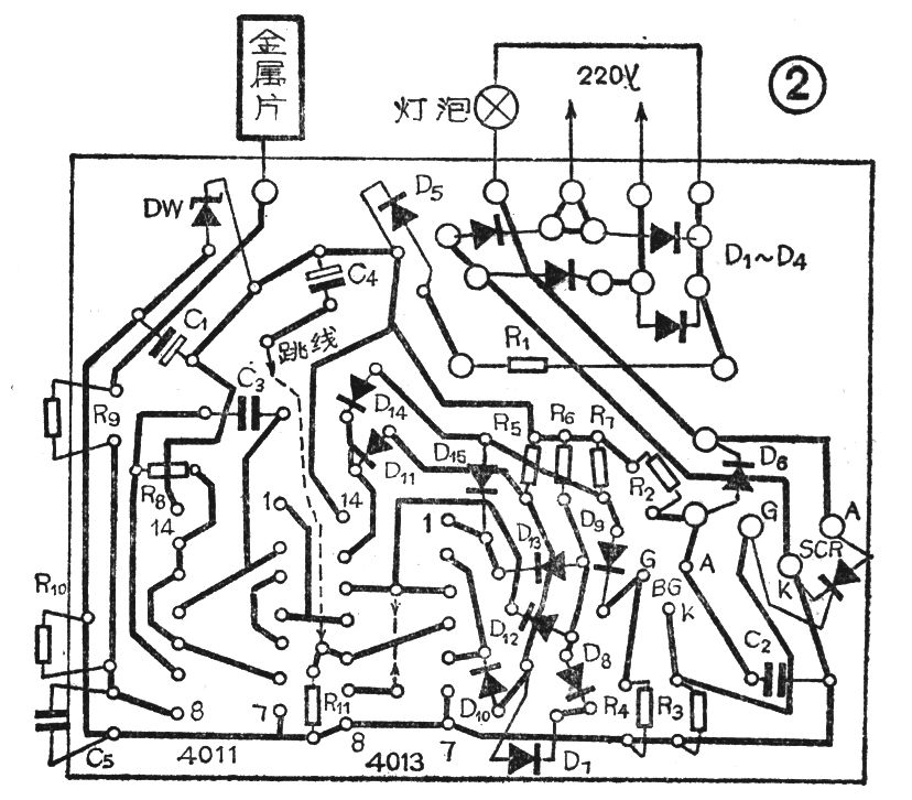
电路见图1,分为电源、数控、主控三部分。

1.电源部分:输入端直接接至交流220V,桥路输出约200V的单向脉动电压,作为主控部分可控硅及负载的电源,再经降压、稳压、滤波后得到15V的直流电压,供给数控部分及主控部分的触发电路。
2.数控部分:与非门YF\(_{1}\)、YF2以及R\(_{8}\)、C3构成自激多谐振荡器,用以产生计数脉冲。YF\(_{1}\)的8脚为触控端,通常该端通过R10接低电平,振荡器不起振,无计数脉冲输出。当人手触及金属片时,该端为高电平,振荡器起振,输出计数脉冲。YF\(_{3}\)、YF4构成RS触发器,对振荡器输出的脉冲整形。D触发器D\(_{A}\)和DB构成二位二进制计数器,当输入端C\(_{0}\)加入连续计数脉冲时,其输出状态(Q1、Q\(_{0}\)端)按→00→01→10→11的顺序变化。本电路选用的D触发器,其置位端“S”、复位端“R”均为高电平有效。图1中S端接低电平,因此失去作用。平时R端通过R11接低电平,在电源接通的瞬间,通过C\(_{4}\), R端将得到一个正脉冲,使计数器自动复位至“00’状态。D10~D\(_{15}\)构成三个二极管与门,对计数器的输出状态进行译码选通。当计数器输出为“00”状态(Q1=0、Q\(_{0}\)=0)时,D11及D\(_{13}\)~D15的负极均接低电平,故图1中①②③三点均被钳位于0.7V左右(2CP10的正向压降),此时主控部分①②③三个支路均不被选通。当计数器输出“01”状态(Q\(_{1}\)=0、Q-1=1、Q\(_{0}\)=1)时,D10、D\(_{11}\)的负极均接高电平而截止,支路①被选通,①点电位由R4与R\(_{5}\)分压决定(忽略D7的正向压降),此时②③两点仍被钳位在0.7V,由于D\(_{8}\)、D9的隔离作用,②③两点的电位不会影响①点电位。依此类推,当计数器输出“10”和“11”状态时,将分别选通②③支路。
3.主控部分:主控部分实际上是一个可控硅分档调压电路。BG为程控型触发管,与普通单结管不同之处是分压比η由外电路决定。它的振荡周期为:
T≈R\(_{2}\)·C2·1n\(\frac{1}{1-η}\)。
当R\(_{2}\)和C2不变时,η加大则T加大,于是SCR的导通角随之减小。本电路中η=\(\frac{R}{_{4}}\)R4+R\(_{n}\),当数控部分分别选通①~③支路时,Rn分别表示R\(_{5}\)~R7。当选通支路①时η=R\(_{4}\);R4+R\(_{5}\),此时η最大(因R5<R\(_{6}\)<R7),则BG的振荡周期T最大,于是SCR的导通角最小,对应于“暗”档。依此类推,选通②③支路时,分别对应于“中”、“亮”两档。当①~③三个支路均不被选通时,BG无触发脉冲输出,此时“关断”。触发电路与主电源的同步依靠D\(_{6}\)来实现,保证SCR在每个周期内导通角相等。D5起隔离作用,当主电源电压过零时,D\(_{5}\)因反偏而截止,此时C1上的电压将不致影响SCR的正常关断。
制 作
印刷板见图2。应注意负载电流流经部分的铜箔宽度不要小于1.5mm。R\(_{1}\)为2W金属膜电阻。C\(_{2}\)、C3选用金属化纸介或涤纶电容。YF\(_{1}\)~YF4用一片4011。D\(_{A}\)和DB用一片4013。使用的程控型触发管BG的型号为PUT40。

调 试
接220V、100W灯泡做负载,用万用表直流电压档测灯泡两端电压,并用手间断触摸金属片,使电路依次处于“暗”、“中”、“亮”三档,分别调整R\(_{5}\)~R7的阻值即可获得所需的各档电压值。R\(_{5}\)~R7的阻值增大,则输出电压升高。
由于不同可控硅的触发灵敏度相差较大,故个别情况下可能出现在“关断”档误导通或在开通档不导通。若不导通,可在保持R\(_{2}\)·C2时间常数不变的情况下,适当减小R\(_{2}\)同时加大C2,或者加大R\(_{3}\)。若仅在“亮”档不导通,则多为触发脉冲幅度不够,可同时减小R5~R\(_{7}\)(但最小的阻值不能低于10kΩ)。R5~R\(_{7}\)减小后,须相应减少R2·C\(_{2}\)时间常数。若误导通,则应减小R3或加大R\(_{2}\)同时减小C2。(青岛灯具厂 房宗实)