目前的助听器都是扩音电路,对完全失去听力的聋哑人就无能为力了。本文介绍的助听眼镜是将声波转换成光信号,让聋哑人通过视觉感受声音。戴上这种眼镜可分清汽车,拖拉机声音及喊话等,并能分清男低音和女高音。
电路工作原理
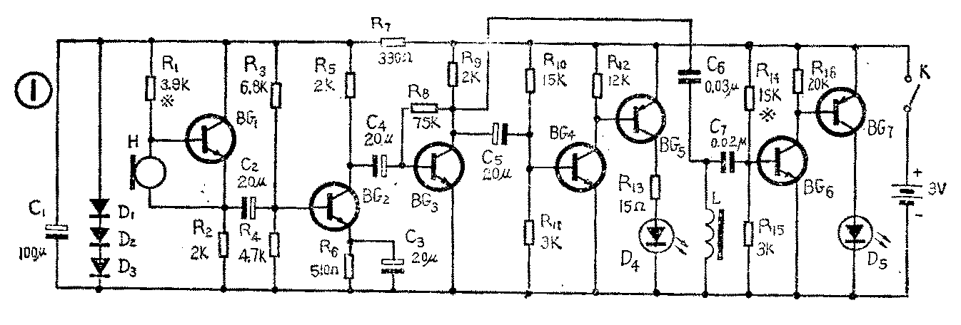
图1是助听器电路图,实际上它是一个高低音双路放大器。声音通过话筒H变成电信号,经过BG\(_{1}\)~BG3组成的前置音频放大器进行放大。然后分成两路,一路经C5加至BG\(_{4}\)和BG5组成的驱动级,驱动D\(_{4}\)发光。由于BG4工作在乙类,所以D\(_{4}\)反应的声音节律及大小较明显。象拖拉机的声音和汽车的声音及一般的说话声音在D4的反应都各有特色。D4贴在左眼镜片上,这样,聋哑人通过视觉感受到声音,并可粗略地判定声音的性质和大小。

另一路经由C\(_{6}\)、L、C7组成的高通滤波器加至BG\(_{6}\)和BG7组成的驱动级,驱动D\(_{5}\)发光。由于加了高通滤波器,所以只有在高音频时D5才发光,D\(_{5}\)贴在眼镜的右镜片上。由此可见助听眼镜能分出高低音及声音的大小和节律。
元件选择及调整
BG\(_{1}\)~BG4β值不可低于80。BG\(_{5}\)、BG7的β=80~120。BG\(_{6}\)的β≥100。H用驻极体话筒34B·45。D4、D\(_{5}\)用502胶贴在镜片上。电感L在φ5.2mm的“I”字型骨架上绕制,用φ0.15或φ0.2的漆包线绕70匝,电感量3~4mH。图2是印制板图。

采用不同型号的驻极作话筒,R\(_{1}\)的值也要相应的调整。用20k电位器代替R1,边调电位器边说话,看什么时候D\(_{4}\)发光最亮为止。再用一阻值相近的电阻焊上即可。测BG2集电极对发射极电压,如果在0.8V~15V之间就不必调R\(_{3}\)了。电路板装在小型半导体收音机的机壳内,吹C调口琴的高音1·、2·、3·时D4、D\(_{5}\)发光,而一般讲话音只有D4发光。(常光宇)