凡是准备自己组装彩色电视机,都要对白平衡电路进行调整,本文以日立CTP—216D型彩色电视机为例,介绍一种在没有任何仪器的情况下对白平衡电路进行调整的方法,白平衡调整也称灰度调整,整个调整包含暗白平衡(简称暗平衡)和亮白平衡(简称亮平衡)两部分内容,可分两个步骤进行。
暗平衡调整
暗平衡调整,也称低亮度白平衡调整。调整暗平衡是为了保证彩色显象管在显示亮度很低的黑白图象时,荧光屏上不出现任何颜色。在彩色显象管中三个电子枪的调制截止特性是不同,即三个电子束电流不同,暗白平衡调整就是设法把三个电子枪的截止偏压调整到一致,使电子束电流在同一低电平上出现。
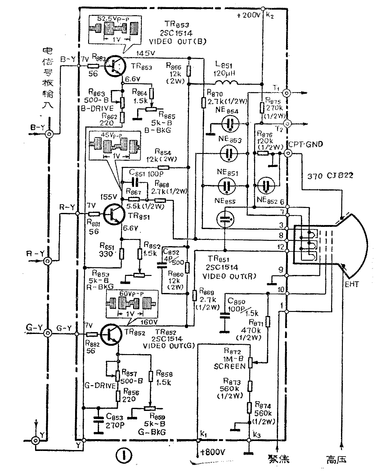
1.矩阵电路的调整:具体电路见图1,由前级送来的R—Y、G—Y、B—Y三个色差信号分别送入三个末级视放管TR\(_{851}\)、TR852、TR\(_{853}\)的基极,经倒相放大后送到显象管的三个阴极,R853、R\(_{859}\)、R865是红、绿、蓝暗平衡调整电位器,三个电位器的中心端分别接TR\(_{851}\)、TR852、TR\(_{853}\)的发射极,调节三个电位器可改变三个视放管的直流工作点。矩阵电路调整就是调节这三个电位器,使TR851的集电极电压为155V,TR\(_{852}\)的集电极为160V,TR853的集电极电压为145V。

2.显象管外围电路的调整:图2是显象管座电路板上白平衡调整电位器的位置图,在调整之前必须做好如下准备工作:(1)拔下信号板上的亮度信号(Y)以及三个色差信号R—Y、G—Y、B—Y的连接线;(2)把场振荡管TR\(_{6}\)01的发射极与集电极(即测试点TP602与TP\(_{6}\)02)用一根导线连接,使场振荡器停止工作,或者从接线柱M3、M\(_{4}\)处拔下场偏转线圈;(3) 将绿色亮平衡电位器R857和蓝色亮平衡电位器R\(_{863}\)调到中间位置;把红色暗平衡电位器R853、绿色暗平衡电位器R\(_{859}\)、蓝色暗平衡电位器R865按逆时针方向旋转到底;把帘栅电压控制电位器R\(_{872}\)和副明亮度电位器(R327在第二视放管的集电极上)按逆时针方向旋转到底;最后把色饱和度、对比度及亮度控制旋钮(在电视机的前面板上)调整到最小位置。上述操作准备好后,开机接通电源,预热15分钟,对暗平衡进行系统调整。

首先按顺时针方向缓慢调整帘栅电位器R\(_{872}\),使荧光屏上出现一条微蓝色水平扫描线,插上R—Y色差信号线,再按顺时针方向缓慢调整红暗平衡电位器R853,使荧光屏上出现一条微红色水平扫描线,如果红色水平扫描线较亮时,再按反时针方向调整帘栅电位器R\(_{872}\),直到出现微红色水平扫描线为止。拔掉R—Y色差信号线,插上G—Y色差信号线,按顺时针方向调整绿色暗平衡电位器R859,使荧光屏上出现一条微绿色水平扫描线。再拔掉G—Y色差信号线,插上B—Y色差信号线,按顺时针方向调整蓝色暗平衡电位器R\(_{865}\),使荧光屏上出现一条微蓝色水平扫描线。这时再把R—Y、G—Y色差信号线依次全部插上,使荧光屏上微微出现红、绿、蓝三条扫描线。如果只能看见二条或一条彩色线,则缺哪个颜色就调整那个颜色的暗平衡电位器,直到红、绿、蓝三条彩色线都同样微微出现为止。
亮平衡调整
亮平衡调整也称高亮度白平衡调整,调整亮平衡是为了保证彩色显象管在重现亮度较高的黑白图象时,荧光屏上不出现任何颜色。亮平衡调整就是通过调整三基色激励信号的幅度来补偿三个电子枪的跨导不同和荧光粉发光效率不同引起的不平衡。在日立CTP—216D型电视机中,彩色显象管的红荧光粉的发光效率最低,因而加在红电子枪阴极的激励信号的幅度最大,即不需要调整,只需改变绿枪、蓝枪阴极的激励信号幅度,就能使三基色信号幅度的比例达到合适。具体步骤如下:
首先接上亮度信号Y的连接线,拆除场振荡管发射极与集电极之间的短路线,或者插上接线柱M\(_{3}\)、M4处的场偏转线圈,然后将色饱和度旋钮仍保持到最小位置,对比度旋钮调到中间位置,亮度旋钮控制到适中。这时光栅亮度还不够高,再按顺时针方向调整副明亮度电位器R\(_{327}\),使亮度足够亮,接着仔细微调亮平衡驱动电平调整电位器R857和R\(_{863}\),R857和R\(_{863}\)实际上是矩阵电路中末级视放管TR852和TR\(_{853}\)发射极的反馈电阻,调节R857和R\(_{863}\)可以调整末级视放管TR852、TR\(_{853}\)发射极电流的负反馈量,即调整绿通道和蓝通道输出信号的幅度,直到整个光栅出现纯白色,也就完成了亮平衡的调整。
以上的暗平衡及亮平衡调整,最好在暗室或在光线较暗的房间内进行。当完成上述两大步骤的调整后,最好再送入阶梯信号进行验证。送入阶梯信号后,在荧光屏上显示出八条灰度不同的竖条,调整暗平衡电位器,可使中低亮度的坚条不带颜色,调整亮平衡电位器,可使最亮的竖条不带颜色,但要注意,暗、亮平衡的调整也是互相影响的,需反复微调,才能实现理想的平衡状态。
另外,除了组装电视机外,在彩色电视机的维修中,也常需要对白平衡电路进行调整。如:有的彩色电视机使用几年之后,颜色逐渐不真实了,在接收黑白电视图象时,画面上出现偏色。造成偏色故障一般是末级视放电路中的某个元件值发生变化,致使加到显象管的某一阴极电压发生变化,也有的是接在末级视放管发射极上的暗平衡电位器上灰尘积聚过多造成的。处理这种故障时首先用酒精把暗平衡电位器擦洗干净,然后仔细调整暗平衡电位器,使三个末级视放管的集电极电压达到标称值,其余的白平衡电位器可不必调整,也能实现比较理想的白平衡。(曹洪柱)