磁带张力伺服系统
录象磁带的带基是一种柔性体,它在运行中受到不同的张力,会使它的长度增加而使视频磁迹角减小。同时使磁带上控制信号的X值(X=79.244mm)增大,都会使图象的质量变坏而影响观看效果。
NV—450MC录象机为了获得稳定的张力值,采用了图14所示的张力伺服机构,它是一个机械式张力自动调整机构。它由张力杆、张力臂、张力簧和张力带组成。张力带是一条表面粘有毛毡的弹性金属带,工作时张力带由张力臂拉动,而张力带又包在供带盘下面的凸台上。在录放状态时,张力臂由张力簧牵引,使张力带和供带盘之间产生一定的阻力距,同时张力臂上的张力杆以一定的压力靠在磁带上。

当磁带张力增大时所产生的分力使张力杆向右移动,必然使张力臂顺时针转动,则张力带微量松弛,它对供带盘的阻力距减小,因而供带盘瞬间转速加快,磁带所受张力必然降下来。磁带张力下降后,张力杆在张力簧的作用下向左移动,张力臂也逆时针转动使张力带增加了对供带盘的阻力距,因而又使磁带所受的张力上升。在整个工作过程中,以上动作反复进行来完成磁带张力自动调整。磁带张力的大小可通过改变张力簧的拉力来调整,但是在没有测量手段的情况下不要乱动,否则会使指标下降而图象质量变坏。
磁带加载传动系统
在录、放之前首先将磁带从带盒中引出,再将磁带绕在磁头鼓上,同时使磁带同全消磁头和音/控磁头接触上,这个过程称磁带的加载,反顺序称为卸载。
NV—450MC机芯中加载过程如图15所示。加载电机通过一级皮带和三级齿轮传动使凸轮齿轮转动(打开底盖可以看到),达到了降低转速和增加转距的目的。凸轮齿轮通过它外面的曲线槽和扇形齿轮上的小轴,推动扇形齿轮顺时针转动,扇形齿轮驱动推动齿轮逆时针转动,推动齿轮又带动主动齿轮和被动齿轮以相反方向转动,从而带动供、卷带加载臂向前回转,使供、卷带导柱座向前运动完成加载。卸载时按相反顺序进行。

带盘驱动系统
NV—450MC机芯的带盘驱动系统位于供、卷带盘的中间部位,其结构如图16所示。主导电机1通过皮带传动使皮带轮齿轮2转动,皮带轮齿轮2又去推动斜齿轮3转动,斜齿轮3通过滑键带动二联齿轮4以相同速度转动。在录放状态下二联齿轮4的小齿轮带动调节齿轮5转动,调节齿轮5靠摩擦带动摩擦齿轮8转动,此时与摩擦齿轮8用键连接的驱动摩擦轮10也转动起来。最后驱动摩擦轮10通过带盘摩擦轮11使带盘12转动。重放、记录、快进和正向搜索四个状态,带盘摩擦轮靠在卷带盘上使它顺时针转动,倒带和倒搜索时,带盘摩擦轮靠在供带盘上使它逆时针转动。在快进和倒带时,滑板带动拨叉使二联齿轮4按箭头方向A移动,直接用二联齿轮4的大齿轮推动变速齿轮9,以提高转速达到缩短时间的目的。

制动刹车系统
NV—450MC机芯在供、卷带盘的内侧设置了供、卷带主刹车装置,如图17所示。主刹车的作用是机芯不工作时,防止供、卷带盘随意转动而造成磁带松弛。其次,当带盘从快进变为停止状态的瞬间,使带盘停止转动而不损坏磁带。在快进状态时卷带盘为主动而供带盘为被动,都依顺时针方向转动,当录象机从快进变到停止的一瞬间,供、卷带主刹车立刻同时动作而分别加到供、卷带盘上。由于结构设计供带主刹车的动力大于卷带主刹车的动力,因此卷带盘由转动到停止的时间落后于供带盘停止时间,于是磁带就紧紧地缠绕在磁带盒内。显然只有停止状态时主刹车才靠在带盘上,其它状态均与带盘脱开。

带仓传动系统
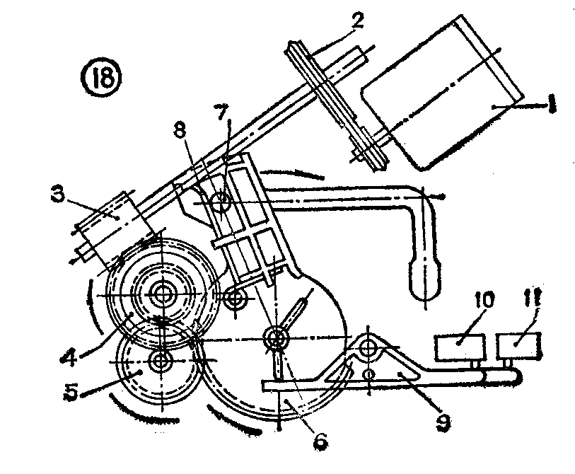
NV—450MC的带仓传动系统示意图如图18所示。工作时电机1通过皮带轮2带动蜗杆3旋转,蜗杆3又带动组合齿轮4转动,组合齿轮4推动同步轮5转动后又带动臂齿轮6向前回转,臂齿轮6通过弹簧8再推动移动仓轴7在左右仓壁的槽内滑动当磁带盒加载到位后由弹簧8把磁带盒保持在工作位置上。

带仓卸载到位后电机停止转动,当再送入新的磁带盒时,齿轮需要反向转动,但蜗轮杆不能进行反传动而是处在自锁状态。因此把蜗轮设计成组合齿轮,蜗轮和内侧齿轮用扭簧连接,使它们之间有少量的相对运动。这样在送入磁带时,人的推力可使臂齿轮顺时针转一个角度,这个角度设计成足以使微动开关10和11改变状态而使电机再工作起来又开始加载。加载到位以后,电机还要再继续使臂齿轮转一个角度,使弹簧8对移动仓轴7产生一个弹性力。这种弹性软接触是加载传动的一种好方法。
NV—450MC录象机的机械系统是很精密和复杂的,以上只是对其主要部分作了介绍。只有通过日常对录象机的使用和维修等实践,才能进一步熟悉它的机械系统结构和原理,才能正确使用和保养,从而延长录象机的寿命。(郝砚田)