我根据传统的“鸡吃虫,老虎吃鸡,棒打老虎,虫蛀咬棒”游戏方法设计了一个电子游戏机。
游戏机外形很简单,中间面板上有两只发光二极管,两边各有四个触摸片,分别代表鸡、虫、虎、棒。游戏时,A、B两人分坐一旁,通过控制四个触摸片来指挥自己的四路“大军”。例如,当A方出“鸡”,B方若出“虫”时,于是A方获胜,靠A方一侧的LED亮;若B方出的是“虎”,则B方获胜,靠B方一侧的LED亮。任意一方获胜,压电陶瓷片均发声,表示祝贺。若A、B双方出了两种不相克的“大军”,则算作平手,两个LED均不亮,压电片也不发声。双方调兵遣将,玩起来颇有兴趣。
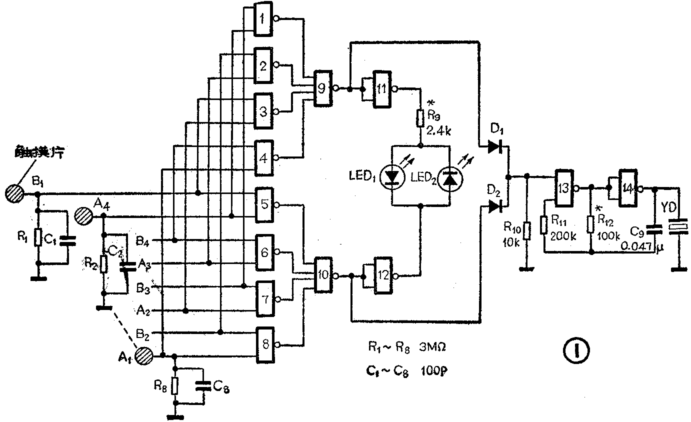
电路工作原理
首先给四路“大军”编号:棒为1、虎为2、鸡为3、虫为4。则A方“大军”为A\(_{1}\)2\(_{3}\)4;B方“大军”为B\(_{1}\)2\(_{3}\)4。统计一下双方出兵的可能, A方获胜的情况为:A\(_{1}\)B2(即A方出“棒”,B方出“虎”,“棒”正好打“虎”,以此类推。)、A\(_{2}\)B3\(_{3}\)B4\(_{4}\)B1;B方获胜的情况为:A\(_{1}\)B4\(_{2}\)B1\(_{3}\)B2\(_{4}\)B3。于是设计出图1电路,利用与非门1~4检出B获胜的四种情况;与非门5~8检出A方获胜的四种情况。平时这些与非门因输入端均经3MΩ电阻接地,输入为“0”,故输出均为高电平“1”。因此,与非门9、10输出为“0”,与非门11、12输出为“1”,LED\(_{1}\)、LED2 均不亮。当任一与非门,譬如门1的两个输入端同时被触摸时,人体的感应电压使其输入端变为高电平,输出变为“0”。此时门9输出为“1”,经D\(_{1}\)、D2组成的或门电路使与非门13、14组成的音频振荡器起振,推动压电陶瓷片发声。平时该振荡器由于门13的一个输入端经R\(_{1}\)0接地,故停振。此时门11输出为“0”,所以LED2亮,表示B方获胜。A获胜的情况也与此相似,只不过是门12输出为0,LED\(_{1}\)点亮。如果A、B双方没有同对触摸同一与非问的两个输入端,财电路无任何反应,应即进行下一轮角逐。

元件选择与制作
本装置共用CMOS集成电路四块:C006(或C036、C066)2输入端四与非门三块,C004(或C034)4输入端双与非门一块,均可使用功能齐全的业余品。两个发光二极管由门电路直接驱动,因此要挑选起始发光电流较小的。D\(_{1}\)、D2选用2CK型。压电陶瓷片YD可选市售的成品。触摸片可用废罐头盒铁皮剪制,镶在面板上,注意触摸片引线要尽量短。电路中需调整的元件只有两个:调R\(_{9}\)使LED亮度适当;根据各人爱好调R12改变YD声调。图2是1:2印刷电路图。将扁平封装的集成块爬焊在印制板铜箔的一面,因为引脚很密,所以焊接时要少用焊钖,以防焊连;也要防止虚焊。(李洪明)
