本文向大家介绍一个很新颖的音色集成电路TDA3810的应用电路。该集成块是飞利浦公司生产的,它有如下几个功能:①可以将单声道信号转换为模拟立体声信号;②可以工作于立体声状态;③可以工作于立体声声象扩展状态。即工作于空间立体声状态。
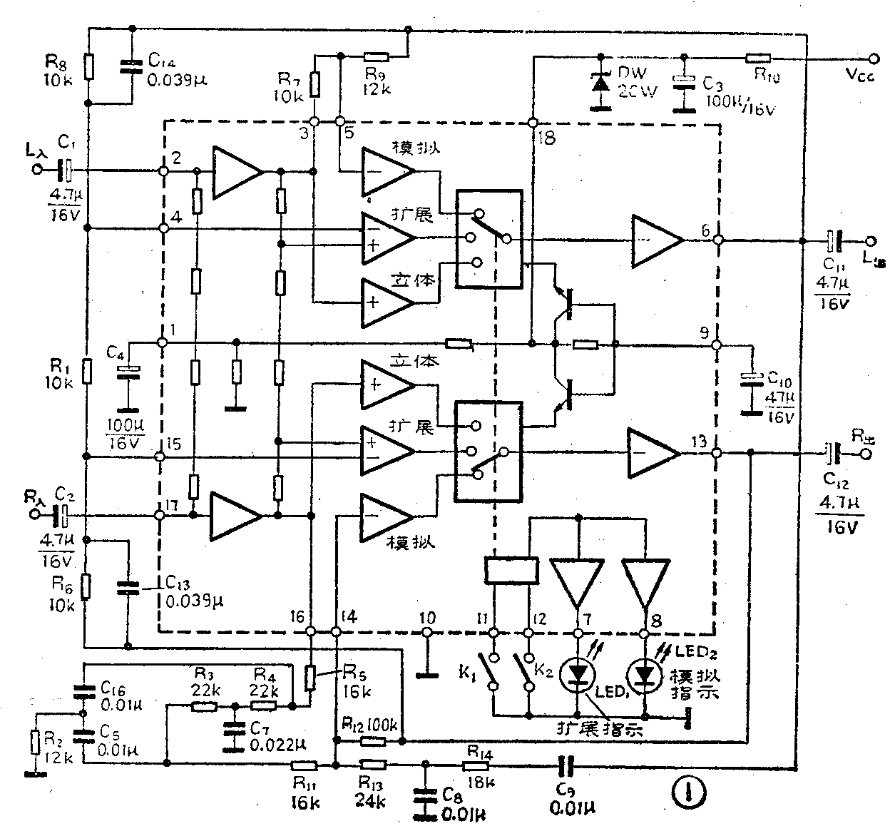
K\(_{1}\)接通,K2可放在任意位置。此时集成块内的逻辑开关切换在立体声状态,LED\(_{1}\)、LED2均不亮,立体声左右声道信号从2、17脚输入,分别从6、13脚输出。集成电路对信号不加任何修饰,而且增益为0dB。
K\(_{2}\)接通,K1断开,LED\(_{2}\)点亮,此时为模拟立体声位置。单声道信号应同时加在左右声道的输入端;这时,从右声道输入端R入输入的信号,要经过外接于第16脚和第14脚之间的复杂的阻容“T”型滤波网络,并受到来自左右声道输出端的反馈网络的影响,才能从输出端R\(_{出}\)输出。而从另一个输入端L入输入的信号,则不需要那么多麻烦就能从L\(_{出}\)端输出。这样,从L出、R\(_{出}\)端输出的左右声道的信号在相位和时间上就产生了差异,于是就构成了模拟立体声信号。
如果开关K\(_{1}\)、K2均断开,则LED\(_{1}\)点亮,此时电路工作于扩展立体声(即空间立体声)状态。这时从13脚输出的右声道信号,经R6、C\(_{l3}\)、R1加到左声道的反相输入端;从6脚输出的左声道信号则经过R\(_{8}\)、C14、R\(_{1}\)加到右声道的反相输入端,这样作用的结果,就会使从L出、R\(_{出}\)输出的立体声信号具有声象展宽的效果。
附表为TDA3810的一些主要参数,可供参考。使用时应注意,TDA3810应在一定的信号强度下工作。因此图1这一部分电路应放置在音响设备的前置放大级之后,音量控制电位器之前。图1中的元件均应选精度高一些的。K\(_{1}\)、K2可选用两只单刀开关,也可以选用一只一刀三掷的开关。发光二极管应选用工作电流小的,以减小集成电路内LED驱动器的功耗。R\(_{1}\)0和2CW稳压管可根据整机电源的情况选择。TDA3810第18脚的电压不得高于12伏。(孙国元)


