目前,电子琴已经进入家庭,但有相当一部分电子琴,如CASIO310、YAMAHA15型等,以及一些国产的电子琴,虽性能优良,但琴本身输出功率小,且无感情踏板配套出售,从而影响了它的表现力。本文向读者介绍一种电子琴专用的功率接续电路,其成本低,元件易找,广大电子爱好者不妨一试。
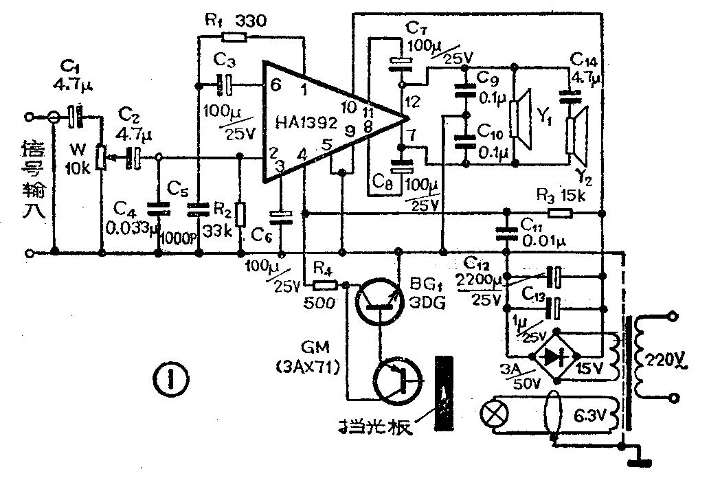
图1是本机的电路原理图。信号输入端接到电子琴的线路输出插口或耳机插口。功放部分采用集成块HA1392。感情控制部分采用光控,光敏管用玻璃封装的3AX31或3AX81代替。本电路工作过程是这样的:脚踏板上的挡光板可控制光通量,从而使光敏管受光照射的强弱不同。当光敏管受光照强时,其阻值减小,进而使BG\(_{1}\)导通的程度变大,其C、E极间电阻减小,R3、R\(_{4}\)与BG1串联,由于分压作用,IC的第4脚电位下降,功放输出增大;反之,光敏管不受光照,BG\(_{1}\)的C、E极间电阻增大,IC的第4脚电位升高,功放截止。因此,在演奏过程中,发音的强弱就可以由演奏者施加于踏板上的力的大小来控制了。

光控部分是本电路的关键,所以读者在安装时要细心,3AX71(3AX81)顶部的黑漆可用小刀轻轻刮去,然后用照像黑纸将管子除顶部以外部分包三层,再用胶布粘紧,最后做一铁皮支架,将光敏管夹牢,并用万能胶粘牢,不能松动,注意装夹用力要适中。挡光板可用普通铁皮制做,孔型按图2所示加工,然后涂上黑漆。踏板用一般木板制成,将挡光板用木螺丝钉钉在脚踏板上,其下部装有弹簧铰链,整个脚踏机构如图2所示。

图3是印制板图,印制板上B点留有缺口,使用时需用φ0.1mm以下的导线连接,起保护作用。集成块HA1392一定要装散热片。整个机构要屏蔽良好,以免有感应杂音。必要时,在输入端与电子琴之间加衰减,则效果更好。

本电路为常闭型,即不踩踏板时无输出,踩到底音量最大。如需常开型,即不踩踏板音量最大,踩下时无声,则只要将挡光板倒装即可。
如果周围环境的杂散光照到光敏管上,干扰放大器工作,则需将灯泡、光敏管及挡光板遮蔽起来。(武超英)