单端推挽电路(OTL、OCL电路),因具有运用合理、性能优良等优点,广泛应用于功率放大电路中,被称作高传真放大器。如果将这种电路适当组合一下,接成桥式电路,则既能保持优良的性能,还可以大幅度提高输出功率,在同样供电电压和同样负载情况下,后者输出的功率可达前者的四倍。用分离元件、两块相同的集成功率放大器或特制的单片集成块都可以连接成桥式电路。下面简要介绍该电路的两种组成方式和几种实际应用电路。
桥式电路的构成
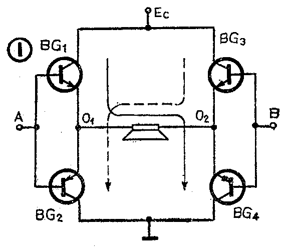
桥式电路是将两个单端推挽电路并联组成的(桥连接方式),负载跨接在两个推挽电路的输出端之间,其原理电路见图1。电路工作时,需要在左、右两个输入端A、B加入大小相等、相位相反的输入信号(输入信号的引入方式后详)。这样,当A端为正半周、B端为负半周时,晶体管BG\(_{1}\)、BG4都导通,电流方向如图中实线所示;当A端为负半周、B端为正半周时,晶体管BG\(_{2}\)、BG3导通,电流方向如图中虚线所示。

由于电路采用桥连接方式,左右两个放大器下面的晶体管BG\(_{2}\)和BG4的导通,不须要象OTL电路那样,用输出端串接的大电容充当电源,也不需要象OCL电路那样,另设一组负电源。因为当BG\(_{1}\)截止时,BG3有电流通过,E\(_{c}\)通过BG3给BG\(_{2}\)供电;当BG3截止时,BG\(_{1}\)有电流通过,Ec通过BG\(_{1}\)给BG4 供电。可见,这种电路的设计有独到之处。
为了使电路对称,晶体管需要配对,这有两种选管方案:一种是上下两管(BG\(_{1}\)和BG2、BG\(_{3}\)和BG4)分别配对,另一种是左右两管(BG\(_{1}\)和BG3、BG\(_{2}\)和BG4)分别配对。前一种方案如同单端推挽电路,是对不同极性的晶体管进行配对,要求较苛刻,有时要采用复合管组成准互补电路;后一种方案是对同极性晶体管进行配对,易于实现。组装时可根据手头材料,按一种方案选管,因此其灵活性比较大。

为了满足图1中左、右两个放大器对输入信号的要求,可以象图2那样,加一个分相级,输入信号经过分相成两路输出,这两路信号大小相等、相位相反,分别送到两个放大器的输入端作为激励信号。或者,象图3那样,输入信号先经过第一个放大器,放大后分两路输出(两路信号相同),一路直接送到扬声器的一端,另一路送到1:1的反相放大器的输入端,倒相后送到扬声器的另一端,这样也可以收到同样的效果。

实际应用电路

用分离元件组成的桥式功率放大器如图4所示。它是采用了图2所示的接线方案。上面的虚线框内为第一个单端推挽电路,其中BG\(_{2}\)组成激励级。BG3、BG\(_{4}\)复合成一个NPN型晶体管,BG5、BG\(_{6}\)复合成一个PNP型晶体管,两组复合管组成准互补推挽电路。其中C5、R\(_{7}\)构成自举电路,用以提高效大器的增益。D1、D\(_{2}\)、R14和热敏电阻D-22A给BG\(_{3}\)、BG5提供合适的偏置,以减小交越失真,并兼有温度补偿作用。R\(_{15}\)、R16的主要作用是防止输出管的反向饱和电流I\(_{cb}\)0增大时,使复合管中的推动管失控而无放大作用。R17、R\(_{18}\)是负反馈电阻,用来提高电路的稳定性。为了稳定BG2的直流工作点,基极的上偏流电阻R\(_{9}\)+R10不接在电源正端,而接在输出端。C\(_{4}\)、R8为交流负反馈支路,C\(_{1}\)0、R6为去耦滤波电路(R\(_{19}\)、C9的作用和图5中的C\(_{11}\)、R14相同,后述)。下面的虚线框表示第二个单端推挽电路(没画出具体电路),其电路形式和上面框内的电路完全一样。两个放大器所用的元件值也基本上对称。BG\(_{1}\)组成分相级,从它集电极输出的信号,经过耦合电容C2送到第Ⅰ个放大器的输入端;发射极输出的信号,经过耦合电容C\(_{3}\)送到第Ⅱ个放大器的输入端。显然,这两路信号的相位相反,如果适当选择元件的数值,可以使它们的幅度相等,正好满足两个放大器对输入信号的要求。被放大的信号通过1.5kΩ电阻和50μF的耦合电容加到分相级的输入端,负载跨接在两个功放电路的输出端之间。该电路所用元件较多,不如用集成块组装。

由集成块组成的桥式电路如图5所示,它也是采用图2的接线方案。图中,两个放大器A\(_{1}\)2都采用集成音频功率放大器5G37。BG\(_{1}\)组成分相级。被放大的信号从C1输入,经过BG\(_{1}\)分相,从它的集电极和发射极两路输出,分别加到集成块A1\(_{2}\)的输入端(2脚),经过放大,从它们的6脚输出,去推动扬声器负载。图中,R1、D、R\(_{2}\)为BG1的基极偏置电路,二极管D起温度补偿作用,当温度升高时,BG\(_{1}\)的门限电压UBE减小,使集电极电流增加,而D的正向压降也随温度的增高而减小,使BG\(_{1}\)的基极电位降低,于是牵制了集电极电流的增加。电阻R6、R\(_{7}\)和R10、R\(_{11}\)分别决定A1\(_{2}\)输出端的中点电压。串联网络C7、R\(_{8}\)和C9、R\(_{12}\)1\(_{2}\)内部的电阻共同构成交流负反馈电路,用来改善放大器的性能。两集成块内部输入电路的工作电流分别由R9和R\(_{13}\)确定。为了防止集成块产生自激振荡,在它们的3、4端间跨接100PF的相位补偿电容。C11、R\(_{14}\)作为校正高频端的相位之用,因为扬声器负载实际上是一个电感线圈,对于低频成份,因呈现的感抗较小,对电路无明显地影响;对于高频成份,其感抗变大,电感的影响也大了,通过电感的电流在相位上落后于电感两端的电压,这样可能引起自激,或者出现过电压,损坏电路器件。为了克服上述弊端,在输出端并上C11、R\(_{14}\)容性网络,用以抵偿扬声器的感抗成份,使放大器的负载接近于纯电阻,这样电路可稳定工作、安全运用。

图6是用两块5G37组成的自倒相式桥式电路,它是采用图3的接线方案。这样连接,前面不需要分相级,输入信号经C\(_{1}\)送入放大器A1的输入端(2脚),放大后从6脚分两路输出,一路直接送往扬声器的一端,另一路经电位器W\(_{1}\)和电容C5送往放大器A\(_{2}\)的反相端(1脚),从它的6脚输出,接到扬声器的另一端。放大器A2兼作倒相器,输出信号和输入信号反相,调节W\(_{1}\)的值,可使A2的放大倍数为1。这样从A\(_{1}\)2输出的信号大小相等、相位相反,使扬声器上的音频电压为一个集成块输出电压的两倍,输出功率为一个集成块的四倍。图中R\(_{1}\)、D1、R\(_{2}\)和W2、R\(_{6}\)、D2、R\(_{7}\) 分别是A1\(_{2}\)内部晶体管的外偏置电路,用来确定两个放大器输出端的直流电位,以确保静态时无电流通过扬声器。其中D1和D\(_{2}\)起温度补偿作用,因为5G37输入级的两个晶体管接成复合管,等效成一个PNP型晶体管,集电极(3脚)通过R4(R\(_{8}\))接地,于是作为下偏置电阻的R1、D\(_{1}\)(W2、R\(_{6}\)、D2)接在上端,和集成块内复合管的发射结相对应,这样D\(_{1}\)(D2)正好补偿当温度升高时复合管门限电压U\(_{BE}\)的减小,从而牵制了可能引起的集电极电流的增加。C2、R\(_{3}\)1内部电阻构成交流负反馈网络。C\(_{3}\)、C6分别是两集成块的消振电容,R\(_{5}\)、C4和R\(_{9}\)、C7分别是它们的自举电路。
桥式电路在音响放大器中应用甚广,读者只要掌握了以几种电路的基本工作原理,就不难对诸多的桥式电路进行分析。(林萌森 孟庆印)