目前单片集成稳压器,如固定电压输出的78/79系列、可调输出的117/137系列应用的比较普遍。但是这类器件在工作时所要求的输入输出电压差(即调整管压降)比较大,至少要大于2V,否则就不能正常工作。而且因器件本身要消耗一定的电流,所以它的效率并不高。这对于要求低功耗、高效率稳压器的供电的应用场合来说,用这类器件来稳压是不适用的。由于CMOS模拟技术的发展,目前已研制出自身功耗极低的单片CMOS稳压电路,如正稳压器CW7663、负稳压器CW7664(仿美INTERSIL公司的ICL7663/7664)。其静态工作电流小于4μA,比78/79系列低千倍以上,比117/137系列也低十多倍。在小电流工作状态维持正常工作所需的输入、输出电压差有零点几伏即可(最低可小于零点一伏)。因而这是一种理想的低耗高效的稳压器件,最适用于电压范围在5V~15V,负载电流5mA~30mA,以电池供电的矿井、高空及野外作业的便携式仪器仪表所需的稳压电路中。下面我们就介绍它们的工作原理。
稳压器的工作原理
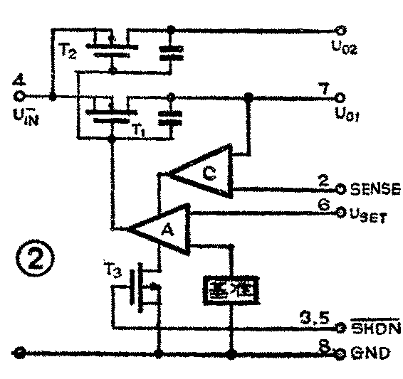
CMOS集成稳压器的基本电路结构和工作原理与常规晶体管串联稳压电路相似,只是除个别器件外它们的电压基准、比较放大、调整管、电流检测保护等电路均由MOS场效应管组成。图1给出了正稳压器CW7663的原理方框图,图2给出了负稳压器CW7664的原理方框图。


图1中的基准部分是由MOS电路组成的1.3V电压基准U\(_{REF}\),其温度稳定性非常好,温度系数小于(0.001%)/℃。比较放大器A由MOS运算放大器组成,其增益可达10\(^{3}\)以上。它的一个输入端接在1.3V的电压基准上,另一个输入端则引至集成电路外部USET端,与外接采样电阻网络相连形成负反馈,以实现对输出电压的调节。运放A的输出端直接驱动接成共源放大组态的调整管,在CW7663中,它是P沟道功率MOS管T\(_{1}\),由于该管只能给出5mA的电流,因此只能在小电流输出时作为电路的调整元件。为能给出较大的负载电流,在P沟道MOS管T1的后面又制作了一只NPN型晶体管T\(_{2}\),并接成射极输出形式,这时P沟道MOS管就变成了NPN管的推动级。这种接法不仅增大了调整管的电流放大能力以输出较大的负载电流(40mA),而且还降低了稳压器的输出电阻。
在图2所示负稳压器CW7664中,调整管T\(_{1}\)为N沟道MOS场效应管,最大能给出20mA电流。为增大稳压器负载能力,采用了两只相同的调整管T1和T\(_{2}\),可以有两路独立输出,各为20mA。也可以通过外接端子将两路并联在一起,以输出40mA电流。
图1中稳压器内部电流保护电路由CMOS电压比较器C和外接采样电阻来实现对输出电流的检测和比较。当比较器两输入端间的电压差增大到约0.7V(CW7663)或0.35V(CW7664)时,比较器C的输出电平将控制放大器A内部的放大级使A输出高电平,迫使P沟道MOS调整T\(_{1}\)管趋于截止,从而起到限流保护作用。
为使稳压器能用于断续供电的应用场合,如远距离多点数据采集系统中,只在需要它工作的周期中供电,电路中设置了关断电路。在CW7663中,是通过N沟道MOS管T\(_{3}\)去控制放大器A的选通控制端S来实现对稳压器的关断(在CW7664中T3为P沟道MOS管)。对于正稳压器CW7663来说,当在SHDN端外加一个大于1.4V但小于输入电源电压U\(_{iN}\)\(^{+}\)数值的正信号时,N沟道MOS管T3将迅速导通,使放大器A的选通端近似接地,进而使A输出高电平。于是P沟道MOS调整管T\(_{1}\)截止,使稳压器关闭,其输出电压U0为零。对于负稳压器CW7664,关断信号为-1.4V到负的输入电源电压U\(_{iN}\)-的数值之间的负信号。如果关断信号的幅度超过输入电压UiN时,为确保器件安全,应在控制信号源和关断端SHDN间串入1MΩ电阻R\(_{3}\),见图3、图5。稳压器关断后,其输出电压Uo=0,这时器件本身仅从电源消耗少于4μA的工作电流。当需要稳压器正常工作时,加到SHDN端的控制信号应低于0.3V(CW7664)或高于-0.3V(CW7664),在常规应用中,只需将SHDN接地即可。
基本工作方式
CW7663的典型应用原理电路如图3所示。输入端8脚与4脚地(GND)之间接输入电压U\(_{iN}\)\(^{+}\),输入电压在1.6V~16V之间器件均可正常工作。稳压器输出有两种方式:当开关S2闭合,即2端3端短接时,由图1可见,此时NPN调整管的发射结被S\(_{2}\)短路,因而T2截止不起作用。这时CW7663仅以P沟道MOS管作调整管,为仅由U\(_{0}\)1端输出的小电流工作状态,它适用于负载电流小于5mA的应用场合。当开关S2断开时,稳压器的调整元件由MOS管驱动的NPN晶体管担当,即仅由U\(_{0}\)2端输出,这适用于负载电流在5~40mA的应用场合。这时输入输出电压差仅为P沟道MOS管的压降。当由U02端输出时,在输入输出的电压差中增加了约为0.7V的晶体管发射结压降,这自然增大了稳压器自身的功耗。

为实现过流保护,必须在1脚SENSE和2脚U\(_{0}\)2(即比较器两输入端)之间外接一个过流检测电阻RCL,由图3可见当负载电流增大时,R\(_{CL}\)两端压降也随之增大,由于比较器C的动作电压为0.7V,故RCL值可由选定的限流值I\(_{CL}\)(或最大输出电流40mA)按公式RCL=0.7/I\(_{CL}\)确定。当不需要限流保护时,RCL可不接(相当于开关S\(_{1}\)短接)。
与串联稳压电路一样,集成稳压器CW7663和CW7664的输出电压可通过外接分压电阻R\(_{1}\)、R2在1.3V至接近输入电压U\(_{iN}\)\(^{+}\)的范围内任意调节,其调压原理与常规电路相同。当R2=0时,输出电压U\(_{0}\)与稳压器内部基准电压UREF≈1.3V相等,增大R\(_{2}\)U0也随之增大,并有U\(_{0}\)=(R1+R\(_{2}\))·UREF/R\(_{1}\)的关系。由于放大器A为MOS管运放,其静态偏置电流(即6脚USET端漏电流)趋于零,故R\(_{1}\)、R2的值可取到数十兆欧,以减小稳压器电路自身的功耗。
图3中开关S\(_{3}\)表明了稳压器处于工作或关断控制的两种工作状态。当SHDN端,即T3栅极接地时,CW7663正常工作,当它通过1MΩ电阻接至关断控制信号时,稳压器关断,输出电压为零。上述应用电路中的各个开关是为了说明器件的工作状态而设置的,实际应用时只要按前述原理接线即可,并不需要真的将这些开关接入电路。
由于电路的工作电流极小(nA量级),在通电瞬间输入电压上升的速率很高,为防止CMOS电路损坏,在稳压器的输入端对地之间接一只0.047μF的电容器C,以将输入电压的上升速率限制在约2V/μs的安全范围内。
图3电路中的7脚U\(_{TC}\)端有来自图1电路基准电压电路并经隔离放大器B输出的0.9V基准电压,它具有+2.5mV/℃的温度系数。若将这个电压加到放大器A的USET端(即6脚),并通过电阻R\(_{1}\)、R2接至稳压器输出端形成负反馈,见图4(a)和图4(b)。当温度升高时,U\(_{TC}\)因具有正温度系数而相应增大,又因接至放大器A的反相输入端而使输出电压随之减小,这也就相当于输出电压Uo具有负的温度系数。通过选择不同的R\(_{2}\)/R3,即可得到不同的负温度系数的输出电压。


图5所示为CW7664的典型应用电路。图中各元件的作用与CW7663电路相同,这里不再赘数。与CW7663不同的是:当开关S\(_{2}\)断开,即仅由7脚U01端输出时可提供20mA的负载电流,这时的输入输出电压差较小。当然也可以仅由1脚U\(_{0}\)2端输出。若将S2闭合,即1脚与7脚短接使U\(_{0}\)1、U02并联输出时,最大可提供40mA电流。不管利用哪个输出端工作,未被使用的另一个输出端应被短接到输入端U\(_{iN}\)\(^{-}\)。另外CW7664的限流保护动作电压UCL=0.35V,计算R\(_{CL}\)值时应按此值代入计算。还有逻辑关断信号极性与CW7663相反。也没有UTC输出功能。图6为管脚图。(张国华)
