问:新购一台金星56厘米彩电,使用效果良好。但有一次家中小孩无意中把铅笔尖靠近屏幕时,突然听到一阵轻轻的“滋滋”放电声,并且可见到细小的放电光点。这是何故?对人的安全有无危害?
答:由于彩色电视机中显象管的第二阳极高压高达2~2.5万伏,因此电视机工作时会在显象管及其周围形成高压静电场,并有高频高压辐射现象。这样,就会使显象管屏幕等感应上一定的电荷。当用铅笔尖靠近荧屏时,电荷就会通过它和人体等泄放,从而引起放电,出现滋滋声及小光点。由于这是一种能量微弱的高压感应电,故不会对人的安全发生危害,但长期处在这种电场中也是无益的。所以看彩电时至少要离开屏幕1.8米以上,尤其不要让小孩经常靠近屏幕或用铅笔等物去触碰荧屏;对56厘米彩色电视机来讲,一般最佳的观看距离为2.2~3米。另外,花草盆景和鱼类昆虫等也不宜靠近彩色电视机摆放,以免长期受到高压电场的影响而产生早衰或死亡现象。(申源)
问:彩色显象管中有红、绿、蓝三条电子束,为什么有些管子将绿束放在中间?有些管子将红束放在中间?
答:在彩色显象管中,红、绿、蓝三个阴极排列在同一条直线上。排列在中间位置的阴极所发射的电子流称中束,排列在两侧的阴极所发射的电子流称边束。中束处在显象管轴对称的中心,管内电磁场对中束的作用力最均匀;电子枪装配时,这把枪的装配精度最高。在很多方面,中束都处在最有利的位置,因此中束的聚焦、会聚等性能比边束好。
根据色度学原理,人眼对绿色光的分辨能力最敏感。把绿束放在中间,彩色图象的聚焦质量容易保证。单枪三束彩色显象管有动会聚调节机构,因此显象管本身需重点解决电子束的聚焦质量,这就是单枪三束彩色显象管中束选用绿束的原因。对于自会聚彩色显象管,主要矛盾是解决好红、绿、蓝三条电子束的自动会聚问题。也是根据色度学原理,人眼对红光的失会聚最敏感,把红束安置在中间,有利于获得三条电子束的会聚效果,这就是大多数自会聚彩色显象管中束选用红束的原因。(邹家祥)
问:有台昆仑牌B312型12英寸的电视机,一开机后,屏幕的垂直方向上出现两个相同的画面(见下图),调节场同步旋钮不起作用,请问是什么原因造成的?

答:图象垂直方向的扫描是由场扫描电路完成的。正常图象收看时其场振荡级的振荡频率应为50Hz。而现在这种情况,说明场振荡的频率只有25Hz。对于场振荡级主要影响振荡频率的元件是4BG、发射极的电阻4R\(_{6}\)(10千欧)和谐振电容4C5(10μF)。当4C\(_{5}\)漏电增大或4R6阻值改变时都会影响振荡频率。必须更换已损坏的元件才能排除故障。(屈梅)
问:一台佳丽EC-141D型14英寸彩色电视机,更换一个新的显象管使用一段时间后,发现屏幕上出现许多固定不动的隐条纹干扰,见附图。请问是何原因引起的?怎样消除?

答:这种故障很可能是在更换显象管时,忘记把显象管的防爆箍妥善接地,至使防爆箍电“悬浮”在显象管的四周,因而产生感应电磁场。虽然关机时可以通过消磁线圈消掉,但开机后,由于防爆箍没有接地又感应出随偏转线圈分布的电磁场,出现了如上图所示的暗淡条纹,解决的办法:将防爆箍的耳环用刀刮净,然后用金属屏蔽线与地连接即可。(张新柱)
问:有一台北京牌838型彩色电视机,有时出现无光栅、无伴音故障,有时关机后再次开机,电视机能恢复正常,请问这是什么原因?怎样检查和处理?
答:这类故障是目前838型电视机的常见故障,绝大多数都是由于开关电源电路中有些焊点经长时间工作后,焊点变质而产生焊接不良造成的。根据焊点变质的程度不同和焊点在电路中所处的部位不同,表现出来的故障现象也不同。
检查时,可用2~5倍的放大镜仔细观察X\(_{0}\)1、X02、T\(_{0}\)1、T02、D\(_{0}\)6等元件周围的焊点,把变质的焊点进行重焊即可排除故障;或者也可把有关焊点普遍重新焊一遍也能消除故障。(李福祥)
问:北京牌838型彩色电视机开关电源电路中X\(_{0}\)1晶体三极管2SC2027损坏,请问它的技术参数及代用管?
答:2SC2027的主要技术参数是:BV\(_{CBO}\)=1500V,ICM=5A,P\(_{CM}\)=50W。在进口管中可用2SC1942代用。2SC1942的主要技术参数是:BVCBO=1500V,I\(_{CM}\)=3A,PCM=50W。在国产管中可用3DA58I,DF104E,3DD104E等代换。(李福祥)
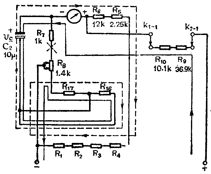
问:一块500型万用电表,测电压时,表针摆动一下后即退回零点,表棒脱离被测电路后表针反打。电阻档也有这种情况,请问是何原因?
答:500型万用表局部电路如下图所示。这种故障是由于可变电阻(线绕)R\(_{8}\)上端(图中打“×”处)开路所致。此处开路后从负表棒至表头回路通路断开。但由于500型万用表中有一个滤波电容器C2。在上述情况下,C\(_{2}\)可通过图中实线所示的路径完成充电,充电电流经过表头,方向是右→左,与表头极性相同。故一接上被测电压时,表针挥一下。充电后表针就回到零位,当表棒脱离被测电压后,C2通过图中虚线所示的路径放电,放电电流仍经过表头,电流方向与前次相反,故表针反打。维修时只要焊上断点处即可。有时是R\(_{3}\)本身断路,这时可更换B8。(曹飞宝)

问:有一台额定输出功率为3W左右的立体声扩音机。当用立体声唱机作信号源时音质很好。但在用录音机耳机插口的输出信号扩音时却出现音轻和失真的现象。这是何故?怎么解决?
答:出现这种情况的原因多半是录音机耳机插口与插头间的接触不良。因为立体声唱机一般使用晶体唱头,它的输出阻抗常在数百千欧以上。扩音机能以它输出的信号很好地扩音,说明扩音机的输入阻抗是够高的。而一般录音机的耳机插口都是低输出阻抗的,且输出电平也不比唱机输出的小,因此不应该出现阻抗和电平的失配问题。问题很可能就是录音机信号没有很好地被送到扩音机中去。检查时,如果看不出录音机与扩音机间的连接线和扩音机的输入插头座有什么毛病,那么就该仔细检查一下录音机耳机插口与插头的接触问题了。通常这种接触故障较易发生,但常被忽视,故应特别注意。另外,当从录音机耳机插口输出信号时,最好在插口上每个声道中都并上一个47~150Ω的电阻,以代替耳机作为负载。这样做更有利于阻抗匹配,并可减小杂声和失真等。(申芗)
问:我有一台三洋M9994收录机,放音时右声道有“劈啪”杂声,但是当功能开关拨至“收音”或“唱机”档时,杂声即消失。而且用此机录音后的磁带放到别的收录机放唱无杂声。请问该机有何故障?
答:在M9994收录机中,设置了放音静噪抑制电路。左、右声道各有一只晶体管完成此功能。三极管在电路中起着电子开关作用,当有音乐或其它节目信号时,开关打开。无信号时开关闭锁,抑制了前置电路中传来的磁带“咝”声。电路中由Q\(_{8}\)09和Q909分别担任左、右声道的电子开关。一旦它们损坏,前级电路中的杂音即被逐级放大。产生讨厌的“劈啪”声。因此这种故障的发生多是Q\(_{8}\)09、(右声道)或Q909(左声道)损坏,该管型号是2SC536F。用国产3DG或3DK类三极管均可代换。在代换时应挑选穿透电流小的管子。(张华)
问:一台立体声收录机更换磁头后时常在按下放音键后出现强烈杂音或自激。轻按几下录音键可使故障消失。更换磁头前并无此现象。请问是录放音转换开关接触不良吗?
答:不是。如果录放音转换开关接触不良,则在更换磁头前就会出现故障现象。此现象多为磁头地线虚焊而引起。因为磁头地线一般是屏蔽线外壳,比较粗硬,且需同时焊在磁头左、右声道的两个引脚上,不易焊牢。加上碰头在使用时随放音键经常运动,难免造成磁头地线脱焊或接触不良。出现故障时轻按儿下录音键实际上是使磁头作轻微运动,磁头地线会重新接好,因而可使故障消失。但并未解决问题。遇到上述现象应将磁头地线重新焊牢。(文歌)
问:我买了一只10.7MHz的三端陶瓷滤波器用来装制调频收音机。在资料中发现三个引出端除中间为②脚外,有的左边标①,有的左边标③,有的则标法相反,究竟哪种正确、能否将①、③脚交换使用?
答:10.7MHz三端陶瓷滤波器的①、③脚可以互换使用。只是有些型号的陶瓷滤波器互换①、③脚后选择性曲线略有不同。但这对业余条件下使用影响不大。如果有条件用扫频仪或调频中频图示仪测试,可在两种特性曲线中择优选用。(张国华)
问:一台康丽KL8282A收录机,录广播节目时产生啸叫,录音后的磁带上也有啸叫。但该机单独收音、放音时均无此现象。请问这是什么原因?
答:若收音、放音均正常,一般是录音偏磁干扰引起。当按下录音键时,录音机里偏磁振荡电路开始工作,产生50kHz~100kHz的等幅振荡电压。它的10次或更高次谐波成分恰好落在中波段,易被机内天线接收,当偏磁振荡频率的某次谐波恰与接收电台信号频率相近或相同时,就产生差拍啸叫。一般交流偏磁的收录机都设有避叫开关,在发生啸叫时搬动一下避叫开关就可消除啸声,有的收录机的避叫开关有数档,如拨动一档避叫作用不大,可再拨动二档,直到消除啸叫为止。(彭贤礼)