如何正确使用和保养洗衣机,提高机器的寿命,是每个洗衣机使用者所关心的问题,本文就洗衣机润滑部位的保养进行简单的介绍。
一般地讲,普通家用洗衣机使用4~5年加注润滑脂一次就可以了,但是有些机器仅使用了2~3年就在润滑部位出现故障的情况已不少见,所以2~3年对机器润滑部位进行一次清洗和加油是非常必要的。普通双桶洗衣机的品种很多,结构不完全相同,但都有波轮主轴、洗衣电机轴承和脱水电机轴承这三个主要运动部件。

1、波轮主轴的润滑。参看图1,①拆下皮带轮:卸下圆柱头螺钉和垫圈,取下皮带轮。②拆下波轮和主轴:拆下皮带轮后,波轮和主轴便可以从洗衣桶中取出,然后松开沉头螺钉,主轴和波轮即可分开。③拆下轴套:松开拉杆,拆下拉杆套,松开锁母,取下铝垫,从洗衣桶中取出轴套。④清洗主轴、轴承和油封:首先把变质和乳化的润滑脂擦洗干净,同时检查油封、主轴、轴套的磨损情况,如无损坏可继续使用。⑤组装:在油封、主轴、轴承部位填好钙基润滑脂,然后按拆卸时的相反顺序组装好,并调整好间隙。按一般的经验,用手拧转轴时不感觉很费力,用手沿轴向推拉轴时有0.1~0.3mm的距离,间隙为合适。

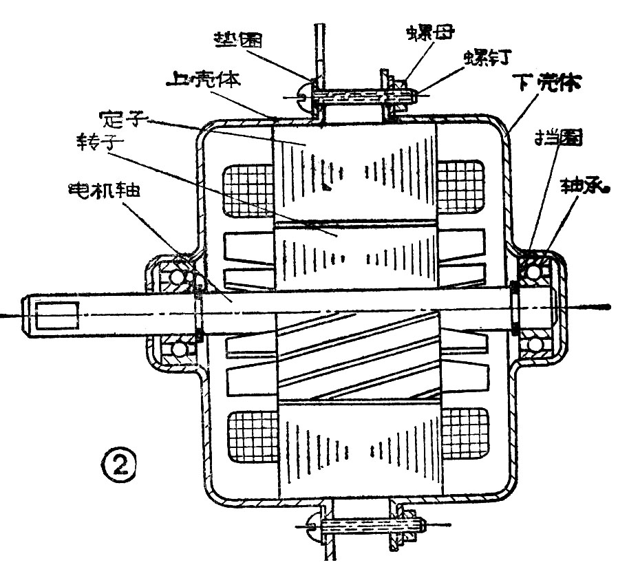
2.洗衣电机轴承的润滑。参看图2,①拆下轴承:首先松开螺母,取下螺钉,用木榔头将上、下壳体打下,取出转子,将轴承拆下。②用煤油将轴承清洗干净填加润滑脂:洗衣电机轴承一般为滚动轴承,电机出厂前轴承内已加入201润滑脂,用户也可使用锂基或钡基润滑脂、这些润滑脂有耐水、耐高温、并对滚动轴承有很强的防护能力。③按拆卸时的相反顺序组装,并调整好间隙。电机在拆卸和组装时、注意不要把绕组的线圈碰断。

3、脱水电机轴承的润滑。参看图3,脱水电机轴承一般多采用含油轴承,它具有多孔性的结构,使用前在热油中浸润,使孔隙中充满润滑油,工作时有自润滑性。定期穿过电机窗口将30号机械油或15号汽油机油加到轴承上,可延长电机的使用寿命。
在洗衣机的维护保养过程中,注意加入润滑脂要适量,不易过多;皮带传动系统,尤其是三角皮带严禁加油。
普通家用洗衣机,如保养得当,使用寿命延长5~10年是没有问题的。(刘田)