此种节电器节电率高、运行可靠、线路简单、综合效益好。基本原理是改变交流运行的不合理工况。本文以杭州无线电元件三厂制造的WJ型电容式节电器为例,介绍工作原理与元件选用。

1.节电原理:见图1,交流接触器在交流运行时,其吸引线圈施加正弦电压,铁芯被方向与大小周期性变化的电流反复磁化,磁滞与涡流所产生的铁损占总能耗的40%左右。此外,为了减小交变磁通引起的衔铁振动,磁铁内均加入短路环,利用短路电流的滞后效应,产生一个与主磁通成90°相角差的副磁通,使合成磁通的交变分量减少,吸持力趋向平稳。短路环中的损耗占51%。除去上述二项损耗,线圈所耗能仅为9%左右。现将吸引线圈改为直流运行,就可以免去磁滞损耗与短路环损耗,同时线圈耗能也略有下降,节电率可达90%~98%。
2.性能特点:节电器不仅有很高的节电率,还具有以下优点:(1)消除噪声。改为直流运行后,可做到无声运行。(2)延长交流接触器的寿命。主触头振动消除后,磨损自然减少;而且线圈工作电流减少后,温升降低,老化寿命也提高。(3)吸合可靠性好。当电网电压下降到额定值的60%时,也能可靠吸合与保持。(4)改善电网的功率因数。节电器内的容性负载能对线圈的感性加以补偿,因而功率因数有所提高。


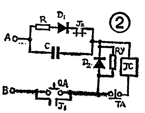
3.电路原理:电原理如图2所示。图中A、B为电源输入端;QA为启动按钮,TA为停止按钮;J\(_{1}\)为接触器的常开触头,J2为常闭触头;Jc为吸引线圈;R为节电器的限流电阻;D\(_{1}\)、D2为整流二极管;R\(_{y}\)为压敏电阻;C为降压电容。按下启动按钮QA,设在此期间回路加上若干周期的正弦电势。当某一瞬间,A为正B为负,电流经R、D1、J\(_{2}\)、Jc、TA、QA流通,如图3实线所示,线圈电流波形如图5中0~π段所示;过π点后,A为负B为正,D\(_{1}\)支路反偏截止,电流改由QA、D2、C支路流通;同时,线圈J\(_{c}\)的电流有保持原方向流动的趋势,如图4虚线所示。在D2导通时,恰能为线圈提供续流通路,此时线路中两部分电流的流向见图4虚线。流过线圈的电流波形如图5中π~2π段所示。以后的若干周期内,线圈电流是与0~2π波形相似的脉动直流。交流接触器吸合后,触头J\(_{1}\)接通,代替了QA,J2断开,R、D\(_{1}\)支路被切断,由电容C提供保持电流,线圈电流幅度减小,方向仍与起动时相同。保持电流的流向仍如图4的实线、虚线所示。并联在线圈Jc两端的压敏电阻Ry的作用是吸收线圈产生的过高反电势。


4.元件选用:
(1)限流电阻R:R、D\(_{1}\)支路为接触器线圈的直流启动提供适当大小的电流,启动电流一般取线圈交流工作电流的五倍至十倍,IQ=(5~10)I\(_{j}\)(安培)。式中:IQ—启动电流;I\(_{j}\)—线圈标称交流工作电流有效值;信率系数—小型接触器选5~7,大型接触器选8~10。
对于半波整流有:R=0.45I\(_{Q}\)-r(欧姆)。式中,U—电源电压;r—线圈直流电阻;R—限流电阻,当算得R<0或R《r时,可省去不用。由于启动回路的工作时间十分短促,R的散热功率按PR=0.05·I\(^{2}\)Q·R选取。
限流电阻R的计算实例:CJ\(_{12}\)—400/3交流接触器,Ij=1.05A,r=4.58Ω,则R=0.4510×1.05A-4.58Ω,算得电源220V时,R=4.85Ω,取标称值5Ω,P\(_{R}\)=25W;电源380V时,R=11.7Ω,取标称值10Ω,PR取50W。
(2)启动二极管D\(_{1}\):D1的标称电流值:根据硅二极管在0.12秒内允许过载5倍的规定,其正向电流可按启动电流的1/5选用,即I\(_{Q}\)/5=(1~2)Ij,也即线圈交流工作电流值的1~2倍。D\(_{1}\)的耐压值应有充分余量,在电源220V时,选用耐压800V;在电源380V时,选耐压1000V。
(3)降压电容C:实验证明,当衔铁吸持力矩与交流运行相等时,电容值与I\(_{j}\)有如下关系:U=220V时,C≈7·Ij(μF);U=380V时,C≈4·I\(_{j}\)(μF)。电容的额定电压取交流500伏。
(4)续流二极管D\(_{2}\):流经D2的电流有两部分:一是线圈的续流电流,取值约为线圈的保持电流;二是电源负半波时经D\(_{2}\)向电容C的充电电流,两部分之和略小于2Ij,现取(3~5)I\(_{j}\)。D2耐压等级应高于D\(_{1}\),当电源220V时,选1000V;当电源380V时,选1500V。
电容器如选用一般无线电弱电电路用的电容,极易击穿或爆裂,因这类电容使用于强电交流电路时,其交流耐压值还不到直流电压标称值的20%。按合用条件推算,交流380V时,直流耐压应大于2kV才行。
二极管应优先采用扩散合金法制造的N型硅管,该厂采用加厚硅片的2CZ25系列管、具有过载能力强、体积小、成本低的优点。

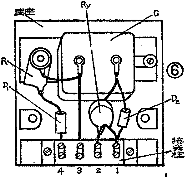
该节电器结构见图6。(严杭生 姚家治)