收录机如果使用干电池供电,由于锰锌干电池容量有限,使用不长时间就报废了,用起来很不经济。本文向读者介绍一种新颖的GNY系列镉镍圆柱形蓄电池,这种电池有如下几个特点:
1.可反复充、放电使用,充放电寿命在500次以上。
2.每节电池的额定电压为1.25V,终止电压为1V。
3.电池容量较大,一次充足电时的容量相当于同等体积锰锌干电池的1~3倍。由于电池的内阻较低,所以可以在大电流下连续工作。
4.使用过程中安全可靠,不会出现漏液或爆炸现象。
5.外形尺寸与相对应的锰锌干电池相同,可直接互相代换使用。例如,GNY3可代替1号干电池,GNY0.45可直接代5号干电池。具体代换情况可见附表。

电池结构简介

图1为圆柱形镉镍蓄电池的结构示意图。电池外壳用优质钢板加工制成,表面镀镍。负极板引线点焊在壳底部,正极板引线则点焊在带有安全阀的电池盖上。当电池内部气体压力太高时,会将电池盖自动顶开放气。当气体压力降至临界值时,在橡胶球弹力下电池盖又自动重新密封。
镉镍圆柱形蓄电池是这样来命名的:例如GNY0.45,其中“GN”为镉镍两字汉语拼音的第1个字母,“Y”代表圆柱形密封电池,“0.45”是表明这种电池的容量为0.45安时。
使用与维护
这种蓄电池是以放了电的状态出厂的。在首次使用前必须按规定的方法对电池进行充电,才能转入正常使用。第1次充电时应在环境温度为15℃~35℃条件下,以附表中的标准充电电流连续充电16小时,在应急情况下才可用2倍的标准电流充电7小时,或用4倍的标准电流连续充电3小时。用标准电流充电时,蓄电池的端电压在充电全过程中不得高于1.55V/只。用2倍标准电流充电时端电压不得高于1.60V/只。用4倍标准电流充电时端电压不得高于1.65V/只。在充电过程中,如果充电时间未到,电池端电压却超过上述规定,应立即停止充电。待电压下降后再继续充电或改用较小的电流充电。
对于放电程度不清的蓄电池,可先用2倍的标准电流放电到端电压为1V,然后再重新充电。长期保存的蓄电池或使用一段时间后容量明下降的蓄电池,在使用前应先在20±5℃的环境温度下,用标准电流充电16小时,再以2倍的标准电流放电至端电压为1V,如此充放电反复循环2~3次,使电池容量得到恢复后再使用。
在任何情况下,必须控制蓄电池的放电终止电压不得低于1V,否则蓄电池内部会产生氢气,使内部压力增加,严重时会损坏电池的安全装置,影响电池的使用寿命。蓄电池在使用和存放时要严防两极短路,不要弄破蓄电池的外包塑料皮。需长期保存的蓄电池应以放电状态存放。无论是存放还是使用,环境温度都不应高于35℃。
介绍两个充电器电路

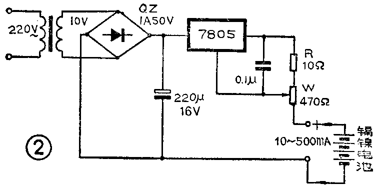
GNY圆型镉镍蓄电池一般采用恒流的方法充电,通过控制充电时间来限制充电量,通常每次充入总容量的150%。图2是用三端集成稳压块组成的恒流充电器,充电电流为15~500mA连续可调,一次可充1~4节镉镍电池。图3是用分立元件组成的恒流充电器,性能与图2接近。

以上两个电路都是靠改变取样电阻阻值来调节输出电流的,全部电流都要从电阻R及W中流过,所以R及W应选用功率在2瓦以上的线绕电阻。如果只需对某一种规格的电池充电,也可将W换成固定电阻。(本文介绍的镉镍电池及充电器可以邮购,详见本期第48页邮购消息)(李如泉)