对于高保真音响设备,其功率放大级必须有足够的功率储备量,以满足低失真和大动态范围的需要。目前单片集成功率放大器已能达到20W左右的输出功率,但仍不能适应某些场合的需要。用一只集成功率驱动器推动一对外接大功率晶体管,不失为解决这一难题的有效途径。由于集成块内没有主要的温度源——大功率输出晶体管,其热特性、耐压特性和其它电参数均得以改善、寿命和可靠性也得以提高。
本文介绍的XG2020D集成音频功率驱动电路,是四川青川国营新光电工厂的新型产品,用它推动一对大功率晶体管,可以方便地组成30~100W的高保真音频功率放大器,失真度可达0.2%以下,并且含有过热、过载保护功能。
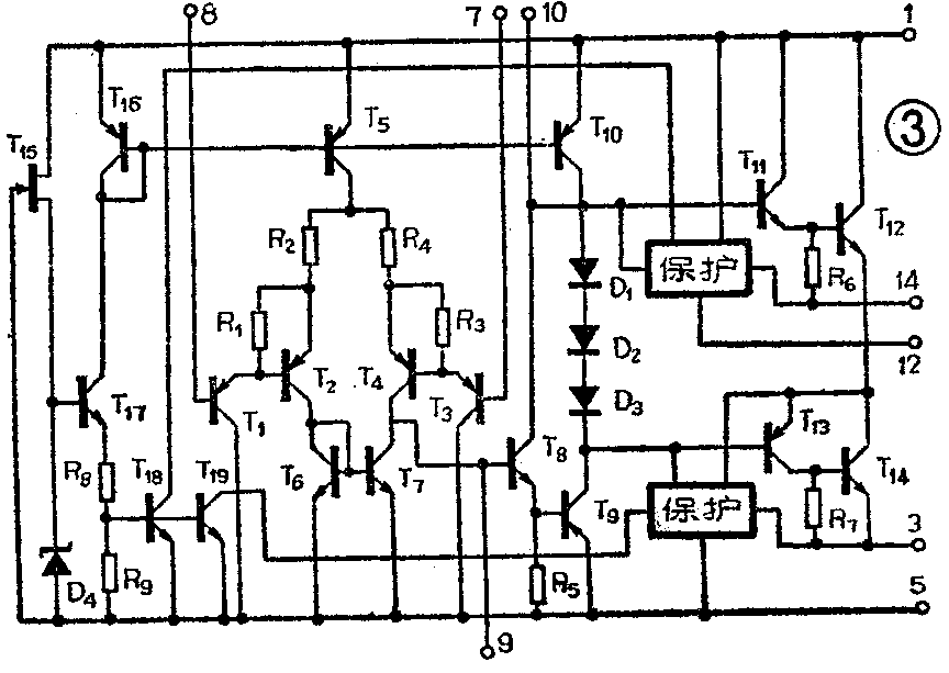
XG2020D有两种不同的封装形式,其外形尺寸分别见图1和图2。两种形式的内电路和电参数相同,仅安装方法不同。其内电路如图3所示。外引线排列及功能如图4所示。




在图3中,T\(_{1}\)、T2、T\(_{3}\)、T4及R\(_{1}\)、R2、R\(_{3}\)、R4构成复合差分输入级,音频信号由⑦脚引入,加在T\(_{3}\)基极,差分输入级另一侧T1的基极通常引入负反馈,T\(_{5}\)是该级的共发射极恒流源,从晶体管原理可知,该级具有较高的输入阻抗(可达5MΩ)和较高的共模抑制比。T6和T\(_{7}\)构成镜象恒流源并作为输入级的有源负载。音频信号由T4集电极输出并转入T\(_{8}\)基极,进行第二级放大。T8、T\(_{9}\)构成第二级(中间级)放大,是典型的共发射极电压放大电路,为提高中间级的输入阻抗和电压增益,该级仍采用复合晶体管。为防止可能出现的自激,T8的集电极和基极分别从⑩脚和⑨脚引出,可外接适当的电容器进行频率校正。T\(_{1}\)0是中间级的有源负载,而D1、D\(_{2}\)、D3为末级提供偏置,防止信号产生变越失真。T\(_{11}\)和T12构成复合NPN管,T\(_{13}\)和T14构成复合PNP管,共同组成准互补推挽输出级电路。信号的正半周使T\(_{11}\)、T12导通,并通过射极输出,输出电流放大β\(_{11}\)·β12倍;信号的负半周使T\(_{13}\)、T14导通,并通过复合PNP管等效射极输出,输出电流放大β\(_{13}\)·β14倍。图中方框内的保护电路,可以使集成块的输出级(T\(_{11}\)~T14)及外接晶体管当负载电流过大甚至短路时以及芯片温度过高时得到保护,在这两种情况下,保护电路将信号输入电流进行分流并自动降低T\(_{11}\)和T13基极的电位,使T\(_{11}\)~T14及外接的输出晶体管降低工作电流,减小功耗,这就使它们始终工作在安全工作区内而不致损坏。T\(_{15}\)是一结型场效应管,在电路内接成恒流二极管。D4是稳压二极管,流过D\(_{4}\)的是一恒定电流ID15,即T\(_{15}\)的漏极电流,因此D4两端的电压V\(_{D4}\)相当稳定。VD4又为T\(_{17}\)提供了稳定的基极电压,故IC17也相当稳定,流过T\(_{17}\)的集电极电流IC17又是流过T\(_{16}\)的集电极电流,而T16、T\(_{5}\)与T10又构成镜象恒流源,因此,这些支路的电流是相当稳定的。也就是说,T\(_{5}\)提供的输入级静态电流、T10提供的中间级静态电流是稳定的。同时,由于T\(_{17}\)基极电位稳定,故T17的发射极电位也很稳定,在R\(_{9}\)上的电压降也是稳定的,即T18、T\(_{19}\)基极电位也稳定,它们的集电极电流也是稳定的,这就为保护电路提供了稳定的工作条件。这一部分构成了全电路的优异的稳定偏置电路。
XG2020D由于内电路设计合理,加上工艺保证,故有较高的电性能。典型应用参数见附表。

图5是XG2020D的典型应用线路之一,当采用±15V~±20V电源供电、R\(_{L}\)为4Ω时,不失真输出功率可达30~50W。图中虚线部分的电阻R9、R\(_{1}\)0、R11和R\(_{12}\),要根据所采用的输出晶体管的安全工作区来决定是否采用。图7(a)表示晶体管的典型特性曲线,在Pd=K曲线的左下侧为晶体管的安全工作区,考虑一定的安全系数,晶体管应工作在曲线OAB范围以内。对于不同型号的晶体管,A、B点的I\(_{C}\)及对应的VCE值不同。图7(b)则表示采用各类不同晶体管时OAB曲线不同,则R\(_{9}\)~R12要相应地选取如图所示不同数值。可以看出:采用的输出管若I\(_{CM}\)值大,BVCEO值大,则R\(_{9}\)、R11可取小些,而R\(_{1}\)0、R12可增大些。如所采用的晶体管符合图7(b)中可不必采用这四个电阻(即R\(_{9}\)=R11=∞, R\(_{1}\)0=R12=0)的情况,R\(_{7}\)、R8则可降为25mΩ,这样小的电阻可以自行绕制,用铜丝或康铜丝均可,φ0.5mm铜丝可取290mm长,φ0.5mm康铜丝取10mm长(图5、8、9中的M应为m)。图6是该应用线路的印制板和元件排列图。



图8为80W高保真音频功率放大器应用线路,空载时电源电压为±45V。从XG2020D极限参数可知,它的极限电源电压为±25V,因此应用时要将±45V电源降压。图中R\(_{A}\)、RB组成一分压器,再通过复合大功率管BG\(_{1}\)、BG2将电源接入集成块。

为保证80W输出功率, V\(_{±}\)的最小值为: V±min=\(\sqrt{2P}\)\(_{0}\)RL=2×80×4≈25.3V,故取满输出时工作电压为±32V。值得注意的是,分压电阻R\(_{B}\)必须大于RA,才能提供①脚的正电源和⑤脚的负电源。
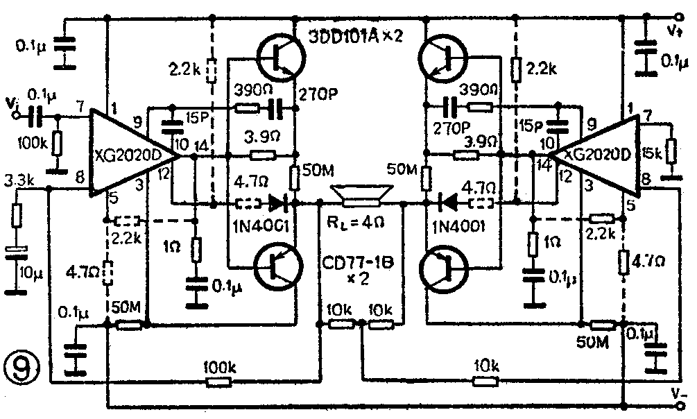
图9为两只XG2020D接成的BTL应用线路,当V\(_{±}\)=±15V,RL=4Ω时,P\(_{0}\)=60W;当V±=±20V,R\(_{L}\)=8Ω时,P0=80W;当V\(_{±}\)=±18V,RL=4Ω时,P\(_{0}\)=100W。图中虚线部分的电阻仍按前述原则由设计者自行选取。

XG2020D必须外加散热器才能充分发挥它的优异特性。图1所示的支架系统散热型封装结构的集成块,其散热器安装方法可按图10示意图进行,在集成块顶部散热面涂以硅脂是为了实现良好的热接触和电绝缘;图2所示的固定散热器型封装结构的集成块,则可按常规的机械连接方法将集成块与散热器连接在一起。

XG2020D的允许功耗P\(_{dmax}\)与工作环境温度TA的关系及选用的散热器热阻R\(_{th}\)可由图11查得。(国营新光电工厂 江金林)
