现在市场上销售的各类电冰箱大多没有温度显示,人们不得不在电冰箱内放一支温度计来观察温度,这样不太方便。为此,我们设计了一种电子温度显示器。它的电路采用集成块,安装调试简便,可通过发光二极管的显示从冰箱外部得知电冰箱内的温度,并可使电冰箱外观更加美观。
工作原理
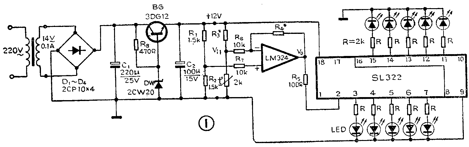
电子温度显示器电路如图1所示。检测元件是热敏电阻,它设置在冰箱冷藏室内侧壁中点,这里温度较均匀,且能代表整个箱内的平均温度。其工作原理是,当电冰箱内温度下降时,由于热敏电阻R\(_{t}\)(见图1)是负温度系数元件,所以其阻值增大,使得电压Vi1上升,通过运算放大器LM324的反相放大,使电压V\(_{0}\)下降,V0直接送入集成块SL322再驱动发光二极管发光。由于SL322的输入电压下降,因而被点亮的发光二极管的数目减少。反之,当电冰箱内温度上升时,热敏电阻阻值减小,因而电压Vi\(_{1}\)下降,从而使V0上升,SL322的输入电压增加,被点亮的发光二极管个数增加。我们确定一只发光二极管表示一定的温度,那么采用一定数量的发光二极管就能表示一定的温度范围。这样通过被点亮的发光二极管的数目多少可以将温度相对显示出来。

上述当电冰箱内温度越低时被点亮的发光二极管个数就越少,如果要求电冰箱内温度越低时被点亮的发光二极管个数越多,那么只要将R\(_{3}\)与Rt对调一下位置即可。
电路调试
调试前先测出所要显示最低温度时的热敏电阻阻值及最高温度时的热敏电阻阻值。把热敏电阻与温度计绑在一起,两个测温头尽量靠拢以减小误差。再将热敏电阻的两根引线与万用表笔连好,转换开关拨至R×1k档,即可将两个测温头放入冷冻室,测量热敏电阻在所要求的低温时的阻值。观察温度计刻度,当水银柱下降至所要求的最低温度时,立刻记下此时万用表的读数。然后继续让温度计指示下降2~3℃,将测温头拿出冷冻室外,使温度计指示回升,当温度回到所要求的最低温度时,再记下此时万用表的读数,取两次读数的平均值即为最低显示温度时的热敏电阻阻值。热敏电阻在所要求的最高显示温度时的阻值也用上述方法测得,只不过将测温头放在冷藏室内即可。一般冷藏室内温度在2℃~8℃,这样取显示温度范围为0℃~18℃已完全能满足要求了。按照图1线路,在0℃时发光二极管只有一个亮即为显示的最低温度,在18℃时10只发光二极管全亮即为显示的最高温度,平均每隔2℃的变化引起一只发光二极管的亮、灭。
调试时,先取R\(_{3}\)的阻值等于Rt在最低显示温度时的值,然后将热敏电阻换成电位器,并将它调到等于最高显示温度时热敏电阻的阻值,调整图1中的R\(_{4}\)使得发光二极管全部点亮,进而再调电位器使其阻值等于最低显示温度时热敏电阻的阻值,调整R3使得一个发光二极管亮即可。由于热敏电阻的非线性,因而温度变化与发光二极管的数目变化是近似的线性关系。
主要元器件
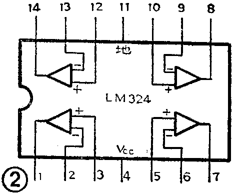
运算放大器采用LM324,它内部有4个独立的精密放大器,本电路中任意使用其中的一个。该集成块的引脚排列见图2。它可在很宽的电压范围工作,单电源3V~30V,双电源±1.5V~±15V。发光二极管驱动电路采用SL322,它具有两个独立的输入端,如果将其中一个输入端与另一个输出端相连(8与16脚),可带10只发光二极管如图1那样。它的工作性能是,输入端电压每增加0.65V左右将带动一个发光二极管发光。

热敏电阻采用MF51,使用温度范围为-55℃~+125℃,灵敏度高,只是其线性差、互换性差,如果采用互换性好的热敏电阻虽能使显示精度提高,但成本较高。(晏广)