CXA1019集成电路是日本索尼公司近年来研制问世的新产品,其外形如图1所示。该集成电路包括了调幅/调频收音机的全部电路,功能齐全,外围元件少,集成化程度高。用这片集成电路装配的收音机,具有适应电压范围广、耗电省、灵敏度高、失真小等优点。而且制作容易,初学者也很容易自行装调成功。

电路工作原理
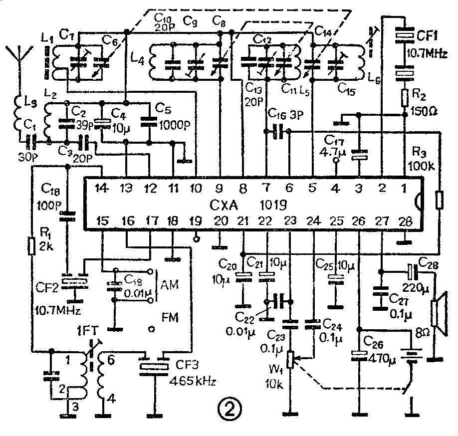
图2是收音机的电原理图,下面分别说明调幅、调频部分的工作原理:

1.调幅(AM)部分:中波广播信号由磁棒线圈L\(_{1}\)和可变电容器C6,微调电容C\(_{7}\)组成的谐振回路选择后,送到集成电路(以下简称IC)的第10脚。本振信号由振荡线圈L6和可变电容C\(_{14}\)和微调电容C15,以及IC第5脚所连集成块内的电路组成的本机振荡器产生,并与IC第10脚送入的广播信号在IC内部进行混频。混频后得到465千赫的信号,由IC第14脚输出,经中频变压器1FT和465千赫的陶瓷滤波器选频后,耦合到IC第16脚进行中频放大,放大后的中频信号在IC内部的检波器进行检波,检出的音频信号由IC的第23脚输出,并经音量电位器W\(_{1}\)控制后耦合到IC第24脚进入音频功率放大器,放大后的音频信号由IC的第27脚输出。
2. 调频(FM)部分:由天线接收到的调频电台信号,先经过由L\(_{3}\)、C1、L\(_{2}\)和C2组成的带通滤波器,抑制调频波段以外的信号使调频段以内的信号顺利通过并到达IC的第12脚进行高频放大,放大后的高频信号被送到IC的第9脚,接在IC的第9脚的高放线圈L\(_{4}\)和可变电容C8、微调电容C\(_{9}\)组成一个并联谐振回路,对高频信号进行选择后在IC内部的混频器进行混频,混频后得到10.7兆赫的中频信号,由IC的第14脚输出。中频信号先经过10.7兆赫的陶瓷滤波器CF2进行选频,然后进入IC弟17脚的FM中频放大器,经放大后的FM中频信号在IC内部进入FM鉴频器,IC的第2脚与鉴频器相连,接有10.7兆赫的鉴频滤波器。鉴频后的音频信号与A-M相同,在IC的第23脚输出,经音量电位器W1控制后进入音频功率放大器,最后,音频信号由IC第27脚输出。
CXA1019集成电路的特点
CXA1019集成电路的内部功能方框图如图3所示。它的特殊点及一些附加电路的原理分述如下:

1.AM/FM波段开关电路:由图2可以看到:当IC第15脚直接接地时,IC处于AM工作状态;当IC第15脚与地之间串接上C\(_{18}\)时,IC处于FM工作状态。波段开关控制电路是十分简单的,只需用一只1×1的开关便可很方便地进行波段转换控制。
2.自动增益控制电路(AGC)和自动频率微调控制(AFC)电路:CXA1019的AGC电路由IC内部电路以及接于第21脚、第22脚的电容C\(_{2}\)0、C21组成,其控制范围可达45dB以上。AFC电路由IC的第21脚、第22脚所连内部电路和电容C\(_{2}\)0、C21、电阻R\(_{3}\)以及IC的第6脚所连电路组成,它能使FM间接收频率稳定,工作状态可靠。具体电路见图2。
3.调谐指示电路:CXA1019的调谐指示电路由第19脚引出,可将发光二极管或直流电压表头接入如图4所示的电路中,当收音机调谐到某一电台位置时,发光二极管点亮(或者是电表读数增大),这样可使调谐操作更为直观、准确。

4.FM镇噪电路:本机的接收灵敏度很高,尤其是在FM波段,当调谐到没有电台的位置时,由于AGC没有起控,电路增益很高,噪声则比较大。为了消除这种在调谐过程中出现的噪声,可加上如图5所示IC第19脚和第4脚所连附加电路。当开关K闭合时,静噪电路起作用,这时整个波段在没有电台的位置时,便十分安静。当收听弱电台广播时,为了提高增益,可将开关K断开,这时静噪电路不再起作用。

5.电子音量控制电路:一般收音机中的音量控制电路都是在音频功率放大之前对音频电压采用分压式衰减方式来达到控制音量的目的,本文图2中,从IC的第23脚经电位器W\(_{1}\)到第24脚的电路就是采用的这种方式。集成电路CXA1019除了可以采用上述常见的音量控制方式外,还可以采用电子音量控制方法。图6就是CXA1019电子音量控制电路,它是通过改变IC的第4脚的直流电位来达到控制目的,读者可以根据需要自行改制。采用这种控制方式时,检波或鉴频输出的音频电流由IC第23脚经C24直接耦合到IC第24脚,而音量电位器的动臂接在IC的第4脚,当电位器的滑动臂移动时,第4脚的直流电位也随之变化,从而达到控制音量的目的。由于电位器接在直流电路中,因而可把电位器安排到面板的任何位置上,而不必耽心过长的音频信号引线会带来不良的效果,根本不需要再使用金属隔离线。

制作经验
图7是收音机的印刷电路板图。在排板布线时应注意以下几个问题:

1.高频电路和低频电路的接地点要各自独立分开,以避免高、低频信号通过公共地线引起各种不良耦合。高频部分的接地点集中在四连可变电容器周围,走线短而粗,以利于高频部分工作稳定和提高信噪比。
2.由于CXA1019的增益很高,故IC和磁棒天线间用四连电容器隔开,以避免它们互相靠近而引起自激。
3. FM天线输入回路的元件,FM高放输出谐振回路的元件以及FM本振回路元件应互相隔开,各电感线圈最好互相垂直放置。例如,L\(_{3}\)、L2、L\(_{4}\)、L5应适当隔开,并使L\(_{3}\)与L4、L\(_{4}\)与L5互相垂直放置。
4.陶瓷滤波器CF3以及中周1FT应尽量靠近IC的第16脚,以避免造成本地强电台直接由中放级串入。
CXA1019集成电路适应的电源电压范围很宽,从3V~9V都能正常工作。表1列出了IC在电源电压分别为3V、6V、9V时各脚分别在AM和FM状态下的静态电压值,单位为伏,可供参考。各个电感线圈的制作数据见表2。


调试方法
本机的中频部分使用了三只陶瓷滤波器CF1、CF2、CF3,其中CF1、CF2的谐振频率为10.7兆赫,用于FM中放,使FM中频根本不需调整便能准确校准于10.7兆赫,并使FM中频的通频带和选择性得到保证。CF3谐振于465千赫,用于AM中放。由于使用了CF3,AM中放仅使用一只中频变压器1FT,使AM的调整手续十分简单。在业余条件下调整AM中频时,只要收听一个电台的广播信号,并微调1FT的磁芯使收音机的输出最大,就完成了AM中频的调整。
在进行AM/FM各波段的跟踪统调时,最好有一台简单的高频信号发生器,例如使用XG-25S,可使调整更为准确可靠。具体调试办法如下:
1.调整AM频率覆盖:将高频信号发生器输出信号频率调于520千赫,收音机波段开关置于AM位置,将四连可变电容器旋至容量最大位置,用无感螺丝刀调整振荡线圈L\(_{6}\)的磁芯,使收音机接到520千赫信号。再将高频信号发生器调谐于1650千赫位置,将四连可变电容旋至容量最小位置,调整微调电容C15,使收音机接收到1650千赫信号。如此反复进行两次,AM频率就可调整好。
2. 统调AM:将高频信号发生器频率调到600千赫位置,旋动四连可变电容,使收音机收到600千赫信号,移动中波天线线圈L\(_{1}\)在磁棒上的位置,使收音机输出最大。这时用一根测试棒(一端为磁棒、一端为铜棒)的两端分别靠近L1,收音机输出都应减小,这说明600千赫频率已调准。如果当测试棒的一端(如铜棒一端)靠近L\(_{1}\)时,收音机的输出增大,说明600千赫频率未调准,此时必须重新调整L1在磁棒上的位置,直至达到要求为止。再将高频信号发生器调谐于1400千赫,旋动四连可变电容使收音机收到1400千赫信号,调整微调电容器C\(_{6}\)的容量使收音机输出最大。这时用测试棒两端分别靠近L1,收音机输出均应减小,说明1400千赫已调准。由于高、低端两统调点在调整时互有影响,所以上述手续需反复两次。最后用高频蜡将磁棒线圈封固即可。
3.调整FM频率覆盖:将高频信号发生器频率调于86.5兆赫,收音机波段开关置于FM位置,四连可变电容旋至容量最大,用无感螺丝刀拨动FM的振荡线圈L\(_{5}\)的圈距,使收音机收到86.5兆赫信号。再将高频信号发生器调谐于108.5兆赫,四连可变电容调至容量最小,调整微调电容器C12容量,使收音机收到108.5兆赫信号。如此反复调两次,最后用高频蜡将线圈L\(_{5}\)封固即可。
4.统调FM:将高频信号发生器输出信号频率调于88兆赫,旋动四连可变电容使收音机收到88兆赫信号。用无感螺丝刀轻轻拨动FM高放线圈L\(_{4}\)的圈距,使收音机输出最大。再将高频信号发生器频率置于108兆赫,旋动四连可变电容使收音机收到108兆赫信号,调整C9容量使收音机输出最大。如此反复两次,用高频蜡将L\(_{4}\)线圈封固即可。
在进行跟踪统调时,必须小心、细致。调整电感或电容时需使用无感螺丝刀。
如果没有高频信号发生器,在业余条件下要想将频率范围及跟踪统调点调准确,一般是比较困难的。读者只能根据本地接收电台的情况和四连可变电容的旋转角度凭经验近似调试。但由于本机只用了一只集成电路,灵敏度又较高,性能可靠、稳定,电路中又使用了三只中频陶瓷滤波器,使调试手续大为简化,业余爱好者是很容易自行调试好的。
下面是采用6伏电源时收音机的几项主要指标。频率范围:AM波段不狭于525~1605千赫,FM波段不狭于87~108兆赫;中频频率:AM465千赫,FM10.7兆赫;灵敏度:AM优于0.6mV/m,FM优于5μV;自动增益控制:优于45dB;不失真功率:大于500mW。(穗丰)