本装置适用于交流弧焊机、硅弧焊整流器。具有电路简单、可靠性高、通用性较强等特点。特别是该装置在发生故障时,能自行在不节电位置正常运行,不会影响施工。
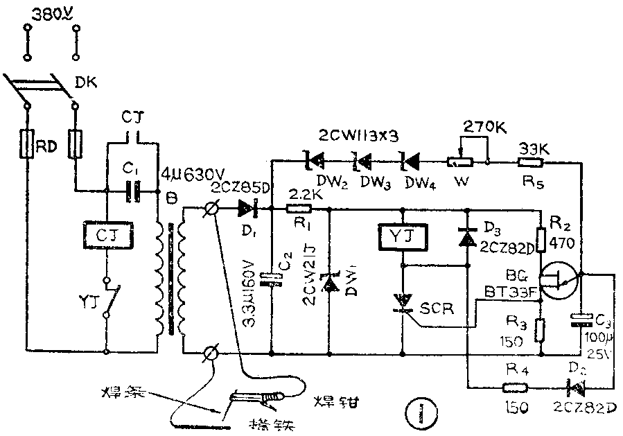
图1为电原理图。电焊机开始工作时。合上DK,继电器CJ通过常闹触点YJ得电吸合,触点CJ闭合,变压器B通电运行。同时其次级输出约65~75V电压,经D\(_{1}\)整流,C2滤波,一路经R\(_{1}\)、DW1稳压后供控制回路;一路经DW\(_{2}\)~DW4及W对C\(_{3}\)充电,当充至BG峰点电压时,BG呈负阻状态,在R3上输出一正脉冲,触发可控硅SCR导通,继电器YJ吸合,继电器CJ释放,触点CJ断开,B通过C\(_{1}\)供电。由于电容的限流作用,使其初级电流在300mA左右,达到了空载节电的目的。施焊时,焊条与工件碰触,相当于将B次级短路,其电压近似零伏,于是C2端电压迅速下降,当降至YJ释放电压时,YJ释放,触点YJ闭合,继电器CJ吸合,触点CJ接通,B不经C\(_{1}\)供电而直接电源通电工作。此时,电弧拉开正常焊接,B次级工作电压在30~40V之间,不足以击穿DW2~DW\(_{4}\),C3无充电电流,维持了暂时稳定状态。一旦停焊,B次级电压即刻上升, DW\(_{2}\)~DW4被击穿,通过W、C\(_{3}\)及BG等延时回路的时延(调整W可改变延时长短),SCR又被触发导通,继电器YJ吸合,继电器CJ释放,B通过C1供电而又处于节电运行。电路中,D\(_{2}\)、R4支路的作用是当SCR导通时旁路C\(_{3}\),以保证各次延时长短一样。图2为印刷电路板图。


元件选择:C\(_{1}\)选用CZ40等油浸电容;CJ为 CJ10-20交流接触器,线圈电压380V。YJ选用T70L5D等吸合电压12V、直流电阻450Ω左右的灵敏继电器,有一对常闭触点即可。SCR为3CT1A50V单向可控硅,选用维持电流较大者为宜。其余按图1中标明值选用即可。
本电路在元件良好,接线无误的情况下,一般不作调整即可正常工作。如果在焊条与工件拉弧较远时,电路误动作,可将DW\(_{2}\)~DW4中的某一只换用稳压值大些的即可解决。
该装置经实际使用表明,起弧很快,与未加该装置前无明显差别。因此,在实际使用中,将延时量调至5秒以下,可进一步提高节电效果。(陈新明)