游戏机的面板图见图1。在面板上画着一只被小棍支撑起的竹筛子,小棍上系的绳子连到一只按钮处,按动按钮,就表示“拉动”绳子。另外还画有几只小鸟,每只小鸟的身子下面有一只发光二极管。当接通电源开关后,这些发光二极管会忽明忽暗的闪动,就象小鸟在跳动。与此同时,还可以听到“啾、啾……”的鸟叫声,使游戏更加逼真。当小鸟“来”到竹筛子下面时,你应抓紧时机,迅速按下按钮,表示你拉动了绳子。如果时机合适,这小鸟就会停在竹筛子下,不再逃走,连续地响起“啾—”的叫声,表示已被扣住。假如你按钮时机选择不当,则小鸟仍会自由自在地到处活动。

电路原理
游戏机电路见图2,全机用了两块CMOS数字集成电路、四只发光二极管、一只晶体三极管和少量其他元器件。

两块CMOS集成电路都是与非门电路、型号为C006(或用C036、C066),这是二输入端四与非门电路,即每块集成电路含有四个与非门,其中每个与非门有两个输入端。
在图2中,与非门2和3;4和5;6和7分别和外接电阻、电容构成三个可控制的多谐振荡器,它们的控制端分别为a、b、c。当控制端为高电平“1”时,振荡器起振;控制端为低电平“0”时,振荡器停振。
与非门2和3、4和5构成的两个振荡器的频率较低,它们和非门8(与非门连接成非门使用)配合起来使LED\(_{1}\)~LED4发光,模拟出小鸟活动的效果。我们知道,每个多谐振荡器可输出“0”、“1”两种状态,两个多谐振荡器的输出可组合成“00”、“01”、“10”、“11”四种状态,并且这四种状态出现的先后次序和每种状态持续的时间长短都可作到无明显规律。不难看出,当图2中“X”端为“0”、“Y”端为“1”时,LED\(_{1}\)导通发光,它的工作电压降反向地加到LED2上,故LED\(_{2}\)不发光。同时由于非门8的作用,“Z”端为“1”,LED3和LED\(_{4}\)因两端都为高电平“1”,所以也都不发光。因此对于“01”状态,只有LED1发光,其他几种状态读者可自行分析,并可参见附表。

当两个低频振荡器都输出“1”时,LED\(_{3}\)发光。设计时将LED3安排在游戏机面板图的筛子下面,当LED\(_{3}\)点亮的瞬间,就是按动按钮“捉鸟”的时机。
但是,如何判断按钮时机是否正好适当呢?这就要利用与非门的逻辑功能了。本机中,按钮时机适当包括三个条件,即X端为“1”、Y端为“1”、按钮按下为“1”。但我们用的是仅有两个输入端的与非门,所以用D\(_{1}\)、D2和R\(_{2}\)构成一个二极管与门,将与非门1的一个输入端扩展为两个。这样,与非门1就有了三个输入端,可满足我们的需要了。当你按钮时机适当时,与非门1的三个输入端都同为高电平,输出为低电平。这低电平由a、b两个控制端分别加到两个低频振荡器上,使它们都停振,并使X、Y端保持为高电平, LED3便持续发光。同时,与非门1输出的低电平还使反相器BG导通、输出一高电平反馈回到与非门1的一个输入端,将其锁定为高电平。这时即使松开按钮,与非门1也会维持输出低电平的状态不变,故BG是为增加自锁功能而设的。
C\(_{1}\)、R3构成一个微分电路,它使按钮输入的信号微分化,即按钮按下的那一瞬间的动作才起作用。图中R\(_{1}\)是C1的放电电阻。
为了增加游戏的难度,在由与非门2和3构成的低频振荡器中加用了二极管D\(_{3}\),它使电容C2的充、放电电阻的阻值不等,所以振荡器输出高电平的时间较短,而输出低电平的时间较长。因此LED\(_{2}\)、LED3发光的时间较短,同时也更加使你捉摸不定。
与非门6和7构成频率约2kHz的音频振荡器,它的控制端连接到X端,压电陶瓷片YD作发声元件,它们模拟鸟叫声。每当X端为高电平时,振荡器就起振。由于X端为高电平的时间很短暂,所以鸟叫声也断断续续,十分逼真,而当小鸟被捉住时,因X端保持为高电平,故振荡器就一直工作,压电片发出连续的鸟叫声。
制作调试
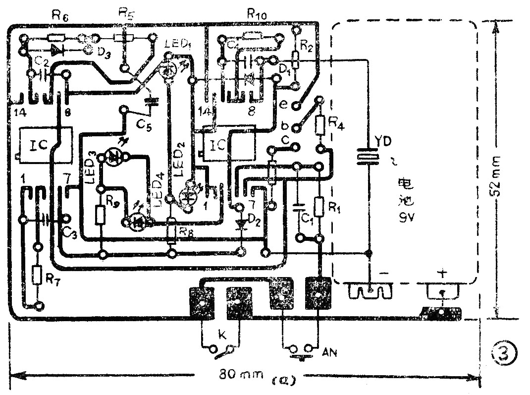
图3(a)是印制电路板图(1∶1),图3(b)是集成电路外引线排列图。印制板不钻孔,全部元器件都焊在有铜箔这一面上。焊接CMOS集成电路时应拔掉电烙铁插头,利用余热快速焊接。


代表小鸟的发光二极管用黄色的,也可选用其他颜色的,因为是CMOS门电路直接驱动,故要求电流小、亮度高。各二极管可用2CK或2CP型。三极管用3AX型,对β值无特殊要求。拨动开关和按钮开关可选用市售成品小型开关,也可自制。压电陶瓷片直径不限。电源用9V层叠电池一块。
外盒用薄塑料板或有机玻璃板制作,内部尺寸为80×52×20(mm)\(^{3}\),面板要求选用透明材料。压电片装在盆底,利用外盒作助音腔,这样声音较大。在盒底开一个比压电片直径小2mm的圆孔,在孔边缘涂上环氧树脂,将压电片黄铜面向外粘牢在盒内。为防止印制板紧贴压电片,在盒底四角处各粘一小块厚约2mm的硬纸块或塑料块,将印制板垫起,然后用胶带将电池固定在印制板指定位置处(图3),最后焊好电池和压电片引线。
本机只要元器件完好,安装焊接无误,一般不需调试,但为了达到更理想的效果,可作些简单的调试。例如为了改变小鸟活动的快慢,可以调整由与非门2和3、4和5构成的振荡器外接的C\(_{2}\)、C3或R\(_{5}\)、R6、R\(_{7}\)的数值;变动音频振荡器中C4或R\(_{1}\)0的值,可改变音调的高低;调整R8和R\(_{9}\)的值,可在一定范围内改变发光二极管的亮度。这些都可根据自己的需要和爱好来调整,使游戏机更合你的意。不过,应注意别让流过发光二极管的电流超过4mA,以免门电路损坏。
最后,用白纸照图1绘好游戏机面板图,在小鸟图案处用快刀刻空(它们正对印制板上的各发光二极管),将面板图衬在透明面板内,装入机芯,接通电源开关,小鸟立即欢蹦乱跳起来,你就可以欣赏自己的成功之作了。
当小鸟被捉住后,一次游戏结束;需继续游戏时,可将电源开关重新启闭一次。(李光宇)