一般简单闪光灯都不具有恒压控制电路,其内部的直流升压电路在指示氖灯发亮后还继续工作,即使高压电容上的电压充足后不再上升,直流变换器的工作电流仍然很大,一般约在100毫安左右,因此使得电池耗电很大,闪光灯不能长时间连续工作。
本文对较为常见的雅齐321M闪光灯进行了一点改进,增加了恒压控制电路,使其空载电流大为下降,平均工作电流约1.5毫安左右。这样一方面可使闪光灯在较长的时间间隔中不必关闭电源开关,给抢拍景象带来极大方便。另一方面则由于高压电容每次充电电压保持恒定,因此保证了闪光指数不变,提高了摄影质量。
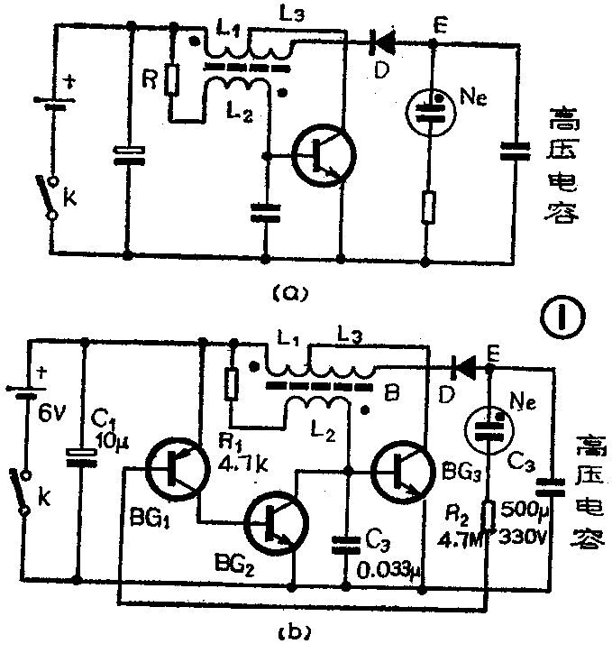
雅齐321M闪光灯内部电路中直流升压振荡部分如图1(a)所示。其工作原理与一般单管自激振荡器无较大差异,L\(_{1}\)为集电极绕组,L2为基极反馈绕组,L\(_{3}\)为升压绕组,R为基极偏置电阻。由L1、L\(_{2}\)绕组的极性决定电路产生强的正反馈振荡,经L3升压、D整流后向高压电容充电。随电容充电E点电压逐渐升高,当E点电压大于250V时,Ne灯亮指示电已充足可以曝光,但此时振荡部分仍继续工作,耗电很大。改进后的线路如图1(b)所示,不难看出其恒压控制作用是,在振荡管的基极电路中增加了一个由BG\(_{1}\)、BG2组成的开关电路,它可根据E点输出电压的大小去控制振荡管的工作与否,从而达到稳定输出电压及降低耗电的目的。其工作过程是这样的:当E点直流输出电压低于250V时,指示氖灯不能导通,BG\(_{1}\),BG2由于得不到偏置电流而截止,因此丝毫不会影响原升压振荡电路的工作状态;当E点输出直流电压高于250V时,氖灯击穿,BG\(_{1}\),BG2迅速导通,使得BG\(_{3}\)基极电压降至0.2V以下,BG3截止,振荡电路停振。此时电路电流的大小仅由R\(_{1}\)决定,其数值略大于1毫安。当输出直流电压随自然放电下降到略低于250V时,氖灯关断,BG3又开始振荡工作,使得输出直流高压回升。这样周而复始,维持了输出电压恒定。由于升压振荡电路总是间歇工作,所以其平均工作电流大为下降。

BG\(_{1}\)应选用PNP型硅管,BG2应选用NPN型硅管。β值要求均在50左右,反压大于20伏即可。由于雅齐321M闪光灯内部印刷线路板上空位很多,所以改装起来非常方便,只要将三极管焊在空余线路的焊点上即可。具体安装位置见图2,首先将R\(_{2}\)接地端A焊开,改焊在A′点处。再用一段导线将B、C两点连接起来,焊上BG1,BG\(_{2}\)后,再将BG2的集电极与BG\(_{3}\)的基极连接起来即可成功。

由于简易闪光灯的电路大同小异,读者可根据不同闪光灯的具体线路加以改装。提请注意的是,闪光灯工作后,内部高压电容存有很高的电压.为了免遭电击及防止不慎损坏器件,拆装前一定要先按几下测试用的闪光按钮,确保高压电容放电。焊接前再用一只阻值为1kΩ左右的电阻与电容两端相碰,放去高压电容的残余电压后再进行改装。(李文谦)