问:一台日立CTP—236D型彩色电视机出现无彩色故障,经查系解码集成块TA7193P损坏所致。换上新集成块后,故障消失。但发现TA7193P较热。据有些爱好者讲:应加装散热板帮助其散热,否则就易坏。是这样吗?造成该集成块损坏的常见原因是什么?
答:TA7193P在工作时是有一定热度的。这是因为它是大规模集成电路,芯片面积较小,内电路功耗较大的缘故。但一般来讲不需加装散热板。在有些彩电中,由于使用了早期生产的TA7193P,而这些集成块的质量较差,因此容易突然失效损坏,这就使不少爱好者怀疑其是否应加散热板。其实现在用的TA7193P大多是80年后的产品,它们很少会自行失效,所以不用担心会因发热而损坏(只要不烫手就行)。造成 TA7193P损坏的常见原因除了本身质量差外,还有是受到电视机内部或外部(如雷击)过高的电压冲击。(申沅)
问:汤姆逊牌22英寸彩色电视机的电源开关管BU508损坏后,用什么型号的管子可代替?
答:BU508是电源开关管,在电路工作的启始状态,它作为振荡管,当电路处于稳态后,它工作在开关状态,因此对代换管的要求:V\(_{CBO}\)=1500V,PCM>50W,I\(_{CM}\)>5A。
BU508是塑封大功率管。用2SD1403、S2000A可直接代换,2SD1943、BU208不是塑封管,但参数能满足要求,也可以代换。代换时,要另加一块面积不小于80平方厘米的散热板。
另外,还可以把该机的行输出管换下来用于电源开关管,而行输出管可用带有阻尼管的2SD1425、2SD1426、2SD1427、2SD809管子代替。(梁卫平)
问:用彩色电视机收看黑白电视节目时,发现黑白图象上有一种紫色的“假彩色”,可是过了一段时间发现这种假彩色消失了,而且每次开机都有此种现象,不知何故?如何修理?
答:这可能是由于G枪发射能力降低而引起的。因为刚开机不久,G枪阴极温度未达到稳定,发射能力衰退,因此在黑白图象上就会出现紫色故障。可是过了一段时间,阴极温度慢慢上升,G枪的发射能力也渐渐恢复正常,因此黑白图象上出现的“紫色”便会慢慢消失,恢复到正常状态——纯黑白图象。如果在“冷态”时重调灰度统调,使“紫色”消失,可是在热态时又会出现新的不平衡——在黑白图象上出现“绿色”假彩色,要消除这故障的最好办法是更换显象管。(陈登凌)
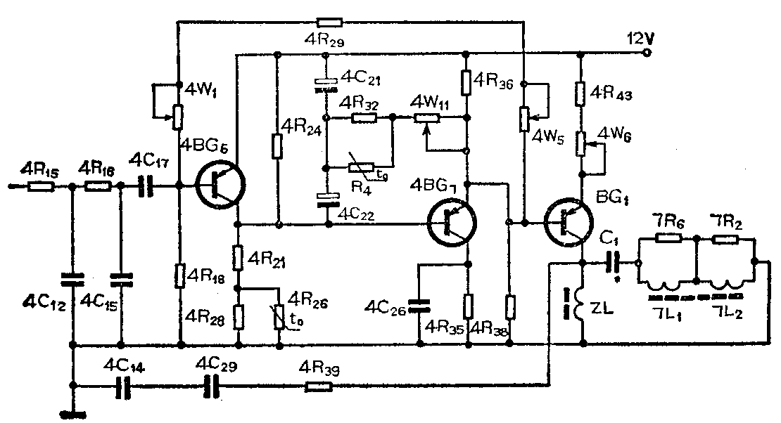
问:我有一台凯歌4D4型黑白电视机,刚开机时,场不同步,十几分钟后,就自动同步,请问是何原因?
答:从上述现象看,很可能是容易受温度影响的元器件发生了变化,因而使场振荡频率改变。参看场扫描电路(见附图),场振荡是靠场输出端至场输入端的正反馈来实现的,正常时,振荡管4BG\(_{6}\)工作在饱和或截止状态,电容4C21和4C\(_{22}\)是锯齿波的形成电容,如果这两个电容干枯、变质,其容量就会变小,使充放电时间常数减小,振荡频率提高。振荡频率偏离不严重时,只是同步的范围变小,严重时,则会出现场不同步现象。但是随着温度的升高,受热的电容的容质就有可能增加,使场同步恢复正常。解决的办法:更换4C21或4C\(_{22}\)。(屈梅)

问:有些彩色电视机在某个节目预选开关旁加标AV符号,是何意思?
答:近年来国内外生产的部分彩色电视机考虑到与磁带录象机连接进行放象,在彩色电视机节目预选开关中设置了专供和磁带录象机匹配的一个开关,并且在该开关旁加标AV符号。其内部电路是在该预选开关输入端加了限幅器,因为磁带录象机图象射频信号电压幅度远比空间广播电视信号强许多,如果不经限幅,直接接收录象机的射频信号,就会造成全电视信号中部分成分被切割,致使磁带录象重放效果变差。当然在用 AV预选开关重放磁带录象时,要用75Ω中同轴电缆把磁带录象机射频输出(RF-OUT)与电视机天线插孔连接起来,并且也要用AV信道的频道选择开关及微调旋钮使之与磁带录象机射频频率相跟踪。接收广播电视节目时,最好不用AV预选开关,因为它的限幅器对广播电视信号有衰减作用,往往接收效果比其它预选开关差。(靳连生)
问:我有一台春雷3T9A三波段12半导体管交流电源收音机,在使用上述收音机的拾音插孔放唱片时,音量要比收音时轻得多。另外当在此拾音插孔送入录音机的放音信号时,扬声器发声高音不足。应如何改善?
答:3T9A和3T4电路相同,有关电路如图所示。由于唱片在制作过程中衰减了低音,所以一般有拾音插孔的收音机,在拾音时电路中插入了主要用来提升低音的均衡电路(附图中虚线框内电路)。因为3T4、3T9A早期产品的均衡网络对信号衰减较大,所以放唱片时的声音就比收音时小了。要想提高拾音时的音量,附图中的R\(_{19}\)可改为3.3千欧,R21阻值改为1千欧。另外,因均衡网络提升了低音,所以在拾音插孔播放录音信号时,将会显得低音提升过头,高音感到不足。要想使3T9A的拾音插孔也能输入录音机的信号,附图中要把均衡网络设法短路,使它这时不再接入放大器。可把波段开关K4B刀位的⑨脚与脚用导线短接即可。图中K4B已置于放唱位置。(彭贤礼)

问:为了改善晶体管收音机对远地中波台的接收效果,我们按有关资料介绍,利用市电线路,给收音机加了一根简易接收天线(把一个470PF电容串接在市电线路与收音机天经插口之间)。结果收音效果大为改善,但却存在这样一个问题:当电容一端与市电火线相连时,用电笔测收音机天线插口等处发现带电,即使将电容容量减小至47PF也一样。不知这电是否会危及人的安全?能设法消除吗?
答:用这种形式的天线是很不安全的。因为尽管在正常情况下这种带电现象并不会引起触电事故,但万一电容在使用中发生漏电或击穿故障,就会使火线直接与收音机连通,很可能导致使用者触电,甚至身亡。所以应该立即不用这种天线。为了改善收音机的接收效果,可换用类似原理的天线,这就是:用一根交流工作电压为250伏以上的塑料绝缘单芯电线,在市电线路上缠绕10~20厘米长度,然后把电线一端引入收音机天线插口即可。应该注意,不可在陈旧老化的市电线路上缠绕;一般在台灯、电扇或其它电器上的较新的电源线上缠绕较为合适;缠绕的每一匝与相邻匝最好都要排紧。(申薇)
问:我的红灯ZL144型台式收录两用机有时按下放音键后会出现强烈自激振荡。检查线路没有发现故障。请问是什么原因?
答:一般台式收录机的录音键与录、放音转换开关距离较远,其间多以弹簧及尼龙线连接。如经常使用,时间久了以后会使弹簧松驰或尼龙线老化,可能造成录、放音转换开关有时不能正常复位,从而在放音时引起自激振荡。如果是这样,最好更换弹簧或尼龙线。有些情况下将此部分加以适当调整也可解决问题。(凯歌)
问:我用一台普通盒式收录机作信号源,把录音信号从耳塞孔输出到一台高传真扩音机去放声,这时电视转动的噪声很响,而不扩声时从收录机的扬声器中放音却不容易听到电视噪声,这是何故?怎样消除这种杂音?
答:盒式收录机的录放磁头容易感应电动机的杂散磁场而使杂音传输到下级放大,因此电动机都用铁盖封闭以防磁力线泄漏。由于磁头所感应出的杂音频率在声频的低端,而盒式收录机中扬声器对放音频带中的低频有较大衰减,也就是说扬声器本身已作为滤波器滤除了这种杂音,所以收录机放声时不容易听出来。
但是高传真扩音机的频带较宽,电机转动的低频杂声在它的放大范围内,且扩音机的低音提升电路又将电机噪声提升,所以经扩音机放大后电机噪声就相当突出了。
解决办法是:(1)将扩音机的低音控制电位器旋至适当的衰减位置。以限制杂声的放大(2)可把本刊以前介绍过的电唱机转盘隆声滤除电路装在扩音机的输入级前。以最大限度地衰减这种低频噪声。
问:用HA1394功效集成块制作一台立体声扩音机,所用单电源是直流25V,想用6\(\frac{1}{2}\)英寸5W4Ω的橡皮边扬声器为低音单元,2英寸3W4Ω的扬声器作高音放声制作一对音箱,这样的匹配是否合适?
答:扩音机用5W+3W的扬声器作负载,即要获得2×8W的不失真输出功率,它要求变压器至少提供不小于30W的电功率,因此用电源为直流25V还不够明确,一般市售电源变压器,次级绕组为交流18V1A输出,整流滤波后电压为25V。但扣除损耗,它能提供的电功率要小于 18W,而 HA1394集成块在4Ω负载下用25V直流电压可提供2×10W的不失真功率,它要求电源变压器至少有40W的功率,所以最好能用次级输出2A电流的交流18V绕组的电源变压器,它经整流滤波后提供的直流电压能满足上述音箱作为HA1394集成块的负载要求。(以上张国华答)