中学物理教科书中介绍电磁感应现象时,往往要在课堂上演示导体切割磁力线的实验,但由于示教电表的灵敏度不高,而使用灵敏电流计课堂后面的学生又看不清,所以此实验往往不能收到明显效果。本电路利用高增益运算放大器组成直流放大器,作为万用示教电表的附件效果较好。
一、原理
电路原理如图1所示。IC为集成四运放LM324N中的1/4,组成反相输入的直流放大器,其放大倍数为10000倍。当闭合电路的一部分导体L在磁场中切割磁力线运动时,导体中就会产生感生电流,此微弱电流经IC放大后,足以使万用示教电表表针产生很大偏转。R\(_{5}\)为输出限流电阻。因为LM324N是单电源电路,无调零端,所以用W和R3组成外调零电路。

二、安装
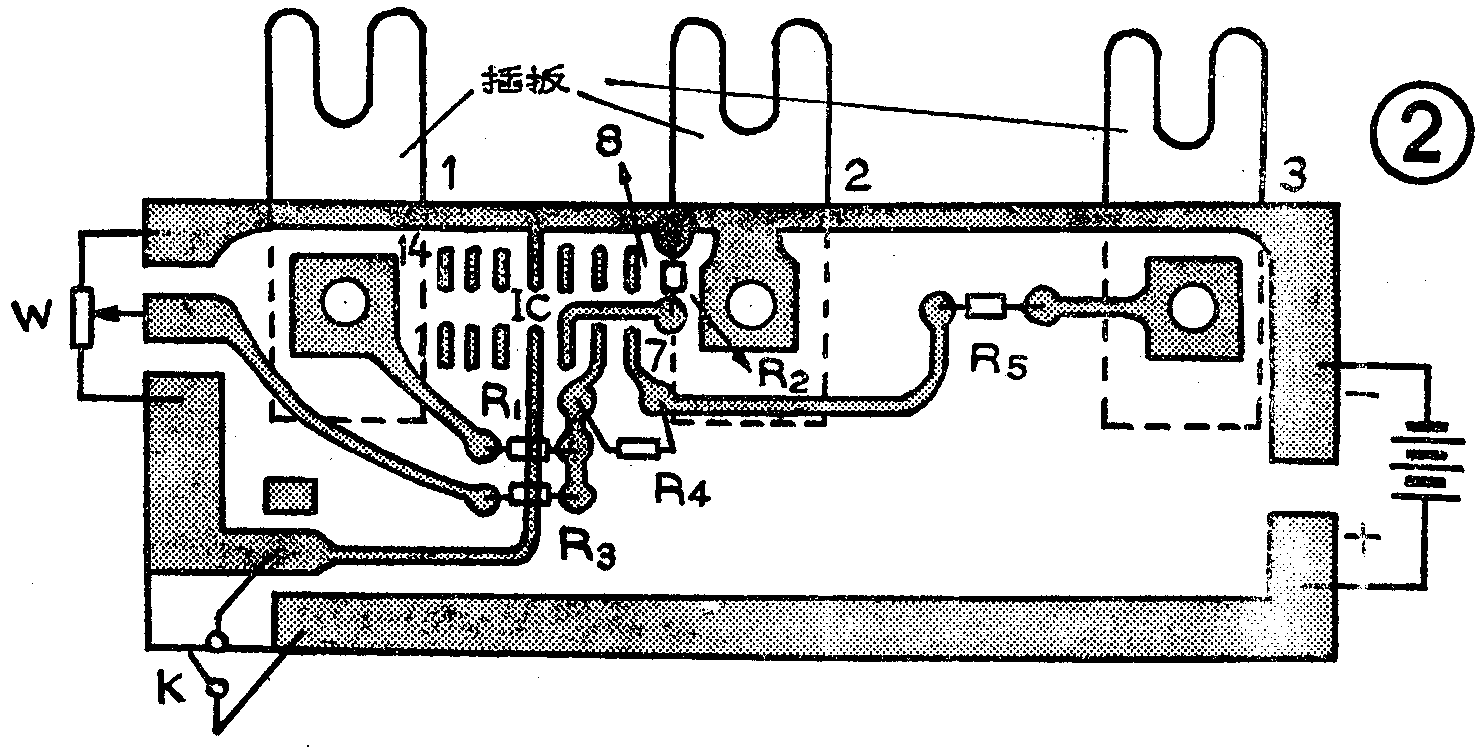
由于电路是电表的附加器,使用时要插在电表的接线柱上,1:1的印刷板见图2,板上只需钻出接插板的三个孔,所有元件包括调零电位器和拨动开关都直接焊在铜箔的一面,另用0.5毫米厚铜片剪三块插板,放在印刷板无铜箔的一面,用φ3毫米螺钉固定,注意与印刷板上三块方形铜箔接触良好。

三、调整与使用
接上电源后整机静态电流应为1毫安左右。
现以J0401型演示电表为例说明使用情况,见图3。先将电表转换开关拨在VA挡,此时电表灵敏度为500微安。将附加器三插板插入三个接线柱上旋紧,从其中1和2两个接线柱连出一根长导线L。然后接通开关K,调节W使电表指针指在中央刻度上,将磁铁靠近单根导线L作切割磁力线运动,就可看到电表指针的大幅度偏转。(姜立中)
