我们使用一块专用于产生多种波形的单片集成电路ICL8038和一块μPC324四运放,配上少量辅助元件,组装了一台函数波形发生器,它的功能多,装配调试容易。
技术性能
1.可输出正弦波、三角波和方波及这三种波的扫频波。
频率范围:20Hz~20kHz;正弦波:失真度≤0.5%,电压幅度不小于3V;三角波:线性度≤0.5%,电压幅度不小于4.5V;方波:占空比50%,电压幅度不小于14V;扫频波:扫频宽度为20Hz~20kHz,扫频速度为15Hz~500Hz连续可调,扫频线性度≤1%。
2.可输出正斜率可调的三角波(相当于频率可变的锯齿波)和占空比可变的矩形脉冲。
锯齿波:15Hz~500Hz,线性度≤1%,电压幅度不小于5V;矩形脉冲:15Hz~500Hz,占空比50%~95%可谓,电压幅度不小于6V。
电路原理
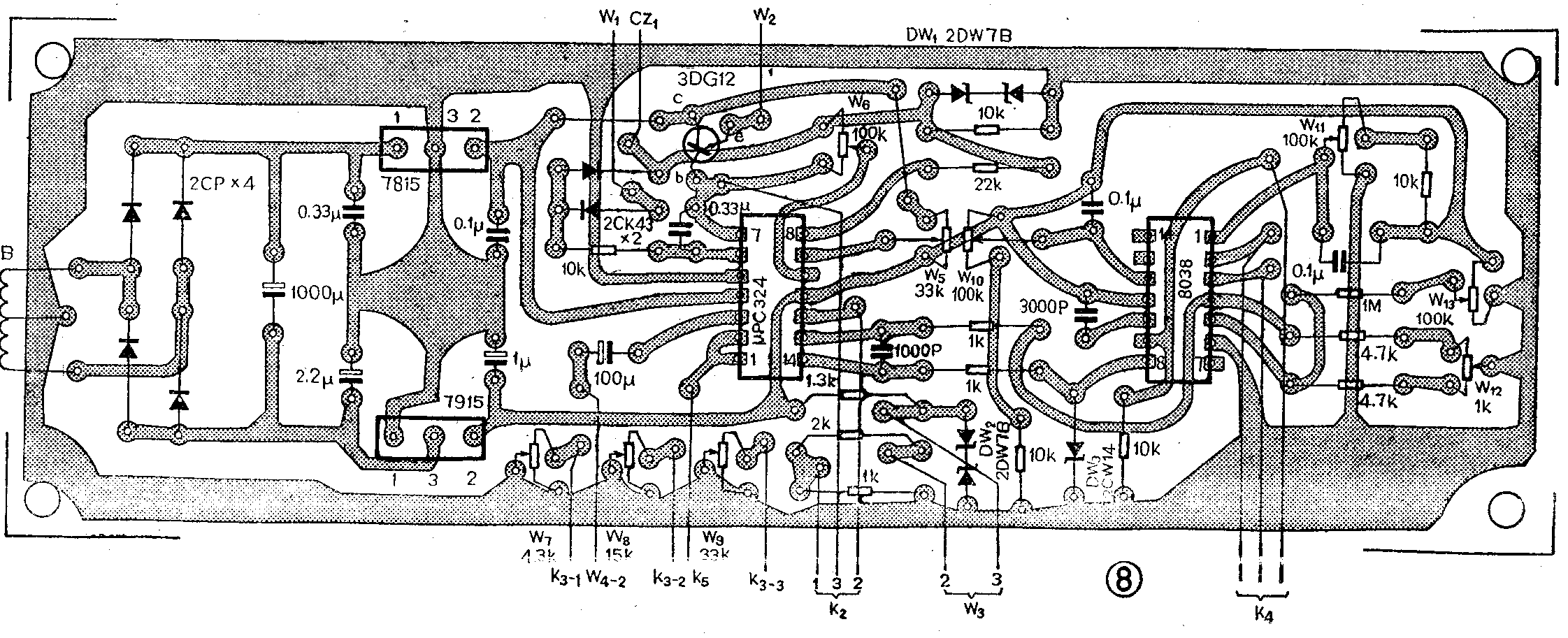
1.ICL8038是能同时输出正弦波、三角波和方波的单片集成块,引出脚排列见图3。

图2中IC\(_{3}\)、IC5组成精密压控振荡器。由于8038本身的压控频率线性度仅在扫描范围10:1时为0.2%,更大范围(1000:1)的线性度随之变坏,所以控制电压经IC\(_{3}\)后再输入8038的⑧脚,会有效改善压控的线性废(<1%)。电容C会影响输出频率变化范围(如取200P,上限频率可达到100kHz以上)。调整W12可改变方波占空比,占空比为50%时,正弦波、三角波对称性最好,所以W\(_{12}\)用于调整高频端的波形对称性,W13用于调整低频端的波形对称性。W\(_{1}\)0、W11用于调整正弦波的失真,DW\(_{3}\)用以防止⑧脚上的电压过低。
2.控制电压从IC\(_{3}\)脚输入。通过调节W3取得0~-3.8V电压。DW\(_{2}\)用以进一步稳定控制电压,减小频率漂移。由于扫描线性度好,所以测得W3①、②脚上的电压即可得知输出频率,故可用电压表指示频率数。为了更细刻度,用K\(_{3}\)转换量程。通过分别调节W7、W\(_{8}\)、W9,可得0~200Hz,0~2kHz、0~20kHz三档。
3.为了使扫频速度可调,并在调整时扫频宽度及扫频线性都不变动,则要求扫描电压的正、逆程时间足可调的,而其输出幅度保持恒定。本仪器用IC\(_{1}\)、IC2构成的三角波和矩形波发生器能满足上述的要求。IC\(_{2}\)是一个积分器,它由IC1输出方波驱动。方波幅度由DW\(_{1}\)固定在±6V左右,W1用以调节三角波的正斜率,逆时针旋到头时,是负向锯齿波输出,频率最低(15Hz左右),顺时针旋转时为不对称三角波输出,频率不断升高,旋到头时是对称三角波输出(500Hz左右),在频率变化过程中,幅度保持恒定。IC\(_{1}\)是比较器,参考电压由电位器W5调节,决定输出电平。W\(_{6}\)调节三角波幅度。 W1、W\(_{5}\)、W6的调节作用见图4。

负向锯齿波一路经K\(_{2}\)转换作扫频的调制信号,另一路经射极输出器送至CZ2输出,可接至示波器的X轴作同步扫描用。IC\(_{1}\)的输出接至CZ1作为占空比可变(调节W\(_{1}\))的矩形脉冲输出。
4.IC\(_{4}\)为输出缓冲级,其作用可降低输出阻抗,增大负载能力。IC4接成电压跟随器。正弦波、三角波和方波可分别由IC\(_{5}\)的②、③、⑨脚直接输出,也可通过K4转换,通过IC\(_{4}\)输出,此时输出幅度可由K5粗调,W\(_{4}\)细调。
5.电源需输出±15V、100mA,变压器次级交流为24V×2,采用正、负三端稳压集成块稳压,稳压性能好,电路简单。
元件选择
IC\(_{5}\)可选用上无五厂的产品5G8038。IC1~IC\(_{4}\)合用一块四运放电路μPC324,管脚排列见图5。W5~13用WS-3或WS-23型有机实芯电位器,也可选用普通微调电阻,不过稳定性差些。W\(_{3}\)选用WXD3-13、10kΩ多圈电位器,W1、W\(_{2}\)、W4选用WH\(_{5}\)-X型电位器,电阻最好选用RJX1/4W±5%;DW1、DW\(_{2}\)皆可选用2个稳压值相近的2CW14串联代替;转换开关K4选用KZJ4-2互锁推键开关,K\(_{2}\)为小型钮子开关或拨动开关,K3、K\(_{5}\)用小型3×1转换开关。Hz指示用85Cl、50μA表头,刻度盘根据需要重新绘制。

调试使用
全部焊接完再插上两片IC,注意管脚的排列方向,不能插反。检查无误后,即可着手调试。按图6连接好仪器。

1.调节对称性:K\(_{2}\)置“音频”,K3置“×100”档,顺时针旋转W\(_{3}\),频率计的指示值应增加,使其显示15kHz左右。“接线柱(CZ4),接示波器Y轴,调整示波器使波形稳定显示二个完整三角波,调节W\(_{12}\)使波形对称;逆时针旋转W3,使频率指示50Hz左右,调节W\(_{13}\)使波形对称时,此时方波占空比正好为50%。
2.调整失真度:示波器Y轴接“~”接线柱(CZ\(_{3}\)),反复调整W10、W\(_{11}\)使正弦波形失真最小,如能配合SZ-3失真仪调节最好,只要细心调节,可使失真度≤0.5%。
3.检查频率范围:W\(_{3}\)逆时针旋转,最低频率应为10Hz左右;顺时针旋转则最高频率应达20kHz以上,否则需调整C的容量,使频率范围达20Hz~20kHZ。在整个频率范围内输出幅度应保持恒定。
4.Hz指示表校准:K\(_{3}\)置“×1”档,调节W3使频率计指示200Hz,调节W\(_{7}\),使指针指在满度处(200Hz)即可。用同样方法调整其余两档。
5.扫频调整:K\(_{2}\)置“扫频”,将CZ2的扫描电压接至示波器“X轴输入”(或“同步输入”)“触发选择”置于“外”,调节W\(_{2}\),使X轴幅度适中,分别调节W5、W\(_{6}\)使荧光屏上显示如图7所示波形。

6.使用:不按推键开关K\(_{4}\),从CZ3、CZ\(_{4}\)、CZ5可同时输出正弦波、三角波和方波信号,此时负载能力较差。若按进其中的“~”键,则在CZ\(_{3}\)得到幅度可粗、细调节的正弦波信号。其他二键类推。



