识别与消色检波器以及有关电路
不同型号的IC解码器,识别与消色检波器和ACC检波器的电路设计不相同。因篇幅所限,本文仅以TA7193AP/P为例对识别与消色检波器及有关电路进行分析。
1.识别与消色检波器工作原理:TA7193AP/P的识别与消色检波器简化电路如图1所示,为了分析方便图中删去偏置电路、恒流源和集电极有源负载电路等。其中虚线左半部分Q\(_{69}\)~Q75是PAL识别、消色检波器,它实际上是一个双差分鉴相器,它在21脚的输出电压V\(_{21}\)即为比较电压。右半部分Q57~Q\(_{64}\)是识别电压形成级,Vb64=V\(_{H}\)(8.2V)是高电平参考电压,又称为“识别门限电平。”Q51~Q\(_{54}\)、Q47、Q\(_{48}\)、Q43是消色电压形成级,V\(_{b54}\)=VL(7.0V)是低电平参考电压,又称“消色门限电平。”Q\(_{69}\)是检波器的选通恒流源,它只有在负极性色同步信号选通脉冲到达期间才导通,以防止色度信号干扰。双向开关管Q49、Q\(_{5}\)0受选通恒流源Q56控制,当选通脉冲到达的Q\(_{56}\)导通使Q49和Q\(_{5}\)0的基极为低电平,这样双向管Q49、Q\(_{5}\)0均饱和导通,此时V0经R\(_{6}\)0向21脚外接电容C充电,使静态输出电平V21=V\(_{0}\)=7.6V,因电容滤波器时间常数足够大,选通脉冲过去后恒流源Q56又截止,使21脚直流电压几乎不变,故可提高鉴相灵敏度和抗干扰能力。下面只讨论选通脉冲到达期间(即色同步信号存在时)恒流源接通时的检波工作原理。识别与消色检波器有两个输入信号,两个输入信号的相位关系如图2所示。下面分三种情况讨论识别、消色检波器的具体工作过程。


(1)接收黑白电视信号时,无色同步信号输入,只有副载波送到检波器。因此双差分鉴相器无信号电压输出,检波输出电压即为静态输出电平V\(_{21}\)=V0=7.6V。因比较电压V\(_{21}\)(7.6V)高于消色门限电平VL(7.0V),即V\(_{b51}\)>Vb54,则Q\(_{54}\)、Q53截止而Q\(_{51}\)、Q52导通,这样Q\(_{48}\)( PNP管)因基极得到偏置电压而导通,恒流源Q47(PNP管)也因基极得到偏置电压而导通,Q\(_{47}\)的集电极电流IC47在R\(_{64}\)上产生的压降使Vb43升高而使Q\(_{43}\)饱和导通,则Q43集电极输出一个电平很低的消色电压去控制消色电路,结果切断色饱和度控制电路使色通道无信号输出。另外比较电压V\(_{21}\)(7.6V)低于识别门限电平VH(8.2V),则Q\(_{62}\)、Q61截止,有源负载恒流源Q\(_{58}\)、Q57的基极因无偏置电压而截止,Q\(_{57}\)截止又使Q59、Q\(_{6}\)0的基极无偏置电压而截止,因此Q59集电极无识别电压输出。
(2)接收彩色信号并且输入PAL开关方波极性正确时,则PAL开关送往识别、消色检波器的副载波相位为270°/90°,检波器的工作波形见图3(a)(b)(c)各列。为了便于观察相位,大幅度的色同步信号V\(_{BT}\)仍画成正弦波,只是把副载波VSC画成等幅方波。在NTSC行时V\(_{SC1}\)超前VBT190°,当V\(_{SC1}\)为正极性时(即图3NTSC行波形中0~t1、t\(_{3}\)~t5……期间)。从图1看出副载信号V\(_{SC1}\)加到Q73、Q\(_{74}\)的基极,则Q73、Q\(_{74}\)导通而Q72、Q\(_{75}\)截止。色同步信号由11脚加到Q70的基极,Q\(_{7}\)0和Q71组成一对差分,Q\(_{71}\)的基极加一固定偏压E2而无交流信号输入。由差分电路原理可知Q\(_{71}\)的基极信号与Q70基极信号相位相反,而Q\(_{71}\)的VC71与V\(_{b71}\)反相,则Q71的集电极信号电压与Q\(_{7}\)0基极信号电压反相。又因Q74是一个共基极放大器,则V\(_{c74}\)与Ve74同相,V\(_{e74}\)即Vc71,故V\(_{c74}\)与Vb70同相。所以色同步信号经过Q\(_{74}\)放大之后,在消色检波输出端IC的21脚(Q74集电极)得到与Q\(_{7}\)0的基极信号Vb70(即色同步信号V\(_{BT}\))同相的信号电压;当VSC1为负极性时(即图中t\(_{1}\)~t3、t\(_{5}\)~t7……期间),Q\(_{73}\)、Q74截止而Q\(_{72}\)、Q75导通,色同步信号经Q\(_{7}\)0倒相放大,又经Q75共基放大后,在IC的21脚(Q\(_{72}\)集电极)得到与Q70基极信号V\(_{BT1}\)反相的信号电压,如图3中NTSC行波形中(c)列所示的波形。从以上分析可知,当副载波电压VSC使Q\(_{74}\)导通时,在IC的21脚输出与Q70基极输入信号同相的信号电压;当V\(_{SC}\)使Q72导通时,IC的21脚输出与Q\(_{7}\)0基极信号反相的信号电压。下边文中遇到这种情况,不再重复说明。从图3中看出NTSC行的检波输出信号波形是以静态电平V0为中心而上下对称,其平均分量为无色同步信号输入时的直流输出电平V\(_{0}\)(7.6V)。在PAL行时VBT2超前V\(_{SC2}\)180°,两者互为反相,当VSC2为负极性时(即图3PAL行波形中0~t\(_{1}\)、t2~t\(_{3}\)……期间),Q73、Q\(_{74}\)截止而Q72、Q\(_{75}\)导通,输出端IC的21脚(Q72集电极)得到与Q\(_{7}\)0基极信号VBT2反相的负信号电压;当V\(_{SC2}\)为正极性时(印图3PAL行波形中t1~t\(_{2}\)、t3~……期间),Q\(_{73}\)、Q74导通而Q\(_{72}\)、Q75截止,在输出端IC的21脚(Q\(_{74}\)集电极)得到与Q70基极V\(_{BT2}\)同相的负信号电压,于是检波输出信号相对静态电子V0都是负极性波形,平均分量低于V\(_{0}\)(7.6V),如图3PAL行波形中(c)列波形。显然在NTSC和PAL相邻两行的平均电压值是低于静态电平V0(7.6V),这时实测V\(_{21}\)=6.4V,它也低于消色门限电平VL(7.0V),即V\(_{21}\)(6.4V)<VL(7.0V)<V\(_{0}\)(7.6V)<VH(8.2V),由前分析可知Q\(_{62}\)、Q61截止,Q\(_{58}\)、Q57和Q\(_{6}\)0、Q59也截止;同时Q\(_{51}\)、Q52和Q\(_{48}\)、Q47、Q\(_{43}\)均截止。也就是说,当正常接收彩色信号时,不仅无识别电压输出,也无消色电压输出。

(3)接收彩色信号输入PAL开关方波极性错误时,则PAL开关送往识别、消色检波器的副载波V\(_{SC}\)相位也例相,即由原来NTSC和PAL两行的相位270°/90°变成90°/270°(只有这种可能性存在)。此时色同步信号和副载波的相位变为,在NTSC行时VBT1超前V′\(_{SC1}\)90°,PAL行时两者同相(即相位差为0°),其鉴相工作波形见图3(a)(d)(e)各列。下边作具体分析:在NTSC行时,当V′SC1为负极性时则Q\(_{73}\)截止Q72导通,在输出端21脚得到与Q\(_{7}\)0基极信号反相的信号电压;当V′SC1为正极性时则Q\(_{74}\)导通,如上述分析,在输出端得到与Q70基极信号同相的信号电压,见图3NTSC行波形中(e)列所示的波形。由图可见检波输出电压V\(_{21}\)的波形仍以静态值V0为中心上下对称,其平均分量等于无色同步信号时的直流输出电平,即V\(_{21}\)=V0=7.6V。在PAL行时,当V′\(_{SC2}\)为正极性使Q74导通时,在输出端得到与Q\(_{7}\)0基极信号同相的正信号电压;当V′SC2为负极性使Q\(_{72}\)导通时,在输出端得到与Q70基极信号反相的正信号电压,见图3PAL行波形中(e)列的波形。从图上显然可见PAL行的平均分量高于静态电平V\(_{0}\),相邻两行的检波电压平均值V21也就高于识别门限电平值,实测V\(_{21}\)=8.4V,此时V21>V\(_{H}\)(8.2V)>V0( 7.6V)。由前分析知Q\(_{51}\)、Q52及Q\(_{48}\)、Q47、Q\(_{43}\)导通而输出消色电压去切断色度通道。又因V21(8.4V)>V\(_{H}\)(8.2V),即Vb62>V\(_{b64}\)使Q62、Q\(_{61}\)导通,Q58、Q\(_{57}\)和Q60、Q\(_{59}\)导通,于是在Q59集电极输出一个低电平的识别电压V\(_{C59}\),去置位双稳态触发器,从而校正PAL开关的工作状态,直到它在NTSC和PAL两行输出的极性正确时为止。
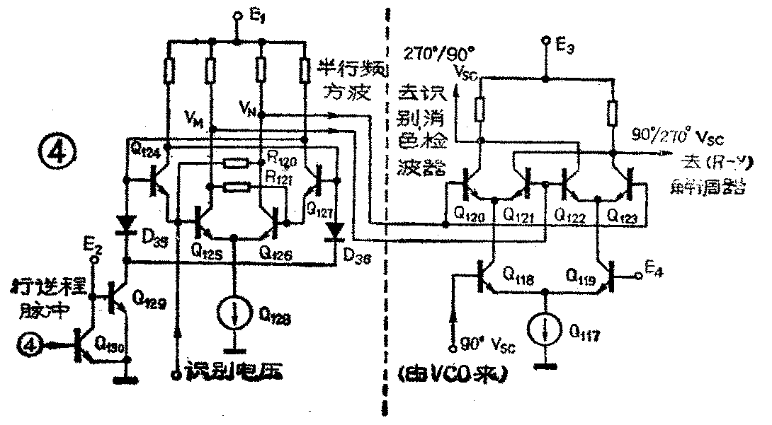
2.双稳态触发器和PAL开关:TA7193AP/P简化的双稳态触发器和PAL开关电路,如图4所示,虚线左边Q\(_{124}\)~Q130组成双稳态触发器,右边Q\(_{117}\)~Q123组成PAL开关电路。主触发器由Q\(_{125}\)、Q126、R\(_{12}\)0、R121等组成正反馈集基耦合电路,Q\(_{124}\)、Q127、D\(_{35}\)、D36组成触发器的触发导引电路。假定电源接通后电路处于Q\(_{125}\)饱和导通、 Q126截止的第一个稳态,此时V\(_{M}\)为低电平VN为高电平。当4脚无行逆程脉冲输入时,电路设计使4脚静态电平为低电平,则Q\(_{13}\)0截止又使Q129因基极电位升高而导通,此时Q\(_{129}\)集电极电位降低而使D35、D\(_{36}\)导通,又使Q124、Q\(_{127}\)因基极电位降低而截止了,这样就切断了触发导引电路,使触发器保持在第一个稳态。当4脚输入正极性行逆程脉冲时,其正阶跃前沿使Q130饱和导通,Q\(_{129}\)因基极电位下降而截止、此时D35、D\(_{36}\)因负极电位升高而截止,使Vb124、V\(_{b127}\)同时升高。但因第一个稳态(即未加行逆程脉冲)时Vc125<V\(_{c126}\),即Ve127<V\(_{e124}\),所以Q127首先导通,接着Q\(_{126}\)也开始导通则Ve126上升使V\(_{b125}\)下降,引起IC125下降使V\(_{c125}\)上升,同时引起Vb126的上升进而加速Q\(_{126}\)的导通,这个正反馈继续下去使电路很快翻转到Q125截止、Q\(_{126}\)饱和的第二稳态,这时VM为高电平而V\(_{N}\)为低电平。行逆程脉冲过去后电路维持在第二个稳态,直到下一个脉冲到来时电路再次翻转。这样触发器在4脚输入的行逆程脉冲触发下,从一个稳态到另一个稳态来回翻转,即Q125和Q\(_{126}\)轮流截止与饱和导通,使VM和V\(_{N}\)的高低电平交替变换,便产生两路反相的半行频方波送往PAL开关。

由上述分析知,当正极性行逆程脉冲没有到来时,触发器处于第一稳态;则V\(_{M}\)为低电平而VN为高电平,从图4显见PAL开关的Q\(_{123}\)、Q120导通而Q\(_{121}\)、Q122截止,则Q\(_{123}\)集电极输出与Q118基极90°V\(_{SC}\)同相的副载波90°VSC送到(R-Y)解调器。Q\(_{12}\)0集电极输出与Q118基极90°V\(_{SC}\)反相的副载波270°VSC送到识别、消色检波器,这正符合NTSC行的要求。当正极性行逆程脉冲到来时。触发器处于第二稳态,则V\(_{M}\)为高电平VN为低电平,PAL开关的Q\(_{123}\)、Q120截止而Q\(_{121}\)、Q122导通,则Q\(_{121}\)集电极输出与Q118基极90°V\(_{SC}\)反相的270°VSC送到(R—Y)解调器,而Q\(_{122}\)集电器输出与Q118基极90°V\(_{SC}\)同相的副载波90°VSC送到识别、消免检波器,这正符合PAL行的要求。这就是说PAL开关在触发器输出的方波作用下,将VCO送来的90°副载波逐行倒相,分别送到(R-Y)同步解调器和识别、消色检波器。(刘胜利)