什么叫录音机的编辑功能呢?大家平时在收听广播剧时可能注意到,剧中的一些音乐声可以随着剧情的发展而由弱到强或由强到弱地变化,有一些音乐中间还经常插入一些解说词,这些都是通过录音机的编辑功能对放音磁带进行了处理。
提到录音机的编辑功能,读者可能会想到在一些具有自动选曲或电脑选曲的高档录音机上,常常看到有一个“EDIT”键, EDIT的中文意思即“编辑”,但它的编辑功能是有限的。使用这类录音机时,如果在两首曲子中间压下EDIT键几秒钟,这时,录音头与电路断开,只有抹音头在工作,即只抹不录,磁带上便留下了一段无噪音的空白,以便电脑选曲更准确地工作。图1a示出了这种效果曲线,可以看出,它的功能是很少的,实际上只能完成一个噪音切除作用。本文向广大无线电爱好者介绍一个成本较低而功能较多的盒式磁带编辑机,它能实现图1中列出的全部功能。其中,图1a是上面谈到的噪音切除功能;图1b是使磁带上的某段声音按曲线形状进行衰减;图1c是通过编辑机可在原磁带上得到任意形状的衰减特性;图1d是实现“淡入”功能,即可使原磁带上的声音由弱渐强地出现;图1e是所谓“淡出”功能,可使原磁带上的声音由强渐弱,最后消失;图1f是利用“淡出”和“淡入”功能,将两段声音信号平滑地连接起来;图1g则是混合录音的效果曲线,它可以将一段声音信号加到原磁带的另一段声音上。本文所介绍的编辑机,不仅功能较多,而且只需两根引线,就能很方便地与各种盒式录音机连接工作。

电路工作原理
我们知道,磁带的抹音效果除了与磁带的本身特性有关外,还与抹音头上所加的超音频电压的高低成正比。在一定范围内,抹音电压越高,抹音效果越强。如果在抹音过程中我们有意地降低抹音电压,让磁带上原有的剩磁减弱,则原来磁带上的信号就会部分地抹掉,这就实现了编辑效果。如果控制抹音电压,使它按一定规律变化,则可以获得不同的编辑效果。
为了改变和控制抹音电压,最简便的方法是制作一个次级带有可变滑动头的振荡线圈。如图2所示,改变滑动触头的位置,输出电压便会平滑地变动。实际上,这种线圈很不容易自行制作,在业余条件下行不通。怎么办呢?我们考虑到超音频振荡器的输出电压的高低还与振荡器的供电电压成正比,所以我们采用了改变超音频振荡器电源电压的方法来改变振荡器的输出电压。

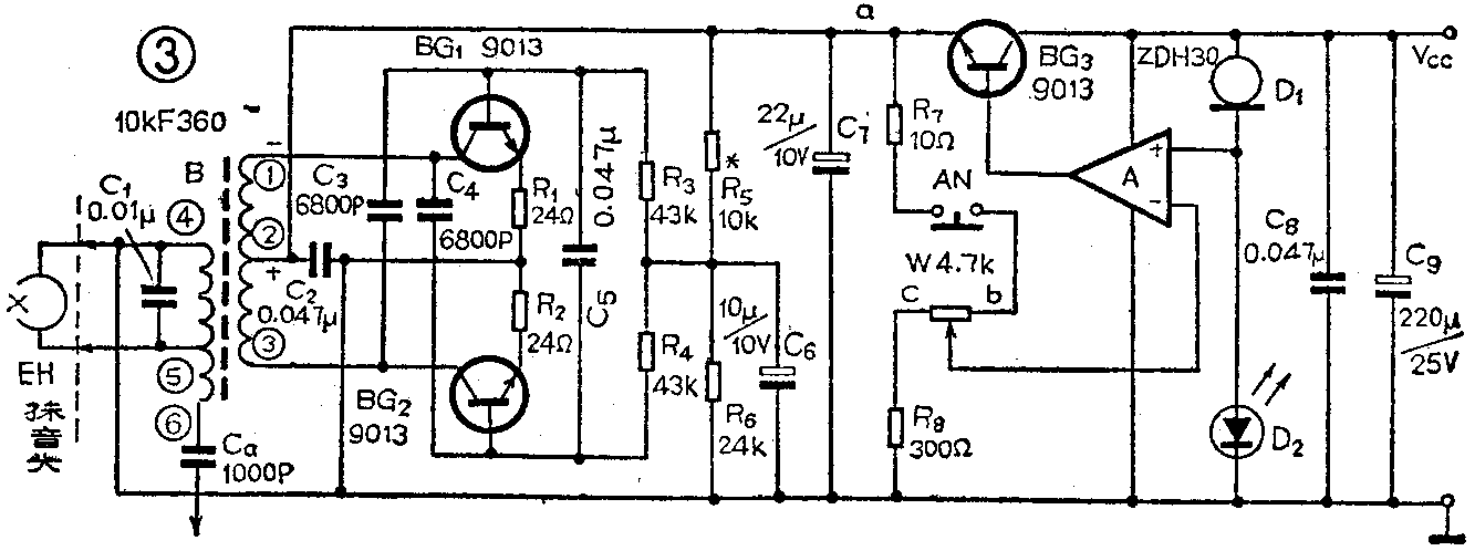
图3是一个实用电路。图中BG\(_{1}\)、BG2、振荡线圈B及一些阻容元件组成一个高性能的推挽振荡电路,这是一些收录机中常用的一个抹音振荡电路。它的特点是可以在很宽的电源电压范围内起振,输出的抹音电压波形失真度很低。图中电容器C\(_{1}\)与振荡线圈B的电感组成一个振荡回路,调节线圈B的磁芯,可以改变振荡回路的超音频振荡频率,在本电路中,超音频振荡频率调整在80千赫左右。BG1、BG\(_{2}\)连接成推挽形式,并通正反馈系统使它工作在自激振荡状态。它的具体振荡过程是这样的:当电源刚接通的瞬间,电源通过R3、R\(_{4}\)、R5、R\(_{6}\)为BG1、BG\(_{2}\)基极加上偏置电压,于是两管均趋向导通状态。由于BG1、BG\(_{2}\)两管的参数不可能完全对称,设BG1的基极电位先于BG\(_{2}\)向正方向变化,则BG1集电极电流要增大。因为这一电流要流过线圈B的初级,电流是不能突变的,所以在线圈B的初级线圈①、②两端要产生一个上负下正的反电动势(见图3),用来阻止电流的突变。这一反电动势通过C\(_{4}\)、C2、R\(_{2}\)加在BG2的发射结上,使BG\(_{2}\)发射结新加上一个反向偏压,于是BG2向截止方向变化,BG\(_{2}\)集电极电位升高,这一正变化电压又通过C3耦合到BG\(_{1}\)基极,使BG1更加导通,导致BG\(_{2}\)更加趋向截止,这是一个很快的正反馈过程。在这一过程中,线圈B初级两端感应出来的反电动势的极性一直是上负下正。这一反电动势耦合到线圈B次级,在次级线圈两端产生一个电压并开始向电容C1充电。随着BG\(_{1}\)趋于饱和,线圈B初级线圈中的电流趋于稳定,线圈B初级两端的感应电压趋向于零,次级线圈两端的电压也为零,于是已充满电荷的电容器C1开始通过次级线圈放电,放电电流在线圈B的初级要引起一个感应电压,感应电压的极性与原来正好相反,是上正下负,于是晶体管BG\(_{2}\)趋向导通, BG1趋向截止,又引起了一个正反馈过程。这样,BG\(_{1}\)、BG2轮流一推一挽的工作,电容C\(_{1}\)也不停地充电和放电,就形成了振荡。振荡频率由C1和线圈B的电感量决定,调整B的磁芯,改变电感量,就可以改变振荡频率。图3中的R\(_{1}\)、R2起稳定振荡的作用。改变振荡电路的供电电压,可以使超音频振荡电压的幅度得到改变。

由比较放大器A、晶体管BG\(_{3}\)、D1、D\(_{2}\)等构成可调稳压电源,为振荡器提供可变电压。图中D2采用了一个发光二极管,它充当一个低稳压值的稳压二极管,稳压值1.2V左右,用来作比较放大器A的参考电压。D\(_{1}\)是一个恒流二极管,恒流值3mA它的作用是可提高参考电压的稳定度。R7、R\(_{8}\)、W组成一个分压网络,调整W滑臂,可改变a点的电压,即改变超音频振荡器的供电电压。例如,当W滑臂向b端移动时,比较放大器A的反相输入端的电位上升,经比较放大后,A输出电位下降,BG3基极电位下降,内阻增加,BG\(_{3}\)管压降增大,a点对地的直流电压则降低;反之,W滑臂向c端移动时,a点对地直流电压则提高。按钮AN按下时,A的反相输入端为零电位,此时a点对地电压最高,近似等于Vcc值。
元器件选用
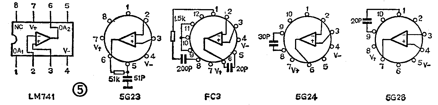
对于抹音头无特殊要求,只要是交流抹音头就可以。振荡线圈B选用10KF360型,由于初、次级线圈不容易识别,所以图4中给出了各绕组对应的直流电阻值,可供读者参考。本文中的运算放大器A选用LM741型,也可用其它运算放大器代替,如FC3、5G24、BG305等。几种运算放大器的引脚排列见图5。使用外补偿型运算放大器时,应按要求加上补偿网络。BG\(_{1}\)、BG2、BG\(_{3}\)均为硅三极管如9013,可用3DG12、3DK4、3DX204等代替,但要注意,BG1、BG\(_{2}\)的选择关系到整个电路的成败,它们β值应相等并大于80,BG3的β值应大于100。D\(_{1}\)为稳定电流为3mA的恒流二极管。电位器W最好选用指数型直滑式的。其余元件选取见图3。9~15伏直流电压可由简单的整流滤波电路提供。


组装与调试办法
印刷线路板见图6。组装时注意运算放大器A的管脚不要装反。W、D\(_{1}\)、AN可以直接固定在面板上,所有引线可采用普通软线,不需要采用屏蔽线。线路接好后,可做如下调整:

1.断开BG\(_{3}\)的发射极,在Vcc端加上9~15伏直流电压(调整时最好用电池供电),此时D2应发光。否则,应检查D\(_{1}\)、D2是否损坏。
2.测BG\(_{3}\)发射极的电位。调节W,电位应在2~7伏之间平滑变化。若有跳变现象,应更换电位器W。如果发现电压不对或电压表表针抖动,则应检查集成运算放大器A的质量。
3.接好BG\(_{3}\),用示波器观察抹音头上的电压波形。调节W,波形幅度应从零开始近似线性地增大,并且在整个变化过程中波形不应有失真现象。如果调节W时波形消失或失真,说明振荡器工作不正常,可微调R5,必要时应同时调换R\(_{1}\)、R2,或另换高β值的三极管。如果BG\(_{3}\)发射极的电压已降至2伏左右时,抹音头上仍有3~5伏的电压(峰峰值),这说明振荡器的低压性能很好,可如图7所示加一只负载电阻,问题即可解决。

4.借助示波器的频标或再接上频率计,调节线圈B中的磁芯,使振荡频率维持在80千赫左右。如果手头没有这些仪器,这一步可以省略。
5.将振荡器的两根输出引线与录音机中的抹音磁头按图3连接好,然后用一盘预先录有连续单音或音乐信号的磁带放音,并将录音机的音量电位器开到最大位置。这时调节图3中的W,使音量平滑地减弱直至消失。如果W没有调到头时,声音便已消失,则可适当增大R\(_{1}\)、R2阻值。反之,若W调到头时录音扬声器中仍有微弱声音,则可适当减小R\(_{1}\)、R2阻值。
没有仪器的读者可不进行第3、第4步调试,只要微调一下R\(_{5}\)、R1、R\(_{2}\)和Ra(见图7),同样可以达到第5步的要求。
使用方法
图8是该附加器的面板图。W滑臂拨到最左边时,BG\(_{3}\)发射极电位为2V,抹音振荡器停振。W拨到最右边时BG3发射极电位为7V,抹音振荡器输出电压最高。使用时先将W旋钮拨到最左边,接上电源,发光二极管D\(_{1}\)亮,提醒使用者机器已处于编辑状态。将录好音的磁带放入录音机并放音,调节录音机的音量电位器至适当位置,由扬声器监听编辑效果。下面介绍几种编辑方法:

1.当一首曲子放完时,如果按下按钮AN,到下一曲子开始时抬起,则磁带上这一段的噪声会被抹掉。再听这一段音乐时,便会觉得两首曲子之间很安静,这就是文章开头提到的“噪声切除”功能,见图1a。
2.一首曲子快放完时,缓缓将W旋钮向右拨到头,可听到扬声器中放出的声音由强渐弱直至消失。这就是所谓的“淡出”效果,见图1e。
3.一首曲子放音期间,如果嫌某一段信号太强,可迅速将W旋钮向右推到任一位置,保持一段时间再迅速拉回,在磁带上这段音乐的电平便会降低,如图1b。也可用任意速度推拉,这时可得到各种各样的补偿曲线,图1c就是一例。
4.一首曲子开始前,预先将W推到最右边,再慢慢向左拉到头,可听到扬声器放出的乐声由弱渐强。这就是“淡入”效果,见图1d。
5.在两首曲子中间,将W由左慢慢推到右边,再由右拉回左边,便可以将两首曲子平滑地连接起来,如图1f。
6.将消去或消弱了某段磁迹信号的磁带再次录音(录音时W应在最左边),就可得到混录的效果,如图1g。这种重复录音能够进行许多次。这样,只用一台录音机,便可以满足多声道混合录音的要求。
初次使用编辑机时,可能掌握不好推拉电位器W的快慢,往往与乐曲配合不好,只要多练习几次,就会熟练起来。
为了使用方便,最好在录音机上安装一个二芯插座,让编辑机与录音机用插头、插座形式相连接。不用编辑功能时拨下插头,原录音机的功能自动恢复。连线方式见图9。

编辑机的振荡器具有很低的失真度,线圈B的第6脚可以提供很高的输出电压。如果读者使用的是直流偏磁式录音机,为了提高录音质量,可顺便加几个元件,将直流偏磁式录音改为交流偏磁录音。图10是为立体声录音设计的电路,单声道时则只需图10电路的一半即可。使用时先接上编辑机的电源,将电位器的旋钮推到最右边,然后在录音机构放入磁带,压下录音键即可录音。(赵九泷)
