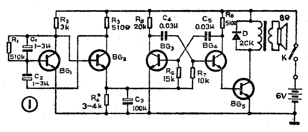
图1电路能发出模拟巡逻车警报的声响。

电路由两大部分组成,BG\(_{1}\)、BG2及有关电阻、电容组成锯齿波发生器。由BG\(_{2}\)发射极输出低频电压,其波形近似三角波,即对地电压随着时间一起一伏地作周期性变化;BG3、BG\(_{4}\)及有关电阻,电容等组成方波发生器,由BG4发射极输出音频电流,经BG\(_{5}\)放大使喇叭发出声响。变压器作阻抗变换用。
由于方波发生器产生的音频电流的频率是随BG\(_{3}\)、BG4基极电位的高低而变化的,这个电位又决定于BG\(_{2}\)输出的锯齿波电压,故本电路能发出“噢——噢”声。
改变C\(_{4}\)、C5可以改变声调,改变R1可以改变声调起伏的节奏。R\(_{4}\)阻值要在调试时决定,阻值过大则不能对方波频率产生调制作用,阻值过小也不行。其它电阻、电容值按电路中所给值即可,三极管用业余品即可,要求β>20。BG1~BG\(_{4}\)用3DG6,BG5用3DX200、3DK2或3DK4均可工作,变压器用半导体收音机输出变压器,若用推挽式,则初级圈只用半边,另半边抽头空着不用。图(1)是电原理图,图(2)是1∶1的电路板。(张宝平)
