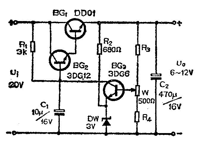
串联型稳压电源如图所示,欲使其输出电压U\(_{o}\)能在6V~12V的范围内连续可调,试确定R3和R\(_{4}\)的阻值。

想想看答案
由图可见,输出电压的调节是通过调节电位器W来实现的。当电位器W的滑动触头向上滑动时,BG\(_{3}\)的基极电压Ub3将升高,这样就使基极电流I\(_{b3}\)增大,Uce3下降,U\(_{b2}\)下降,BG1内阻增大,从而使输出电压U\(_{o}\)降低。若将W的触头滑至最上端,这时输出电压Uo为最小。反之,当将W的滑动触头向下滑动,直到滑至最下端时,其结果与上述相反,会使其输出电压U\(_{o}\)最大。另外还可看出,输出电压的调节范围是受到电阻R3和R\(_{4}\)的限制的。
为简便起见,我们设流过取样电阻R\(_{3}\)、W和R4的电流远大于流入BG\(_{3}\)基极的电流Ib3,I\(_{b3}\)可忽略不计。这样,当W的滑动触头滑至最下端时,其输出电压Uo为最大,并用U\(_{omax}\)表示,此时则有:
U\(_{b3}\)=R4R\(_{3}\)+W+R4·U\(_{omax}\)
由此可得U\(_{omax}\)=R3+W+R\(_{4}\)R4·U\(_{b3}\)………(1)
当把W的滑动触头滑至最上端时,其输出电压U\(_{o}\)为最小,并用Uomin表示,此时则有:
U\(_{b3}\)=W+R4R\(_{3}\)+W+R4·U\(_{omin}\)
由此可得U\(_{omin}\)=R3+W+R\(_{4}\)W+R4·U\(_{b3}\)………(2)
而U\(_{b3}\)=Ube3+U\(_{DW}\)=0.6V+3V=3.6V。然后将Uomax=12V,U\(_{omin}\)=6V,Ub3=3.6V,W=500Ω分别代入(1)式和(2)式,这时即可得到:
12=\(\frac{R}{_{3}}\)+500+R4R\(_{4}\)×3.6……………(3)
6=\(\frac{R}{_{3}}\)+500+R4500+R\(_{4}\)×3.6……………(4)
通过简单计算,即可解得R\(_{3}\)≈666Ω,R4=500Ω。(苏长赞)