压控振荡器VCO
为了从F\(_{U}\)和FV色度信号中解调出(B-Y)和(R-Y)色差信号,彩色电视机必须产生一个基准副载波信号,它与发送端彩色信号的调幅载波应同频同相(或反相),并与色度信号同时送到同步解调器,才能完成解调任务。通常采用压控振荡器VCO,来恢复本机解调副载波。实际电路中压控振荡器VCO与鉴相器APC和积分滤波器共同组成一个锁相环路,如图1所示。控制电压可微调其振荡频率,维持在4.43361875MHz色副载频上。

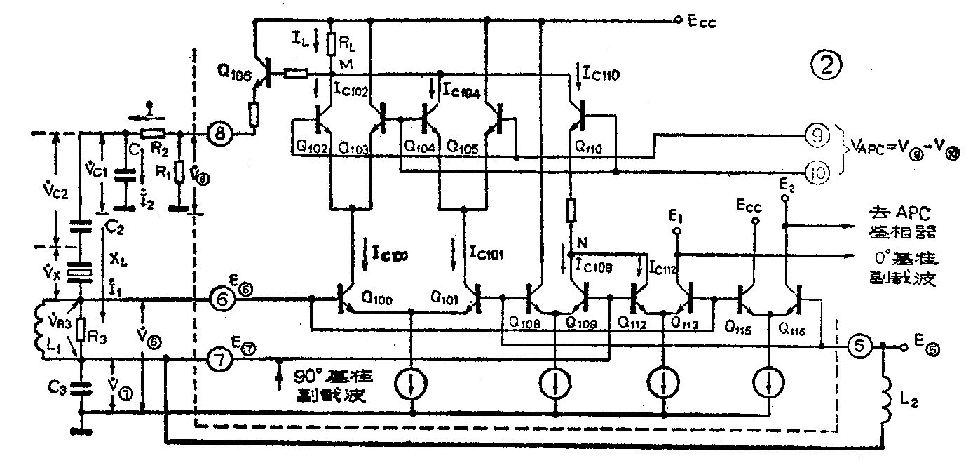
因半导体平面工艺目前还无法在集成电路(IC)内部制作电感和石英晶体等,需要外接这些元件,所以用模拟集成电路组成的压控振荡器VCO,其电路一般由两部分组成,1.IC内部的可变移相放大电路,其移相量受鉴相电压V\(_{APC}\)控制。2.IC外部包括晶体在内的移相网络。这两部分电路共同组成一个正反馈闭合回路,以满足产生振荡的条件。外部移相网络总是把IC的输出信号电压滞后移相后再送到IC输入端,为了维持振荡,IC内可变移相放大电路则把IC输入信号电压超前移相后送到IC输出端,且IC内电路的超前移相量应等于外电路的滞后移相量,以满足正反馈闭合回路总移相量为零的振荡相位条件,而幅度条件经IC内部电路放大后是容易满足的。不同型号的彩色解码系统,锁相时其压控振荡器设计的移相量不一样,如TA7193AP/P和HA11580等移相量为90°,而AN5620X和AN5622等移相量为135°。本文以最常见的TA7193AP/P为例,作一些简单的分析。经过简化的TA7193AP/P中压控振荡器VCO电路如图2所示。从图2看出,IC内部移相放大电路又分为三部分:1.双差分可变移相电路,由Q100~Q\(_{1}\)05等组成。2.与外电路始终构成正反馈的放大移相电路,由Q108、Q\(_{1}\)09、Q110、Q\(_{112}\)等组成。3.产生0°基准副载波和鉴相信号的电路,由Q113、Q\(_{115}\)、Q116等组成。接在IC的8、6、7脚的外部移相网络,包括R\(_{1}\)、R2、C\(_{1}\)、C2、R\(_{3}\)、C3和晶体X\(_{L}\),电感L1和L\(_{2}\)是为了向IC内部提供静态偏置电压,并使偏置电压E6=E\(_{7}\)=E5因L\(_{1}\)和L2电感量较大,在副载频时其感抗远大于R\(_{3}\)的阻值,故分析时可当作开路而忽略不计。

首先分析外部移相网络。由图2看出由8脚输出的信号电压,经外部移相网络移相后。反馈到输入端6、7脚。设图2中8、6、7脚对地信号电压分别为V·\(_{8}\)、V·6、V·\(_{7}\),流过R2、C\(_{1}\)的信号电流分别为I·、I·2,流过C\(_{2}\)、XL、R\(_{3}\)和C3的信号电流为I·\(_{1}\),信号在这些元件上的压降为V·C2、V·\(_{X}\)、V·R3(=V·\(_{6}\)-V·7)、V·\(_{C3}\)(=V·7)。这里使用复数符号,是因为振荡信号不但是一个正弦波,而且是一个向量。根据基尔霍夫节点电流定律和回路电压定律,可列出各信号电压和电流向量之间的基本关系式:I·=I·\(_{1}\)+I·2,V·\(_{8}\)=V·R2+V·\(_{C1}\),V·C1=(V·\(_{C2}\)+V·X)+V·\(_{6}\)。按照上述关系式可画出TA7193AP/P外部移相网络的向量关系图,如图3所示。90°基准到载波信号从7脚输入,外部移相网络C3上的信号电压V·\(_{C3}\)也加在7脚,设计使这两个电压同相,故它们的合成电压V·7只是幅值相加,在向量图上的方向为90°(图3)。因流经电容C\(_{3}\)的电流I1的相位超前其电压V·\(_{C3}\)90°,即超前V·90°。而电阻R3上压降V·\(_{R3}\)=V·6-V·\(_{7}\),与流过它的电流I1同相,所以V·\(_{R3}\)的相位也超前V·790°故I·\(_{1}\)和电压V·R3在向量图上的方向均为180°(图3)。由图2看出V·\(_{6}\)=V·R3+V·\(_{7}\),由合成法得出输入信号电压V·6的方向在向量图的第二向限。因晶体上压降V·\(_{X}\)超前I·190°,故V·\(_{X}\)在向量图上的方向为270°。又因在副载波频率时晶体感抗远大于C2的容抗,故V·\(_{X}\)+V·C2≈V·\(_{X}\),那么合成向量(V·X+V·\(_{C2}\))也可认为是指向270°。因V·C1=(V·\(_{X}\)+V·C2)+V·\(_{6}\),故合成向量V·C1处在第三象限。又因流经C\(_{1}\)中电流I·2超前V·\(_{C1}\)90°,将处在第四象限。I·=I·1+I·\(_{2}\),I·与V·R2同相,因8脚输出信号电压V·⑧\(_{=}\)V·C1+V·\(_{R2}\),由合成法得V·⑧处在第三象限且超前于输入信号电压V·\(_{6}\)一个角度φ(或说V·6滞后V·\(_{8}\)一个角度φ),如图3所示。从图3向量图可以看出,当振荡频率升高使晶体感抗增加而压降V·X变大时,因V·\(_{X}\)的模变长而使V·C1超前的相位增加,则V·\(_{8}\)超前V·6(即V·\(_{6}\)滞后V·8)的角度也变大,显然振荡频率越高,V·\(_{6}\)滞后V·8的角度也越大。

接着分析IC内部移相放大电路各信号电压及信号电流的向量关系。锁相时它能送出0°基准副载波,供同步解调器用。先看0°基准副载波是怎样形成的,输入信号电压V·\(_{⑥}\)加到Q100、Q\(_{113}\)和Q115基极,电压V·\(_{⑦}\)从7脚输入加到Q112的基极,因为Q\(_{112}\)和Q113组成差分电路,由差分电路原理可知加在Q\(_{113}\)基极的输入电压为V·6-V·\(_{7}\)。从图2上看出V·6-V·\(_{7}\)=V·R3,Q\(_{113}\)集电极上信号电压V·C113与基极电压V·\(_{R3}\)反相,由图3向量图上看出,V·C113的方向正好是0°,即Q\(_{113}\)集电极输出0°基准副波,并送往同步解调器。同理加在Q112基极上的信号电压为V·\(_{7}\)-V·6=V·\(_{R3}\),故Q112集电极输出信号电压V·\(_{C112}\)与V·R3同相,在向量图上方向为180°(参看图4a)。Q\(_{1}\)08与Q109组成差分放大器,因Q\(_{1}\)08的基极为直流偏压E5,而Q\(_{1}\)09的基极加的电压为V·7则Q\(_{1}\)09集电极信号电压V·C109与V·\(_{⑦}\)反相,如图所示。从图上可看出V·C109在相位上超前V·\(_{C112}\)90°。于是在图2中N点得到迭加信号电压V·N=V·\(_{C112}\)+V·C109,其相位在图4上处于第三象限。它又经Q\(_{11}\)0共基放大后送往输出端M点,而Q110的输出信号电压V·\(_{C11}\)0与V·N同相,见图4。

设流经双差分可变移相各管Q\(_{1}\)00、Q101、Q\(_{1}\)02和Q104及负载电阻R\(_{L}\)的直流电流分别为IC100、I\(_{C1}\)01、IC102、I\(_{C1}\)04和IL,如图2所示。因半导体平面工艺可保证IC内部相邻晶体管的参数一致,又因设计上使直流偏置E\(_{6}\)=E7=E\(_{5}\),故Vb100=V\(_{b1}\)01,IC100=I\(_{C1}\)01。又因Q101的基极只加固定偏压E\(_{5}\)而无信号电压(即V·b101=0),而Q\(_{1}\)00的基极加的信号电压为V·6-V·\(_{b1}\)01=V·6-0=V·\(_{6}\),所以流经Q100的信号电流I·\(_{C1}\)00与V·6同相;同理加在Q\(_{1}\)01基极的信号电压为V·b101-V·\(_{6}\)=0-V·6=-V·\(_{6}\),所以I·C101与V·\(_{6}\)反相。当加有鉴相电压VAPC使Q\(_{1}\)02导通时,因Q102和Q\(_{1}\)00串接而I·C102与I·\(_{C1}\)00同相。又因三极管的集电极电压与电流反相,则Q102的集电极信号电压V·\(_{C1}\)02与V6反相而处在第四象限,如图4(a)所示。当Q\(_{1}\)04导通时I·C104与I·\(_{C1}\)01同相,因Q101基极加有固定偏压E\(_{5}\),由前分析知I·C101与V·\(_{6}\)反相,即I·C104与V·\(_{6}\)反相,则Q104集电极信号电压V·\(_{C1}\)04与V·6同相并处在第二象限,如图4(a)所示。从图上显见V·\(_{C1}\)04与V·C102互为反相。从图2看出三个电流I·\(_{C1}\)02、I·C104和I·\(_{C11}\)0流过同一个输出负载电阻RL,那么通过Q\(_{1}\)06输出信号电压V·8=V·\(_{M}\)=V·C102+V·\(_{C1}\)04+V·C100,用合成法在向量图上得出V·\(_{8}\),如图4(a)所示。从图上看出V·8超前V·\(_{6}\)一个角度φ。
因APC鉴相器的控制电压V\(_{APC}\)从9脚和10脚分别加到Q102、Q\(_{1}\)05和Q103、Q\(_{1}\)04的基极,它可使IC102与I\(_{C1}\)04的大小分别按相反的方向变化,故改变VAPC就能改变V·\(_{C1}\)02、V·C104的幅值,从而改变IC内部电路的移相量,使输出信号电压V·\(_{8}\)的相位和幅值均发生变化,在反馈网络中引入附加相移,达到微调振荡频率的目的。下边分三种情况来分别讨论鉴相控制电压VAPC对IC内部可变移相电路和振荡频率的影响,其向量变化示意图如图4所示。
(1)V\(_{APC}\)=0即V9=V\(_{1}\)0,VAPC=V\(_{9}\)-V10=0(V\(_{9}\)和V10分别加到9脚和10脚的鉴相电压)时:V\(_{b1}\)02=Vb104,则I\(_{C1}\)02= IC104,故信号电流I\(_{C1}\)02和IC104在输出负载R\(_{L}\)上的交流压降V·C102和V·\(_{C1}\)04大小相等,从上面分析可知它们相位相反,因此相互抵消。此时IC的8脚输出信号电压V·8=V·\(_{C11}\)0,见图4(a)。设计上适当选择R3和C\(_{3}\)值,使在锁相(振荡频率等于色副载频4.43361875MHz)时,电容C3的容抗等于R\(_{3}\)的阻抗,又因RC串联回路中电容上电压在相位上滞后电阻上电压90°,故锁相时V·R3和V·\(_{7}\)大小相等而相位差为90°,又因V·6=V·\(_{R3}\)+V·7,由合成法求得V·\(_{6}\)在第二象限,从图上看出V·⑥与V·\(_{R3}\)的夹角正好为45°,由前分析得知V·C109在相位上超前V·\(_{C112}\)90°,又因VAPC=0时V·\(_{8}\)=V·C110=V·\(_{C1}\)09+V·C112,由合成法求得V·\(_{⑧}\)在第三象限,从图上看出V·8与V·\(_{R3}\)夹角也为45°,所以当VAPC=0时(即锁相时),IC内电路的移相使8脚输出信号电压V·\(_{8}\)超前6脚输入信号电压V·⑥90°。为了维持振荡,外部移相网络正好使它的输出电压V·\(_{6}\)滞后它的输入电压V·890°的移相量,从而满足反馈回路总移相量为零的条件。
2. V\(_{APC}\)>0(即V9>V\(_{1}\)0)时:Vb102>V\(_{b1}\)04,则IC102和I\(_{C1}\)04随着VAPC的变化分别向相反方向变化,即I\(_{C1}\)02增加时IC104反而减小,故两个信号电流在负载上的交流压降也向相反方向变化,即V·\(_{C1}\)02增加V·C104减小,它们的合成值(V·\(_{C1}\)02+V·C104)与V·\(_{C1}\)02同相,它与V·C110迭加后使输出信号V·\(_{8}\)超前V·6的角度φ>90°,如图4(b)所示。为了维持振荡,外部移相网络使V·\(_{6}\)滞后V·8的角度也要大于90°,这时只有晶体呈现感抗且工作在大于V\(_{APC}\)=0时的频率上才能实现。因此回路振荡频率就要升高,而且VAPC越大其振荡频率越高。当V\(_{APC}\)增大到使Q104截止时,I\(_{C1}\)04=0,可变移相电路的信号电流全部流经Q102,使V·\(_{C1}\)02的幅值最大,此时输出信号V·8=V·\(_{C1}\)02+V·C110,故V·\(_{8}\)超前V·6(或说V·\(_{6}\)滞后V·8)的角度也最大,则振荡频率也最高。
3.V\(_{APC}\)<0(即V9<V\(_{1}\)0)时:Vb104>V\(_{b1}\)02,则IC104>I\(_{C1}\)02,同上分析两信号电流在负载上合成的信号电压与V·C104同相,它与V·\(_{C11}\)0迭加后使输出信号V·8超前V·\(_{6}\)的角度φ<90°,如图4(c)所示。为了维持振荡,外部移相网络也必须使V·6滞后V·\(_{8}\)的角度小于90°,即晶体工作在小于VAPC=0时的振荡频率上,于是回路振荡频率就降低。V\(_{APC}\)越小振荡频率越低,当VAPC小到使Q\(_{1}\)02截止时,IC102为零,可变移相电路的电流全部流过Q\(_{1}\)04,使V·C104的幅值最大,此时输出信号V·\(_{8}\)=V·C104+V·\(_{C11}\)0,故V·8超前V·\(_{6}\)(或说V·6滞后V·\(_{8}\))的角度最小,振荡频率则最低。
综上所述,VCO电路的振荡频率是受鉴相电压V\(_{APC}\)控制,当振荡频率正确(4.43361875MHz)时,外部移相网络使V·6滞后V·\(_{8}\)90°,而IC内部移相网络使V·8超前V·\(_{6}\)90°,此时鉴相电压VAPC=0;当振荡频率偏低时,外部移相网络使V·\(_{6}\)滞后V·8的角度小于90°,为了维持振荡,IC内电路使V·\(_{8}\)超前V·6的角度也少于90°,此时由Q\(_{116}\)输出的鉴相信号送到签相器APC,通过鉴相器自动控制使VAPC>0,从而增大IC内电路的移相量,破坏原来频率偏低的振荡条件,新建立起来的振荡频率又使外部移相量相应增大,牵引振荡频率逐渐升高来满足总移相量为零的振荡条件,直到频率恢复正确值时为止。反之,当振荡频率偏高时,鉴相器自动控制使V\(_{APC}\)<0,从而减小IC内部电路的移相量,为了维持振荡,外部移相电路移相量也相应减小,振荡频率则降低,直到频率恢复正确值时为止。
其它解码电路如AN5622、M51393AP等的压控振荡器的分析,同TA7193AP/P基本相似,因篇幅所限,这里不再讨论了。(刘胜利)