鉴相器APC
彩色解码集成电路中,为了产生与发送端色副载波同频同相(或反相)的本机基准副载波信号,需要采用一个锁相环路。其环路的主要电路之一是鉴相器。集成化鉴相器APC的核心电路,一般都采用双差分模拟乘法器,因半导体平面工艺能保证同一硅片上相邻管的各项参数几乎完全一致,故用双差分电路可组成性能优良的鉴相器。
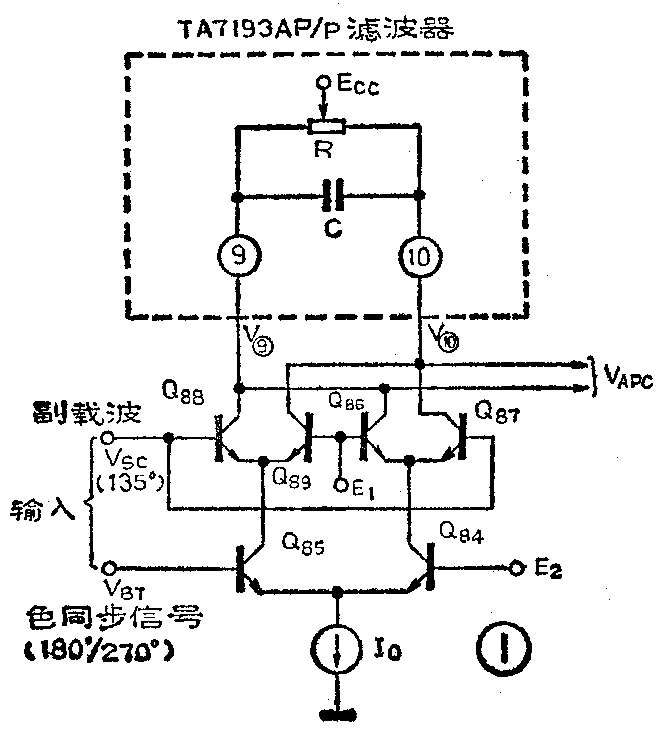
不同型号的解码集成电路,其鉴相器APC的电路形式各种各样,图1和图2分别示出TA7193AP/P和AN5622的鉴相器的简化电路图。从图中看出它们有两路输入信号,一是色同步信号V\(_{BT}\),另一个是副载波振荡信号VSC。不同的是TA7193AP/P和AN5622中,送入上部双差分管和下部差分管基极的V\(_{SC}\)和VBT正好相反。由鉴相理论得知,鉴相器在小信号输入或者两个输入信号中有一个是小信号时,鉴相输出电压与它的两个输入信号相位差的余弦成比例,即鉴相特性呈余弦。当两个输入信号均为大信号时,其鉴相特性呈线性。解码集成电路中V\(_{SC}\)和VBT都是大幅度的开关信号,故鉴相器工作在线性状态。再一个是它们的输入信号初相也不相间,TA7193AP/P锁相时V\(_{SC}\)的初相为135°且单路输入(图1)。VBT也是单路输入,由于PAL制规定色同步信号(V\(_{BT}\))相邻两行(NTSC和PAL行)的初始相位为135°/225°,VBT经IC外部45°超前移相网络移相后,相邻两行的初始相位由135°/225°变为180°/270°,故NTSC行时V\(_{BT1}\)超前VSC45°,而PAL行时V\(_{BT2}\)超前VSC135°,见图3(a)。在AN5622鉴相器中,锁相时V\(_{SC}\)是互为反相的两路输入90°/270°,VBT也是两路反相输入,相邻两行初始相位为135°/225°和315°/45°,故NTSC行时135°V\(_{BT1}\)超前90°VSC145°,而PAL行时270°V\(_{SC2}\)超前225°VBT245°,见图3(b)。从上边介绍来看这两种鉴相器的电路没有多大差异,只是信号的输入方式和初始相位不同,但对工作原理分析的思路和方法基本相似,所以本文仅以TA7193AP/P为例,详细介绍色同步信号存在期间鉴相器工作原理。首先讨论在NTSC行时的情况,在此基础上再讨论在PAL行时与NTSC行的异同点。在一行中又先讨论锁相时的鉴相工作原理,并用实线画出工作波形,在此基础上再讨论VCO副载波振荡频率偏高和偏低时的情况。下边按照上述思路进行讨论。



1.NTSC行时的分析:
(1)锁相时 图4示出色同步信号存在期间TA7193AP/P鉴相器APC的工作波形,先分析NTSC行锁相时的鉴相电压V\(_{⑨}\)和V⑩的形成。因色同步信号V\(_{BT}\)的频率和相位固定不变,故把加到Q85基极的180°V\(_{BT1}\)画在图4(a)中第①列,作为鉴相分析的基准,取0°为参考相位零点。加到Q88、Q\(_{87}\)基极的副载波VSC画在第②列,锁相时它滞后V\(_{BT1}\)45°,见图3(a)。故正半周开始的前沿t1距0点为π/4,这样整个V\(_{SC}\)的波形位置就确定了。然后利用图1简化电路,逐段(0~t1~t\(_{2}\)~t3~t\(_{4}\)~t5……)讨论并画出第③第④列鉴相输出信号波形V\(_{⑨}\)和V⑩。注意实线波形对应的时间关系:t\(_{1}\)=π/4、t2=π、t\(_{3}\)=π+π/4、t4=2π、t\(_{5}\)=2π+π/4、t6=3π、t\(_{7}\)=3π+π/4、t8=4π。注意本文只进行定性分析,同时又为了分析的方便,在图4的波形绘制中使放大了的集电极信号V\(_{⑨}\)和V⑩的幅度略大于基极输入信号V\(_{SC}\)和VBT的幅度。下边按时间段作具体的分析。

①0~t\(_{1}\):加到Q85。基极的180°V\(_{BT}\)为正极性,而加到Q88和Q\(_{87}\)基极的135°VSC为负极性,使Q\(_{88}\)、Q87均截止,Q\(_{89}\)、Q86因加有固定偏压E\(_{1}\)而导通,对射极信号来说这两个管子是共基极放大。那么Q86集电极信号电压V\(_{⑨}\)与Ve86同相,而V\(_{e86}\)即为Vc84,由差分电路原理可知V\(_{c84}\)与Vb85同相,则V\(_{⑨}\)与Vb85同相,即此时V\(_{⑨}\)与VBT同相为正极性。同理Q\(_{89}\)得到与VBT反相的电压V\(_{⑩}\)为负极性,见图4(a)中第③、④列中(0~t1)的实线波形。
②t\(_{1}\)~t2:加到Q\(_{85}\)基极的180°VBT极性不变,但加到Q\(_{88}\)、Q87基极的V\(_{SC}\)变为正极性,使Q88、Q\(_{87}\)导通而Q86、Q\(_{89}\)截止。Q88和Q\(_{87}\)对发射极信号来说也是共基极放大,同上分析得知Q88集电极电压V\(_{⑨}\)的极性与Q85基极输入电压V\(_{BT}\)反相为负极性,同理在Q87集电极得到同相的正极性电压V\(_{⑩}\),见图4(a)中第民③、④列中(t1~t\(_{2}\))实线波性。
③t\(_{2}\)~t3:加到Q\(_{88}\)、Q87基极的V\(_{SC}\)极性不变,故Q86~Q\(_{89}\)工作情况同上;而加到Q85基极的180°V\(_{BT}\)变为负极性,同上分析得知Q88集电极电压V\(_{⑨}\)的极性与VBT反相为正极性,同理在Q\(_{87}\)集电极得到与VBT同相的负极性电压V\(_{⑩}\),见图4(a)中第③、④列中(t2~t\(_{3}\))实线波形。
④t\(_{3}\)~t4:V\(_{BT}\)的极性与(t2~t\(_{3}\))时相同,VSC倒相为负极性,同0~t\(_{1}\)时的分析知Q88、Q\(_{87}\)截止而Q86、Q\(_{89}\)导通,故在Q86集电极得到与V\(_{BT}\)同相的负信号电压V⑨,而Q\(_{89}\)的集电极得到与VBT反相的正信号电压V\(_{⑩}\),见图4(a)中第③、④列中(t3~t\(_{4}\))实线波形。
⑤t\(_{4}\)~t8:又重复0~t\(_{4}\)各段的周期变化,得到锁相时NTSC行的鉴相输出电压V⑨、V\(_{⑩}\)波形,见图4(a)第③、④列的实线波形。它们绝过⑨、⑩脚外接RC积分滤波器平滑后,则分别得到图中第③、④列波形中水平方向虚线L1和L\(_{′}\)l所示的平均分量。请注意水平虚线上部的斜线阴影面积,应等于下部的阴影面积,显然在NTSC行锁相时,V⑨的平均分量为负值,V\(_{⑩}\)的平均分量为正值。
(2)不销相时 色同步信号的频率和相位保持不变,而VCO副载波的振荡频率和相位均发生变化。为了便于观察,在图中分别用水平虚线L\(_{1}\)、L2、L\(_{3}\)和L1′、L\(_{2}\)′、L3′表示在锁相时、不锁相时频率偏高(相位超前)和频率偏低(相位滞后)三种情况下鉴相输出电压V\(_{⑨}\)和V⑩的平均分量。
当VCO副载波振荡频率高于色同步信号频率时(f\(_{SC}\)>fBT)时,因为单位时间内波形变化周期数增多,因而周期缩短,故相位上比锁相时超前,即图4(a)第②列中V\(_{SC}\)波形由(t1~t\(_{3}\))左移(t1′~t\(_{3}\)′),因画面有限并为了分析方便,只画出半个周期的变化。按照与锁相时相同的分析方法,可分别得到图4(a)第③、④列中0~t1′~t\(_{2}\)~t3′等对应的鉴相输出的虚线波形。从图上看出V\(_{⑨}\)平均分量L2低于锁相时的L\(_{1}\);V⑩的平均分量L\(_{2}\)′则高于锁相时的L1′。可见NTSC行当VCO振荡频率偏高时,V\(_{⑨}\)仍为负值低于锁相时的平均值,而V⑩仍为正值但高于锁相时的平均值。
当VCO副载波振荡频率偏低时(f\(_{SC}\)<fBT),因单位时间内波形变化周期数减少,其周期拉长,故相位上比锁相时滞后,即图4(a)中第②列V\(_{SC}\)波形由(t5~t\(_{7}\))右移到(t5′~t\(_{7}\)′)。按上述相同分析方法,可得到图中t5′~t\(_{6}\)~t7′等所对应的鉴相输出虚线波形。从图上显见V\(_{⑨}\)此时的平均分量L3比锁相时的L\(_{1}\)高;V⑩的平均分量L\(_{3}\)′比锁相时的L1′低,它们的变化方向与振荡频率偏高时相反。可见NTSC行当VCO振荡频率偏低时,V\(_{⑨}\)仍为负值但比锁相时高,V⑩仍为正值比锁相时低。
2.PAL行时的分析:
(1)锁相时:PAL行V\(_{BT}\)超前VSC135°,故取V\(_{BT}\)波形为0°基准,则取3π/4为t1以确定V\(_{SC}\)波形的相对位置,如图4(b)第①、②列中实线波形所示。可按NTSC行时相同的分析方法进行逐段分析,得到图4(b)第③、④列中所示的输出电压V⑨、V\(_{⑩}\)的实线波形。以下作些简单分析,0~t1期间,Q\(_{88}\)、Q87截止而Q\(_{89}\)、Q86导通,V\(_{⑨}\)、V⑩分别是Q\(_{86}\)、Q89共基放大后的信号电压,它们分别与Q\(_{85}\)基极信号(VBT)电压同相或反相。t\(_{1}\)~t3期间,Q\(_{88}\)、Q87导通而Q\(_{89}\)、Q86截止,V\(_{⑨}\)、V⑩分别是Q\(_{88}\)、Q87共基极放大后的信号电压,它们分别与Q\(_{85}\)基极信号(VBT)反相和同相。t\(_{3}\)~t5期间,Q\(_{86}\)~Q89工作情况同(0~t\(_{1}\)),故在V⑨、V\(_{⑩}\)分别得到与Q85基极的信号(V\(_{BT}\))电压反相和同相。t5~t\(_{7}\)再重复以上的变化。
由图4(L)可见,PAL行锁相时鉴相输出电压V\(_{⑨}\)的平均分量L1为正值,V\(_{⑩}\)的平均分量L1′为负值,与NTSC行正好相反。但锁相时PAL行中V\(_{⑨}\)的正值与NTSC行中V⑨的负值大小相等,它们对⑨脚外接电容充放电的平均值互相抵消,故⑨脚相邻两行的鉴相输出电压平均值V-\(_{⑨}\)等于无信号时的静态值V0。同理PAL行中V\(_{⑩}\)的负值与NTSC行中V⑩的正值也大小相等而互相抵消,两行的平均值也等于V\(_{0}\)。因此锁相时鉴相输出误差电压为零,即VAPC=V-\(_{⑨}\)V-⑩=V\(_{0}\)-V0=0。
(2)不锁相时:当振荡频率偏高(相位超前)时,按相同分析方法,可得到PAL行的V\(_{⑨}\)平均分量L2低于锁相平均分量L\(_{l}\),V⑩的平均分量L\(_{2}\)′则高于锁相时的平均分量L1′。而频率偏高时NTSC行的V\(_{⑨}\)平均分量也低于锁相时的平均分量。因此相邻两行的鉴相输出电压对⑨脚外接电容的充放电平均值不能互相抵消,而是低于静态值,即V-′⑨<V\(_{0}\);相反,NTSC行和PAL行V⑩的平均分量均高于锁相时平均分量,故⑩脚上相邻两行的平均分量V-′\(_{⑩}\)也高于静态值V0,即V-′\(_{⑩}\)>V0。所以当振荡频率偏高时,鉴相器输出负的误差电压V\(_{APC}\)=V-′⑨-V-′\(_{⑩}\)<0,它加到压频特性为正斜率的VCO电路上,牵引振荡频率降低,直到被色同步信号锁定时为止。当振荡频率偏低时,同上分析知电路将牵引频率升高,直到锁定。(刘胜利)