用电位器调节音量时,存在着电位器易磨损、杂音较大等缺点,手感也不好。本文向读者介绍一个构思新颖的触摸式八档音量调节电路,它不用电位器,而是在面板上设置了八个金属触摸片,分成八档音量。使用者只要用手轻轻触及不同的金属触摸片,就能实现改变音量的目的。在面板上还没有八个发光二极管,可以分别指示所调得音量的档次。换档时音量变化轻松干脆,无杂音。虽然音量变化是不连续的,但通过实验证明,分成八个档级已足够适应人们的听觉需要了。如果八个档级不能满足需要,可以根据实际情况将档级增加或减少。
电路原理
音量调节电路的原理如图2所示。一般音响电路中的音量大小都是由音量电位器来调节的(见图la),前置级的输出电压加在电位器W两端,电位器的总阻值等于R\(_{a}\)+Rb,调节W中心滑动抽头,则改变了R\(_{b}\)与Ra的比值,也就改变了它们的分压比,从图la中“3”点输出的电压就得到了改变,音量也就受到调节。基于上述道理,我们可以设计图1b加那样一个电路,图中R\(_{a}\)即相于图la中的Ra,r\(_{l}\)~rn即相当于图la中的R\(_{b}\),因为r1~r\(_{n}\)的阻值不同,例如我们令r<r2<……r\(_{n}\),则rl~r\(_{n}\)与Ra的分压比也不同。当拨动开关K,使r\(_{1}\)~rn轮换接入电路时,就会使音量具有n档的调节范围。r的阻值越大,该档的音量也就越大。


图2就是采用上述原理设计的触摸式音量调节电路。图中r\(_{1}\)、r2……r\(_{8}\)分别与Ra构成八档音量调节电路。S\(_{1}\)~S8是一种CMOS集成电路双向模拟开关,它的作用是控制电阻r\(_{l}\)~r8的接通与断开。下面还将谈到,S\(_{1}\)~S8中总是仅有其中一个开关处于闭合状态,不可能几个开关同时处于闭合状态。
双向模拟开关是数字电路中常用的器件之一。每个模拟开关有一个输入端和一个输出端,且输入端和输出端相互可逆,它就相当于一个单刀开关的两个端子,可接入数字信号,也可接入模拟信号。模拟开关上还有一个控制端,当该端电平为1(高电平)时,模拟开关的两端子之间呈低阻状态,相当于开关接通。图2电路中r\(_{l}\)~r8受到S\(_{1}\)~S8这八个模拟开关的控制,也就是说,r\(_{1}\)~r8其中哪一个电阻将接地,取决于S\(_{1}\)~S8的控制端电平。
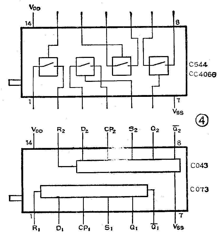
本文中所采用的模拟开关的型号为C544,它是四双向模拟开关集成块,每块内有四个开关,故采用两块C544就能满足本电路的需要。此外也可以采CC4066。应注意前者的工作电压为7~15V;后者的工作电压为3~18V。C544各脚的功能参见图4所示。

由图2可以看出,S\(_{1}\)~S8受到D\(_{1}\)~D8这八个D触发器输出端的控制。D触发器是一种有记忆功能的器件,每当在它的触发端CP端输入一个正脉冲时,就会把输入端D端的电平传送到输出端Q端,并且一直到下一次触发之前能保持此电平不变。另外,D触发器还具有置1端S和置0端R,不管CP端和D端电平如何,都能通过S或R端强制使Q端状态发生翻转。
在图2电路中,D触发器被连接成反转触发器形式,即D端与Q-端相连接。这样就使D端总是与Q端电平相反。每当CP端输入一个脉冲,都必然使Q状态翻转一次。
电路中各D触发器的CP端都通过一个10兆欧和10千欧电阻接地,以保持CP端为低电平。但在触摸电极E\(_{1}\)~E8上呈现高输入阻抗。当人手触到电极时,电极上所感应的杂散电压就会使CP端输入为1电平,造成触发器的翻转。
整个电路的工作过程如下:在电源接通时,由于触发器D\(_{1}\)的置1端S端接有Co和R\(_{oa}\),开机瞬间Co近似于短路,使得D\(_{1}\)的S极上瞬时加上一个正脉冲,将触发器D1置成1态(Q\(_{l}\)=l)。又因D2~D\(_{8}\)触发器的S端均接地,D1~D\(_{8}\)的置零端R端通过10千欧电阻Rob接地,为零电平。所以除D\(_{1}\)以外的其它几个触发器都输出零电平。这时。模拟开关S1闭合,其它几个模拟开关均断开,音量自动保持在第1档,LED\(_{1}\)发光,这就是开机后的预置状态。Co(0.lμ)电容充电完成后,D\(_{1}\)的S端相当于接地,对以后的工作不产生影响。
开机以后便可以通过触摸设在面板上的金属片来调节音量。例如,要想使音量由预置状态的第1档调到第8档,则可触摸E\(_{8}\),此时D8的CP端所感应的高电平信号使输出端Q\(_{8}\)由原0态跳变为l态。注意,这时输出端Q8的正跳变脉冲通过电容C\(_{8}\)和电阻Rob组成的微分电路,产生一个很窄的正脉冲。这个正脉冲加到0线上,因为置0线连接着各D触发器的置0端R端,所以会使原来输出为1的D\(_{1}\)触发器输出端置0,于是S1断开。其它触发器仍保持输出端置0。又由于D\(_{1}\)触发器输出端由1态变为0态再通过C1、R\(_{ob}\)微分后形成的负脉冲较窄(在10毫秒以下),远小于人手触摸电极的时间,所以在D8输出端能建立起1态电平,使S\(_{8}\)闭合,LED8发光,音量便调整到第8档。在这以后再触摸其它电极时,还会引起同样的过程,这里就不多分析了。
通过上述分析可以看出,由于图2中置0线的作用,在八个单元中,当有一个单元处于导通状态时,其它单元则都不会导通,不会出现两个或两个以上单元同时导通的情况,这样就保证了使用者可以随意调节音量。
元件选择及电路调试经验
CMOS D触发器可选用CO43(工作电压7~15V)或者CO73(工作电压3~18V),这两种型号均为双D触发器,共需四块。触发器和模拟开关集成块均可使用业余品,但要求功能要齐全。读者如果需要增加控制音量的档级,应增加D触发器和模拟开关集成电路的数量。例如,在图2电路基础上再增设一块CO43、一块C544,则可构成十档音量调节,读者可参照图2自己去加装。如果元器件选用及焊接无误,电路一般不需要调整即可工作。在与各种音响电路相配接时,可通过适当调整r\(_{l}\)~r8及R\(_{a}\)、Rb数值,使各档音量满足要求。如果是在立体声电路中加装这种触摸式音量调节电路,只需按图3电路将模拟开关集成块和r\(_{l}\)~r8等电阻的数量加倍即可,此时左、右两声道的音量可以同步调节。

在制作和调试过程中,还应注意以下几点:
1.各触发器的CP端上的10千欧电阻和100P电容的作用是防止干扰。在通往触摸片的引线太长时必须注意抗干扰问题,这一段引线最好采用屏蔽线。
2.触摸片E\(_{1}\)~E8可用比较精致的小型金属片,安装在面板的适当位置,并与各档的LED相对应。图5为一种设计方案,可供参考。

3.由于电路中的主要部分采用了CMOS器件,所以整机耗电极小,供电电压可取自音响设备的功放级电源。该电路对电源电压的高低要求不严格,如果采用CC4066和CO73,则允许的电压范围更宽,可在3~18V范围内工作。但如果上述器件选用业余品,则供电电压不宜取得过高。
4.CMOS器件负载能力不能太大,因此用CNOS器件驱动发光二极管光时,流经发光二极管的电流不能太大,一般可取2~3mA。发光二极管应选用高亮度的。图2电路中,LED的限流电阻R\(_{1}\)~R8是按10V供电设计的。(许连生)