近几年来,人们常常可以看到歌唱演员在舞台上演唱一些流行歌曲时,手里总是拿着一个小话筒,将话筒放在嘴边,边歌边舞。从扩音设备中传出的歌声,温柔、甜美,具有亲切、深沉之感。这种话筒和一般的话筒一样吗?不,这是近年来才发展起来的一种新颖的声乐话简,叫做近讲话筒,它以演唱时话筒离嘴很近而得名。
为什么要发展这种话筒呢?从日常生活中我们观察到,人们在谈话时,声音轻一些则更宜于表达各种丰富的感情,近讲话筒正是基于这个特点而发展起来的。你可以看到,演员在舞台上轻哼慢唱,能把她(他)的丰富感情凝聚在声调的细微变化之中,另一方面,话筒通过近距拾声,能把近距离的听感效果真实地收录并扩放出来,使听众听到后好象缩短了与演员之间的距离。
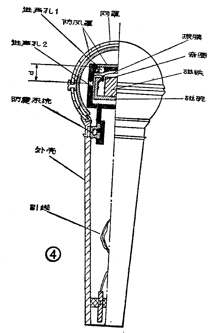
一般话筒是不能满足上述要求的,这是由于它的“近讲效应”不好。什么是近讲效应呢?我们知道,声波在传播过程中,每一个点的声压是与该点离声源的距离成反比的。用公式可以表示P=\(\frac{A}{r}\),式中P代表某点的声压,r为某点与声源之间的距离,A为含有频率成分的一个因子。图1为话筒的结构示意图,一般具有指向性的话筒,大部分功能是靠感受振膜前后进声孔的声压差来拾取声音的(如动圈话筒)。如图1所示,设前后进声孔相距为d, 两个进声孔处的声压压力差则为Q=Q;r\(_{1}\)-\(\frac{A}{r}\)2=A(1;r\(_{1}\)-\(\frac{1}{r}\)1+d)≈A\(_{d}\);r1\(^{2}\)。由上式可见,压力差Q值与r\(_{1}\)2成反比,r1越小时,Q受r\(_{1}\)的影响越大,即话筒对声音的响应越显著。在低频范围,这种效应更加明显。这种效应就叫做近讲效应,也叫做低频提升效应。从图2特性曲线中读者可以很明显地看出这种现象。


图3和图4分别画出了在动圈话筒中老式话筒和近讲话筒的结构示意图。可以看出,这两种话筒在结构上的最大差别就是前后进声孔距d值不同。由公式Q=\(\frac{Ad}{r}\)\(_{1}\)\(^{2}\)可知,d值越大,声压差Q值就越大,因而提升效应就越明显。老式话筒的d值一般要大于近讲话筒d值的3~4倍,而且在设计频响时,老式话筒在正常使用距离(0.5~1米)下频响特性是平直的,但在近用时(0.005~0.05米),由于近讲效应起作用,低频提升量又较大,使频响特性在低频段失去控制(见图5),声音就会发浑,产生失真。近讲话筒是通过选择适当的d值,并且在设计话筒的频响特性时,使低频段略有衰减,这样在近用时,近讲效应正好补足了低频,使低频略有抬高而又不失去控制,其特性曲线见图6。




由于近讲话筒的频响特性在低频段有一个峰值,可使歌唱演员的声音更加浑厚、深沉,从而大大增加了临场的亲切气氛。演员可以通过控制话筒到嘴的距离,获得丰富多变的演唱效果。当然,作为一个声乐话筒,在频响特性上不但低频段应有一个适当的峰值,在高频段也应如图6所示有一个适当的峰值,这样可使乐音层次分明。
在使用方面,近讲话筒还有如下特点;①在结构上安装了有效的防震系统,可防止使用者手持话筒时的振动噪声串入话筒;②话筒内安装有防风罩,可防止近用时使用者的呼吸气流影响话筒音质;④近讲话筒近用时灵敏度较高,高、低频特性较好,演唱者细若游丝的声音话筒也可以辨别,但是对远处的环境噪声它却很不敏感,这也是它的一个优点。
近讲话筒虽然出现的时间并不长,但目前在国外发展非常迅速,品种也较多,不仅有专为男声、女声设计的话筒,为某个演员特别设计的近讲话筒,还有专为各种乐器录音设计的话筒。近讲话筒的发展潜力是很大的。我国目前已有一些厂家正在研究和试制这种话筒,据悉国营北京第一无线电器材厂将推出一种中档的CD1—40型近讲动圈话筒,以满足国内用户的需要。(刘涛)