1.有人在测量晶体三极管的集电极——发射极的反向击穿电压时发现:当在基极与发射极之间接入一只阻值较小的电阻后,晶体管的集电极——发射极的反向击穿电压升高了。为此使它感到不解,你能解释一下这个问题吗?
2.在图(a)所示电路中,IC为理想的运算放大器电阻R\(_{2}\)=R1。请你想一下,当改变电位器的动臂W的位置时,电路的电压放大倍数K\(_{V}\)是否变化?如果变化,分别计算出RX/W=0,0.5、1时的电压放大倍数。式中R\(_{X}\)为电位器动臂到地之间的电阻。

想想看答案
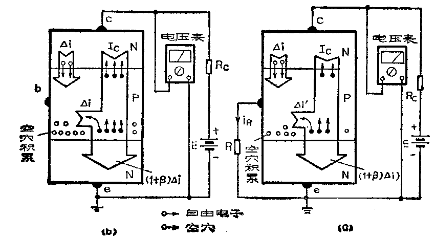
1.在基极开路时,晶体三极管ce结之间的反向击穿电压一般用BU\(_{ceo}\)表示。当在基极与发射极之间接一给定的电阻R时,三极管ce结之间的反向击穿电压通常用RUceR表示。对于NPN型三极管来说,其BU\(_{ceo}\)和BUceR的测试方法如图(a)和图(b)所示(测试PNP型三极管的BU\(_{ceo}\)和BUceR时,其集电极接负电位)。一般来说,BU\(_{ceo}\)要比BUceR小些,其原因可结合测试原理图来说明。

在基极开路的情况下,加在三极管ce结之间的反向电压,对于cb这个PN结来说是反向的,对于be这个PN结来说是正向的。因此可以认为,几乎所有的反向电压加在cb这个PN结上,而且一般所加反向电压要比PN结的正向导通电压高得多。这样,由于电子的碰撞就比较容易电离出空穴来,而这些带正电的空穴在集电极反向高压的作用下很容易越过集电结而达到基区,由于基极是开路的,空穴不能由基极转移出去,这些空穴则在发射结低电位的吸引下向发射结边界扩散。反过来又因这些空穴的作用使得发射区有大量的电子越过发射结到达基区,由于基区很薄,到达基区的电子只有很少一部分能与空穴复合,而大部分电子被集电结收集。这就是说,由于碰撞产生的Δi空穴电流,就能产生β倍Δi的电子电流,这时集电极电流与发射极电流相等,均为(1+β)Δi。这里,带正电的空穴移动的方向与电流的方向一致,而带负电的电子移动方向与电流方向相反。
当在基极与发射极之间接入给定的电阻R之后,由于碰撞电离在cb结中引起相同的空穴电流Δi时,因接在基极的电阻R的分流作用,会使一部分空穴电流i\(_{R}\)通过电阻到地,在基区需要复合的空穴的数目就减少了。也可以认为流入be结的电流Δi'比Δi小,同样集电极电流要比(1+β)Δi小些。这就表现出集电极反向电流不象基极开路时那样急剧地增大,相应的击穿电压BUceR就大于BU\(_{ceo}\)。外接在基极和发射极之间的电阻越小,三极管ce结间的耐压就越高。当将接在基极与发射极之间的电阻R短路时,ce结之间的耐压就接近于cb结之间的耐压了。它们之间的关系是:BUceo<BU\(_{ceR}\)<BUcbo。(朱小华)
2.当电位器W的动臂在任意位置时,输入信号电压u\(_{i}\)的一部分可直接经R1送到运放的反向输入端,使输出电压u\(_{0}\)'为
u\(_{0}\)'=-R2R\(_{1}\)ui=-u\(_{i}\)
同时,u\(_{i}\)的另一部分经电位器W分压后,送到运放的同相输入端,引起的输出电压u0"为
u\(_{0}\)"=RxW(1+R\(_{2}\);R1)u\(_{i}\)=2RxWu\(_{i}\)
这样,电路的电压放大倍数K\(_{V}\)为
K\(_{V}\)=u0u\(_{i}\)=(u0'+u\(_{0}\)");ui=\(\frac{2R}{_{x}}\)W-1
由上式可以看出,当R\(_{x}\)/W=0时,KV=-1;当R\(_{x}\)/W=0.5时,KV=0;当R\(_{x}\)/W=1时,KV=1。K\(_{V}\)随Rx/W变化的情况如图(b)所示。可见,当输入信号电压u\(_{i}\)一定时,改变W动臂的位置,不仅可以改变输出电压U0的大小,而且还可以改变u\(_{0}\)的相位。(吴明)