彩色解码集成电路的内电路分析,是集成化彩色电视机电路分析的重点之一。为了帮助读者了解这方面知识,本文用通俗易懂的分析方法,来解剖比较复杂的解码电路。为了抓主要矛盾,不对各种解码电路进行逐个分析,而是以国内目前使用最多的东芝TA7193AP/P具体电路中难点和要点为例进行分析,兼顾比较松下AN5622、AN5620X、日立HA11580和三菱M51393AP等。
双差分放大器
彩色解码电路中同步解调器、鉴相器和压控振荡器等许多电路的核心部分,往往采用双差分电路及其变形电路,为了简化以上电路的分析,这里先对双差分放大器的双平衡特性进行分析。双差分放大器的典型电路如图1所示,图中V\(_{i1}\)和Vi2分别为两对差放的输入信号电压,下边分几种情况讨论:

1.当V\(_{i1}\)=0、Vi2=0时,即ΔV\(_{i}\)=Vi1-V\(_{i2}\)=0,与共模输入时等效。此时Vb1=V\(_{b2}\)=Vb3=V\(_{b4}\)=Vb5=V\(_{b6}\)(Vb为各管的基极电压),则I\(_{5}\)=I6=1/2I\(_{0}\),I1=I\(_{4}\)及I2=I\(_{3}\),I1+I\(_{3}\)=I1+I\(_{4}\)=1/2I0,差分放大器输出电流I\(_{D}\)=IC1-I\(_{C2}\)=(I1+I\(_{3}\))-(I2+I\(_{4}\))=0,它的输出电压VD=V\(_{0}\)1-V02=(E\(_{cc}\)-Ic1·R\(_{c1}\))-(Ecc-I\(_{c2}\)·Rc2)=I\(_{c2}\)·Rc2-I\(_{c1}\)·Rc1=0。即:基极输入电压平衡时(ΔV\(_{i}\)=0),集电极负载输出电压也平衡(ΔVo=0)。
2.当V\(_{i1}\)=0、Vi2≠0时,BG\(_{5}\)和BG6失去平衡,设其电流变化为ΔI,则I\(_{5}\)=1/2I0+ΔI;I\(_{6}\)=1/2I0-ΔI,但因V\(_{i1}\)=0则BG1~BG\(_{4}\)仍维持平衡,I1=I\(_{2}\)=1/2,I5=1/4I\(_{0}\)+1/2ΔI,I3=I\(_{4}\)=1/2I6=1/4I\(_{0}\)-1/2ΔI,则I1+I\(_{3}\)=I2+I\(_{4}\)=1/2I0,差放输出电流I\(_{D}\)=(I1+I\(_{3}\))-(I2+I\(_{4}\))=0,可见输出仍维持平衡(即无信号输出)。
3.当V\(_{i1}\)≠0、Vi2=0时,BG\(_{1}\)~BG4失去平衡,设电流变化为ΔI',因V\(_{b1}\)=Vb4、V\(_{b2}\)=Vb3以及I\(_{5}\)=I6=1/2I\(_{0}\),则I1=I\(_{4}\)=1/4I0+ΔI'、I\(_{2}\)=I3=1/4I\(_{0}\)-ΔI',输出电流ID=(I\(_{1}\)+I3)-(I\(_{2}\)+I4)=0,输出仍维持平衡。
4.当V\(_{i1}\)≠0、Vi2≠0时,BG\(_{1}\)~BG6失去了平衡,则I\(_{1}\)~I6都发生了变化,经过推导(推导过程很烦而省略)得出:输出电压V\(_{D}\)=(I0·R\(_{C}\)/4V\(^{2}\)T)·V\(_{i1}\)·Vi2,式中V\(_{T}\)为晶体管的热电压,室温情况下约为26mV;RC即图中的R\(_{C1}\)或RC2,可见双差分电路是一个模拟乘法器,电路的输出信号电压与两路输入信号电压的乘积成正比。从上边分析又知,在双差分电路中,两路输入信号中只要有一路为零(即无变化),则输出信号电压恒为零,即输出电流保持不变。
F\(_{U}\)和FV同步解调器
由延时解调器分离出来的两个色度分量F\(_{U}\)和FV,是抑制了色副载波的平衡调幅波,如图2—①所示,其包络不再是原调制信号,因此不能用普通的二极管包络检波器检出。否则只能得到图2—②的单向脉动信号,滤波后为图2—③的信号,而不能得到图2—⑤中示出的用同步解调器检出来的原调制信号。

同步解调器(又称同步检波器)与普通包络检波器不同,它除了输入被解调的色度信号外,还必须输入一个与调制过程中抑制掉的载波信号严格同步(即同频、同相或反相)的等幅载波信号(常称为基准副载波),如图2—④所示。以保证在原载波的正峰点对平衡调幅波取样,故得到图2—⑤中原调制信号,即(B—Y)和(R—Y)色差信号。同步解调器工作原理方框图见图3,其输出信号幅度与被解调的色度信号幅度成正比,信号极性则取决于基准副载波与调幅信号载波之间的相位差,同相时为正值而反相时为负值。因两个色度分量F\(_{U}\)与FV的载波成正交关系,为满足同步解调的要求,分别送到(R—Y)与(B—Y)两个同步解调器的基准副载波也应是正交的(0°或90°)。又因色度分量±F\(_{V}\)是逐行倒相的,放送到(R—Y)同步解调器的基准副载波VSC也必须逐行倒相(两行分别为90°/270°)。

彩色解码电路有各种形式,但它的核心电路都是双差分模拟乘法器,其检波输出电压正比于两输入电压的乘积。但不同形式的同步解调器,两个输入信号电压可以单端输入,如东芝解码块。也可以双端输入,如松下解码块。输入信号加入的方式也不相同,在TA7193AP/P、HA11580、M51393AP中,基准副载波是加到上层双差分管的基极,使管子工作在开关状态,被解调的色度信号则加在下层差分管基极。而AN5620X和AN5622却相反。下面仅以TA7193AP/P和AN5622为例,具体讨论在电路上是怎样实现同步解的。
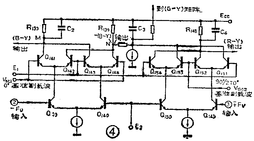
首先观察图4中简化的TA7193AP/P同步解调器,(B-Y)解调器由Q\(_{139}\)~Q144组成,(R-Y)解调器由Q\(_{149}\)~Q154组成,两个解调器线路相同。除了(R-Y)解调器的两输入信号同时倒相外,其解调原理完全相同,这里只讨论(B-Y)同步解调器,其工作波形如图5所示。由图可见,由②脚输入的-F\(_{U}\)信号加到Q139的基极,其集电极得到与基极反相的+F\(_{U}\)信号,送到Q141和Q\(_{142}\)射极,其信号波形如图5(a)所示。而在Q140集电极得到同相的-F\(_{U}\)信号,送到Q143和Q\(_{144}\)射极,其信号波形如图5(c)所示。Q142和Q\(_{143}\)基极接在一起并加有固定偏压E1,大幅度的基准副载波V\(_{SC1}\)(波形见图5(b))加到Q141和Q\(_{144}\)的基极,使Q141~Q\(_{144}\)工作在开关状态。为了便于观察相位关系,VSC1画成正弦波(实际上已限幅为方波)。每个彩条中约有30个周期的副载波,同样为了便于观察分析只画出两个周期波形。Q\(_{141}\)与Q143集电极相接点(M端)输出(B-Y)色差信号。Q\(_{142}\)与Q144集电极相接点(N端)输出-(B-Y)信号,并与(R-Y)同步解调器输出信号合并,送到(G-Y)矩阵电路。


现以彩条信号中黄条信号为例进行波形分析,其它信号的分析类推。如图5所示,当输入的0°基准副载波V\(_{SC1}\)为第一个周期的正半周时,见图5(b),这时Q141、Q\(_{144}\)导通而Q142、Q\(_{143}\)截止。此时加到Q141射极的+F\(_{U}\)信号为负半周,见图5(a)中斜线波形,它经Q141共基放大后,在M端得到与Q\(_{141}\)射极同相的负半周信号,见图5(d)中斜线波形。而此时加到Q144射极的-F\(_{U}\)信号为正半周,见图5(c),故在N端得到同相的正半周信号,见图5(e)。当输入的0°VSC1为第一个周期的负半周时,见图5(b),则Q\(_{141}\)和Q144截止而Q\(_{142}\)和Q143导通。此时加到Q\(_{144}\)射极的+FU信号为正半周,见图5(a)中带花点波形,它经过共集极放大后在N端也得到同相的正半周信号,见图5(e)中带花点波形。而加到Q\(_{143}\)射极的-FU信号为负半周,见图5(c)中黑色波形,故在M端得到同相的负半周信号,见图5(d)中黑色波形。这相当于把解调器输入的色副载频调幅波进行了全波整流,其它周期以同样的规律变化,最后得到图5(d)(e)所示的包络,又经电容C\(_{2}\)和C3滤除副载频脉动分量后,得到的信号包络即为(B-Y)和-(B-Y)色差信号。同步解调过程可看成是基准副载波信号对平衡调幅信号进行取样,即用图5(b)所示的信号对图5(a)(c)所示的信号取样后得到图5(d)(e)的信号,如果把30个周期的波形全部画出来,取样的全过程就更明显了。
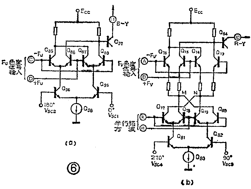
AN5622中简化的FU同步解调器如图6(a)所示,它与TA7193有两点不同:①输入解调器的色度信号是±F\(_{U}\)两路,为解出(B-Y)色差信号而锁相时,送到解调器的基准到载波VSC也是两路(0°/180°)。②色度信号F\(_{U}\)是加在上层双差分管基极,它们并不工作在饱和限幅的开关状态,否则解调会失真。而大幅度的0°/180°基准副载波VSC加到下层差分管基极,使之工作在开关状态,它利用了双差分电路的乘法特性,完成色度信号的同步解调功能。AN5622中的F\(_{U}\)信号同步解调工作波形见图7,当加到Q95基极的0°V\(_{SC1}\)为第一周期正半周时,见图7(d),Q95导通;同时加到Q\(_{94}\)基极的180°VSC2第一个周期为负半周,见图7(b),则Q\(_{94}\)截止,因此Q85、Q\(_{86}\)截止而Q87、Q\(_{88}\)导通并通过信号电流,此时从加到Q88基极的-F\(_{U}\)信号,见图7(a)中斜线波形,它经Q88倒相放大后变为负半周,从解调器输出端输出(B-Y)信号,见图7(e)中斜线波形。而经Q\(_{87}\)放大的+FU信号不输出。当加到Q\(_{94}\)基极的180°VSC2为第一个周期正半周时,见图7(b),而0°V\(_{SC1}\)为负半周,见图7(d),则Q94导通而Q\(_{95}\)截止,这时Q87和Q\(_{88}\)截止,而Q85和Q\(_{86}\)导通而通过信号电流。此时从到Q86基极的+F\(_{U}\)信号为正半周,见图7(c)黑色图形,故在解调器输出端得到负半周信号,见图7(e)中黑色波形。其它周期以同样的规律变化,最后得出图7(e)所示的负包络,经Q97以及外接在脚的电容滤除副载频分量后,在脚输出(B-Y)色差信号。


AN5622中的F\(_{V}\)同步解调器如图6(b)所示,与FU解调器不同之处在于:该电路由Q\(_{77}\)~Q80组成的PAL开关输入端加的是半行频方波,使两个基准副载波逐行倒相,以完成±F\(_{V}\)的同步解调。FV信号的同步解调工作波形见图8,它是以NTSC行时青条为例进行分析绘制的。

设NTSC行时从加到Q\(_{75}\)、Q74基极的信号是+F\(_{V}\)(PAL行时为-FV),从加到Q\(_{73}\)、Q76基极的信号是-F\(_{V}\)(PAL行则为+FV)。此时从到PAL开关的方波为高电平而从入的方波为低电平(PAL行时则反相),270°V\(_{SC4}\)和90°VSC3分别加在Q\(_{81}\)和Q82的基极,在半行频方波作用下,通过PAL开关加到Q\(_{75}\)、Q74的射极,与加的±F\(_{V}\)共同完成FV同步解调。类似F\(_{U}\)解调的分析可得到图8FV同步解调工作波形,结果在⑩脚输出(R—Y)色差信号。(刘胜利)