伴音通道
从集成电路HA11215的②脚输出的全电视信号通过L\(_{4}\)01和C401送出,再经过陶瓷滤波器MF401(见图4),滤去视频信号,只取出6.5MHz伴音中频信号送到伴音集成电路HA1124A的②脚。此集成电路完成伴音中频放大、鉴频以及音频放大,最后送到音频输出级进行功率放大后推动扬声器放音。下边分别对各部分电路进行分析。

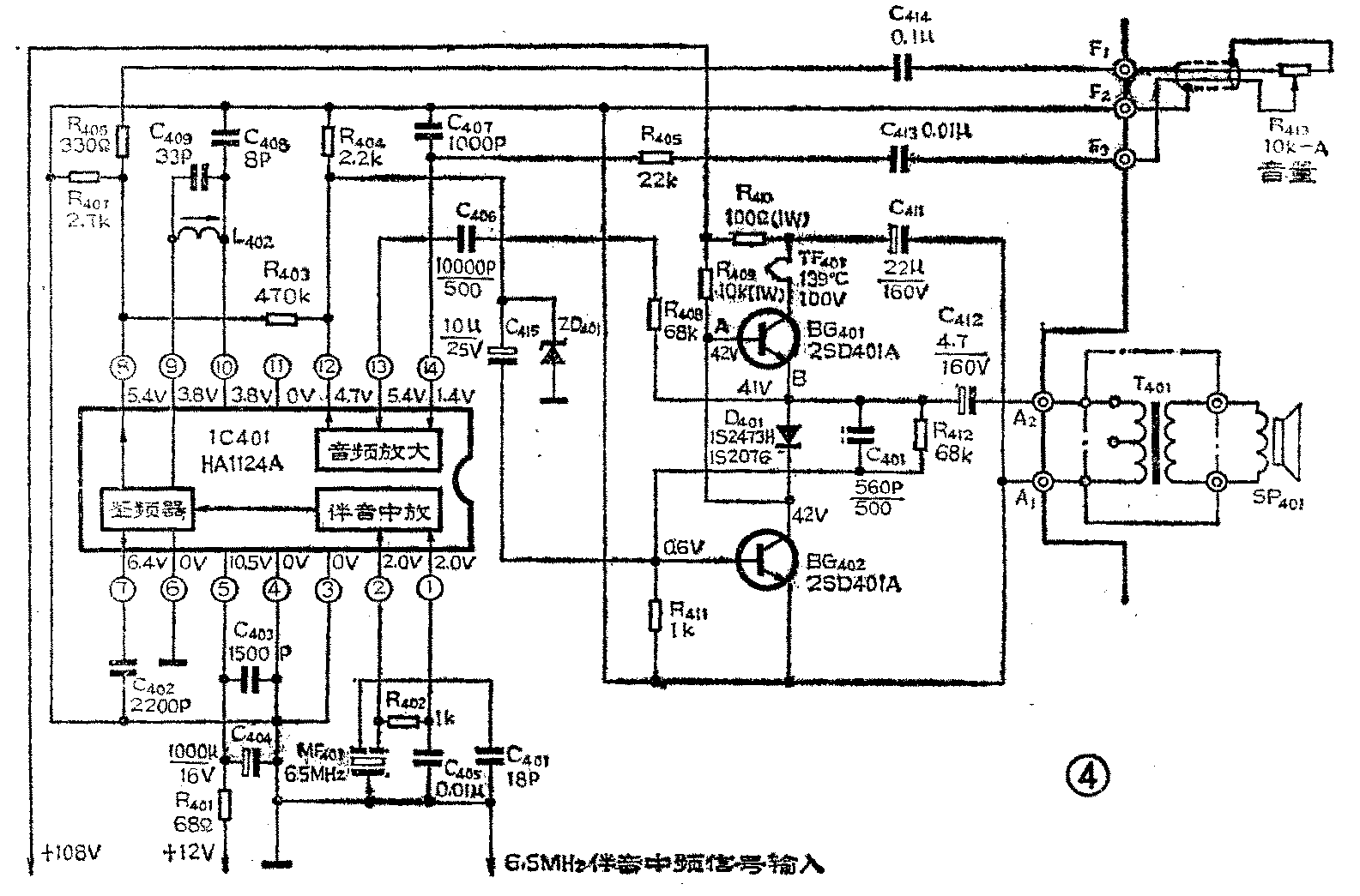
1.伴音中放和鉴频器:从集成电路HA1124A的②脚输入的6.5MHz伴音中频信号输入到伴音中放,该放大级由三级差放组成并加有很深的直流负反馈,故电路工作很稳定。①脚接的电容C\(_{4}\)05使伴音中频信号不产生负反馈,因此伴音中放级有较高的增益,约70dB以上。从图4看出,经过伴音中放限幅放大的信号送到鉴频器,⑨脚和⑩脚接有由L402、C\(_{4}\)09和C408组成鉴频器的谐振回路,调节L\(_{4}\)02会改变鉴频特性曲线的对称性。⑥脚为鉴频器接地点。⑦脚外接电容C402为鉴频器的调频去加重电容,用来滤除鉴频输出的剩余中频成分和衰减音频中的高频成分。⑧脚外接电阻R\(_{4}\)07为鉴频放大器的负载电阻。脚和⑧脚间接有电阻R403,把从音频放大器取出的负反馈信号加到鉴频放大器。
2.音频放大器:鉴频器输出的音频信号经放大后,从⑧脚输出到由R\(_{4}\)06、C414和电位器R\(_{413}\)组成的音量调节电路,音频信号从音量电位器中心端输出后经C413和R\(_{4}\)05从脚送回集成电路内的音频放大器进行放大。脚外接的R405和C\(_{4}\)07是滤除音频信号中的15KHz以上的高频分量。放大了的音频信号从脚输出,通过耦合电容C415加到音频输出功率放大器的BG\(_{4}\)02的基极。脚对地接稳压管ZD401是为了防止当音频输出电路发生故障时,可能引起的高压通过脚进入HA1124A而造成集成电路损坏。脚外接R408和C\(_{4}\)06,把音频输出电路引出的负反馈信号送到音频放大器,以改善音频输出电路的非线性失真。
⑤脚为集成电路HA1124A的供电输入端,外接的C\(_{4}\)03、C401和R\(_{4}\)01为去耦滤波电路,电源+12V通过R401降压后使集成电路的电源电压为10.5V。③脚和④脚为HA1124A的接地端。
3.音频输出电路:C37—401的音频输出电路采用了两只塑封功率管BG\(_{4}\)01和BG402组成分路型推挽输出电路。为了保护电源和功率管,在BG\(_{4}\)01的集电极电路中接入一个139°C过温保险丝TF401,它和BG\(_{4}\)01的集电极散热板紧连在一起,使TF401与BG\(_{4}\)01的集电极有相同的温度,当BG401的温度超过139°C时,保险丝TF\(_{4}\)01就熔断,避免了功率管和电源的损坏。
分路型推挽输出电路与一般的推挽输出电路相比,电路简单,只需采用一对同类型NPN管,而且工作稳定。
从图4中看出,R\(_{4}\)09是BG402的集电极负载电阻,也是BG\(_{4}\)01的基极偏流电阻。R412和R\(_{411}\)是BG402的电压负反馈电阻,也是BG\(_{4}\)02的偏置电阻。设计制造时适当选择R409、R\(_{411}\)和R412的数值,使BG\(_{4}\)01处于微导通状态,而BG402处于甲乙类状态。此时BG\(_{4}\)01的发射极电压近似为电源电压的一半,约41伏。当加到BG402的基极信号为负半周时,BG\(_{4}\)02的集电极电流下降,同时增益变小。则A点电位上升使BG401的基极电流增加而导通,经BG\(_{4}\)02放大的音频信号在它的集电极负载R409上形成输出电压而加到BG\(_{4}\)01的基极,经过BG401放大后从发射极输出,通过C\(_{412}\)、T401的初级到地形成回路,经过T\(_{4}\)01的耦合使扬声器得到负半周音频信号。此时由于A点电位高于B点电位使D401处于反向偏置而截止,则BG\(_{4}\)02放大输出的信号不能通过C412和T\(_{4}\)01的初级形成回路。当输入信号为正半周时,BG402的集电极电流上升而A点电位下降,因而BG\(_{4}\)01的基极电流下降,下降到一定值时BG401便截止。这时因A点电位比B点电位低,D\(_{4}\)01处于正向偏置而导通。信号经过BG402放大后从集电极输出,通过D\(_{4}\)01、C412和T\(_{4}\)01的初级到地形成回路,同样通过T401的耦合而使扬声器得到正半周信号。通过BG\(_{4}\)01和BG402的轮流输出,使扬声器得到完整的音频信号。由于功率放大级采用的电源是整机的主电源为+108伏,所以负载阻抗要求很高,约500Ω左右,因扬声器没有这么高的阻抗,所以必须用变压器T\(_{4}\)01进行阻抗匹配。
由上分析可见,音频输出级在输入信号为负半周时,经BG\(_{4}\)02放大的音频信号再经过BG401放大才输出功率;而在输入信号为正半周时,经BG\(_{4}\)02放大的音频信号直接输出,所以输出的音频信号波形失真较大。显然这样的电路不加负反馈是不行的,为此该电路设有两路负反馈,一路是通过R412把B点的直流电压反馈到BG\(_{4}\)02的基极,稳定BG402的直流工作点。另一路是通过R\(_{4}\)08和C406把B点输出的音频信号的一部分反馈到集成电路IC\(_{4}\)01的脚,加到集成电路内部音频放大器的负反馈输入端。调整R408的阻值,可以改变负反馈量的大小,在生产或日常修理中,通过调节R\(_{4}\)08的阻值,使伴音输出的失真最小。(全文完)(朱元芳)