编者按:本刊收到不少参加今年V-MOS管有奖制作比赛的读者来信,希望近期内在杂志上介绍测试V-MOS场效应管的参数的简易仪器,以便对V-MOS管配对使用。现介绍如下一种测量方法,供读者参考。
本装置电路很简单,配合示波器使用,可以逐条定量地观测各种功率的场效应管(包括V-MOS管)的输出特性曲线。并可借助示波器屏面上的刻度,直接读出被测管的跨导gm、导通电阻R\(_{on}\)、闽电压Vth、漏源电流I\(_{DS}\)以及漏极饱和电流IDSS等参数。通过它可以较方便地选择配对管。
主要性能
Y轴:漏极电流,共分1、10、400mA/度三档。X轴:漏极电压共分1、2、5V/度三档;栅极阶梯信号:①阶梯电压,1伏/级,共10级(逐级调节)。②极性选择,分正、负两档;4、漏极扫描信号:①峰值电压0~50V(正或负)连续可调。②电流容量4A(峰值)。③功耗限制电阻0~50千欧连续可调。
电路原理

图1为测试原理方框图,可以看出,附加器部分主要由阶梯电压调节器和漏极扫描电压发生器组成。由阶梯电压调节器向被测管输入可调变的U\(_{GS}\)后,被测管的漏极回路便可产生一个对应的漏极电流ID,其大小为ΔU\(_{GS}\)的gm倍,g\(_{m}\)为被测管的跨导值。漏极扫描电压发生器产生频率为100Hz的正弦半波扫描电压,经功耗限制电阻R加到被测管的漏极。被测管的漏极电流通过取样电阻RS,加到示波器的Y输入端。随着阶梯电压的逐级调整,在示波器屏面的Y轴方向便可逐个显示出各个阶梯电压所对应的漏极电流值。漏极与源极之间的电压从漏极分压电阻W中心抽头取出,输入到示波器X轴输入端,在示波器屏面的X轴方向显示出漏极电压的数值。于是在屏面上可以显示出在某一U\(_{GS}\)时被测管所对应的一条输出特性曲线,即漏极电流随漏源电压变化而变化的曲线。

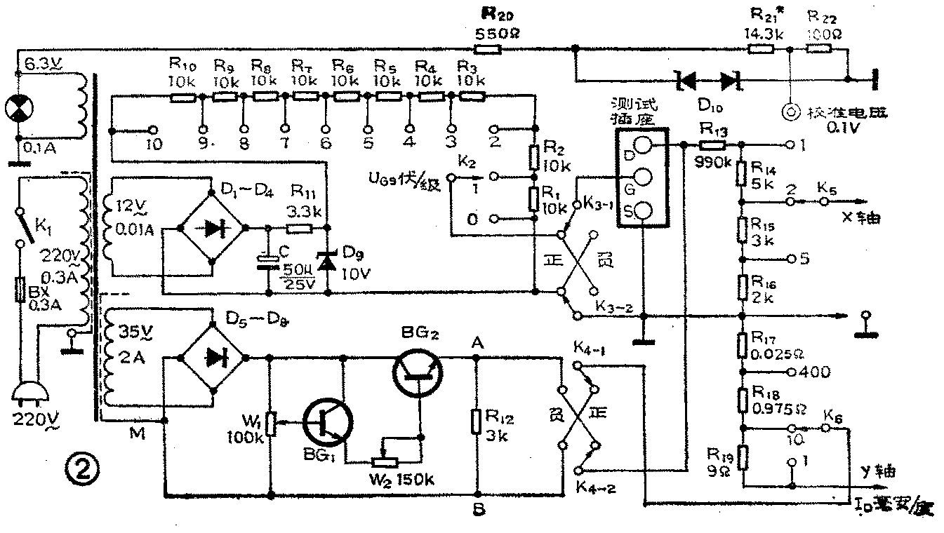
图2为附加器的详细电路图。工作原理如下:
1.阶梯电压调节器:电源变压器次级提供的12伏交流电压,经D\(_{1}\)~D4全波整流,再经电解电容C滤波,经电阻R\(_{11}\)限流后送给稳压管D9(D\(_{9}\)稳压值为10V),在D9两端得到一个非常稳定的10V直流电压。这个电压经电阻R\(_{1}\)~R10进行分压,通过开关K\(_{2}\)进行阶梯电压大小的选择,再经阶梯输出极性选择开关K3进行阶梯极性选择,而后输送到被测管栅极和源极之间。由于电阻R\(_{1}\)~R10为10只相同阻值(10千欧)的电阻器,因此K\(_{2}\)每变换一个档位,输出的阶梯电压就变化1伏,在测试时可逐级调节进行测试。
2.漏极扫描电压发生器:它由整流和调压两部分组成。D\(_{5}\)~D8构成全波桥式整流电路,输出频率为100Hz的正弦半波电压,经W\(_{1}\)构成一个回路。本装置由BG1和BG\(_{2}\)复合组成射随器进行调压。BG1基极接W\(_{1}\)中心抽头,当中心抽头位置改变时,BG1基极电位随之变化,BG\(_{2}\)发射极电压(扫描输出电压)也随之变化。扫描电压的极性由K4进行选择后输出。
当W\(_{1}\)中心抽头滑至下端时,即BG2基极电位为零时,BG\(_{2}\)的c、e结仍有漏电流通过,由R12泄放。
图2中的W\(_{2}\)和BG2配合起来起漏极功耗限制电阻的作用。当W\(_{2}\)阻值调至零时,BG2的c、e结之间的等效电阻较小,此时可以输出大电流;当W\(_{2}\)阻值逐渐加大时,BG2 c、e结之间的等效电阻也随之加大,输出电流将受到限制。
元件选择
图2中,D\(_{1}\)~D4选0.1A、25V的一只全桥,D\(_{5}\)~D8选2A、50V全桥。D\(_{9}\)选标准10V稳压二极管,稳压值一定要准确,否则会影响阶梯电压的准确性。D10为一只2DW232双向稳压管,稳压值为6V左右。BG\(_{1}\)的β应大于150,BVceo>50V,P\(_{CM}\)>500毫瓦。BG2的β应大于50,BV\(_{ceo}\)>50,PcM>40瓦,I\(_{CM}\)≥5A。只要满足以上要求,BG1、BG\(_{2}\)选任何型号的NPN管即可。所有分压、分流电阻如R1~R\(_{1}\)0、R13~R\(_{19}\)的阻值要尽量准确。R17、R\(_{18}\)的阻值较小,不容易买到成品,可用电阻丝自绕。在业余情况下,可用万用表R×1档取一段阻值为1欧的电阻丝,用尺子量出其长度,按照阻值与长度成正比的关系,截取总长的1/40,阻值即为0.025欧(应留出两端焊接的长度)。其它阻值也可按此法截取。将截好的电阻丝绕在一根小棍上成线圈状,脱胎后拉一定间距即可。以上各个电阻器的功率除R12选1瓦以外。其余的均可选1/8瓦的。W\(_{1}\)、W2选功率为1瓦的碳膜电位器。
电源变压器的功率容量应大于70瓦,初级与次级之间应设有屏蔽层并接地。为了保证测试精度,在漏极扫描电压35V~绕组外层也设了屏蔽隔离层,该屏蔽层应接到图中M点,不直接接地。
K\(_{2}\)用1×11的波段开关,K3、K\(_{4}\)均使用2×2钮子开关。应注意的是通过K4的峰值电流有4安左右,K\(_{4}\)应满足这个要求。K5用1×3波段开关。因通过K\(_{6}\)的电流峰值也达4安左右,因此K6可选3×3波段开关,将其三组接点并联起来作为一组使用。
安装与调试
阶梯电压调节器的作用是提供可调的准确U\(_{GS}\)值,因此D9两端的10V电压要认真调准。将这部分电路接好后,将电流表串接在稳压二极管D\(_{9}\)的支路中,调整R11阻值,使电流表指示在10毫安处即可。
漏极扫描电压发生器接好后,可在输出端(即图2中A、B端)接一个电压表,将W\(_{2}\)调到0阻值处,调W1时,电压表指示应在0~35V(峰值50V)之间变化。分压和分流电阻可直接焊接在相应转换开关上。
为了保证测试精度,本装置特设了一个0.1V的校准信号。应注意的是,这个校准信号是削波的峰峰电压,不能用普通电压表去测量。在业余条件下,可如图3所示用一节干电池,利用电阻和电位器进行分压,由电阻两端输出信号电压,调节电位器并用万用表监测使输出校准电压为0.1V,然后将此电压输入到普通示波器的Y输入端,记下Y轴方向的偏转长度。再改为将附加器的校准信号输入至示波器的Y输入端,调整R\(_{21}\),使其Y轴偏转长度与用电池时偏转长度相等,这时附加器的校准信号就算调好了。(有关该附加器的具体使用方法待续)。(张军)
