在收录机上增加各种功能是当前收录机发展的一大特点。双卡收录机的问世虽然给使用者复制磁带提供了不少方便,但人们更希望将复制速度提高一些,于是出现了具有倍速复制功能的收录机。本文将以日本夏普公司的产品GF—700、GF—800为例,说明倍速复制电路的工作原理。
对于倍速复制的要求,一般着重于两点:从复制效果上看,它应和常速复制的效果相同或接近;在使用方面,它不仅应操作简单,而且应具有防误动功能。

通常双卡收录机的常速复制电路的方框图如图1所示。它的简单工作过程是:原声带的信号由放音卡的磁头拾取,经过放音均衡放大电路补偿放大后,又由线路放大电路再次放大并送给录音放大电路,信号在此要经过录音补偿与放大,最后由录音卡的录音头将信号记录在空白磁带上。

本文将要谈到的倍速复制电路,是在常速复制电路的基础上,再另加设一部分电路来满足倍速复制的要求。这部分电路的方框图如图2所示。图中的控制电路是产生和输出控制信号的,此信号用来同时控制电机转速控制电路、放音补偿电路和录音补偿电路。使它们在倍速复制时,电机转速为常速的两倍,放音补偿与录音补偿电路能工作在倍速补偿状态。防误动电路用来约束控制电路,使控制电路只能在复制状态时输出倍速控制信号。下面分别叙述这几部分电路的工作原理。
1.控制电路:控制电路是由使用者通过“复制速度”选择开关(DUBBING SPEED)(以后简称“复制开关”)来操纵的。它能在常速和倍速复制时分别输出高、低两种电平的控制信号。这是由于被控电路一般都以晶体管作为控制器件,这两种电平可满足晶体管工作在开关状态。工作时只要转换这两种电平,便可改变复制的状态。在常速时,提供电机转速控制电路和录音补偿电路以高电平控制信号,而放音补偿电路则供给低电平控制信号。若变为倍速时,前两个电路又需要低电平控制信号,而后者则需高电平控制信号。

通常最简单的控制电路如图3所示。开关K的中心刀位接电源正极,A、B端为电路输出端。当开关K打到常速位置时,A端输出高电平,B端输出低电平;而开关K打到倍速档位时,两个输出端的电平正好翻转。图中的晶体管是为配合防误动电路而设置的,它的具体作用将在后面谈到。

日本夏普公司的GF—700、GF—800的控制电路分别如图4、图5所示。图4中,复制开关SW201—B的中心头接电源正极。当它处于常速位置时,高电压加不到Q\(_{762}\)的集电极。这时由于Q761截止,A点为高电平,而B点为低电平。倍速时SW201—B使E\(_{2}\)的高电压加到了Q762的集电极,使得Q\(_{761}\)导通。这样A点变为低电平,B点则变为高电平。

图5中的SW7—B为复制开关,SW9—A为功能选择开关中的“磁带”开关。只有SW9—A处于接通状态时,控制电路才能产生倍速信号。它的电路原理基本与图3相同,读者可自行分析。
2.电机转速控制电路:通常录音机芯所使用的电机只有一种转速。这种电机只要有稳速电路稳定其转速就可以了。而倍速复制要求电机能稳定地工作在常速及倍速两种状态。人们常使用直流电机稳速集成电路来达到这一目的。这种集成电路目前有许多种型号,本文向读者介绍较为常见的LA5512(LA5511)。它的典型电路如图6。

图6中LA5512的内部电路中(图中虚线框内)设有一个稳定度很高的参考电压V\(_{ref}\)。参考电压的一端由①脚引出,通常经过一个阻值较小的RT接于电源的正极。而另一端则接在电压比较器的反相输入端。这样就使得电压比较器的反相端与电源正极之间有一个非常稳定的基准电压。从而可以与加到同相输入端的外来电压进行比较。这个外来电压来自电位器W的滑臂,也就是从①、③脚电压V\(_{1}\)-3分压后取得。改变电位器滑臂的位置会将改变A点电位的高低。在电机转速稳定的时候,LA5512中电压比较器的两个输入端A、B的电位非常接近,于是V1-4≈V\(_{ref}\)。如果VA≠V\(_{B}\),即V1-4≠V\(_{ref}\),这个差动电压便会使电压比较器的输出端的C点电位VC变动。V\(_{C}\)又控制调整管使③脚电位V3向着能使V\(_{1}\)-4=Vref的方向变动。直到两者相等后电机又能稳定地运转了。我们正是利用这一特性来实现电机的变速与稳速。
例如:电位器的滑臂向上移动,使V\(_{1}\)-4减小,A点电位VA上升,于是导致V\(_{C}\)上升、V3下降。V\(_{3}\)的下降又会使V1-4增大。当V\(_{1}\)-4又等于Vref时,V\(_{3}\)就不再下降了。此时的V3比移动电位器滑臂之前的V\(_{3}\)要低,即V1-3变高了,而电机两端的电压正取自V\(_{1}\)-3,因此电机后来的转速要比原先的快。
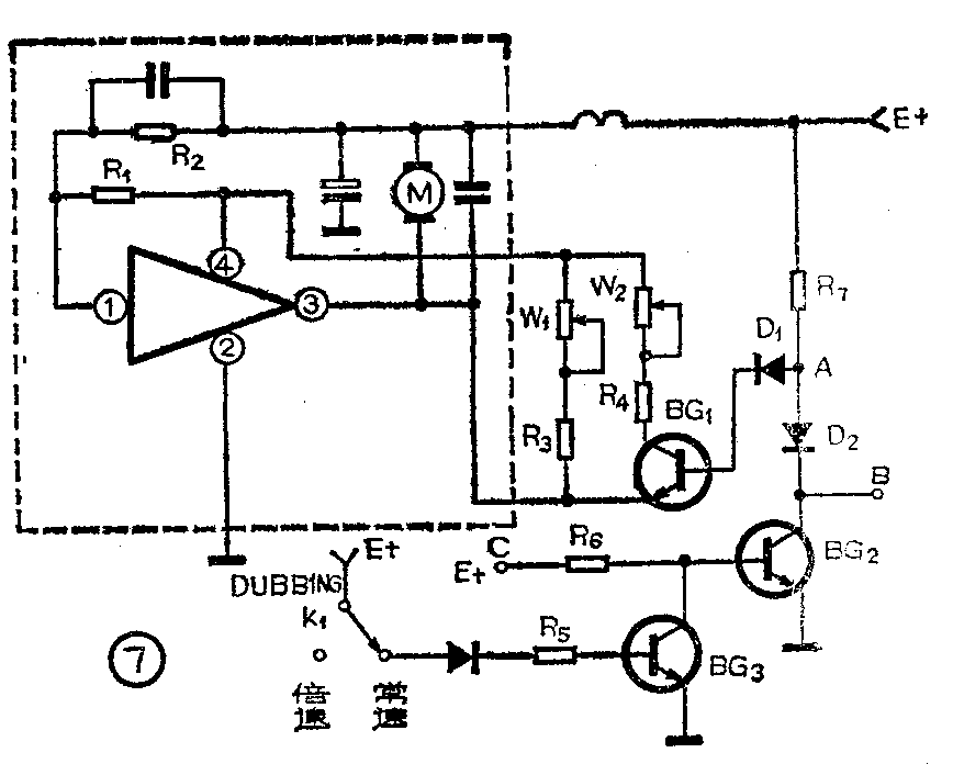
对于上述的变速原理,我们也可以用下述方法进一步说明:因为V\(_{1}\)-4=Vref=\(\frac{R}{_{A}}\)(RA+R\(_{B}\))·V1-3,所以V\(_{1}\)-3=Vref(1+R\(_{B}\);RA)。由上式可见,电机两端的电压V\(_{1}\)-3与Vref及R\(_{B}\)/RA成正比。V\(_{ref}\)设计得非常稳定,可以认为是不变的,所以电机的转速就只取决于RB与R\(_{A}\)的比值。只要改变RA或R\(_{B}\)中的任一个的阻值,就可以达到改变电机转速的目的。实际的变速电路是利用开关管改变RB的阻值,来得到两种不同的转速,如图7所示。

图7电路中的R\(_{1}\)相当于图6中的RA,而图6中的R\(_{B}\)在图7中则由W1、R\(_{3}\)和W2、R\(_{4}\)担任。当复制开关K1处于常速档位时,高电平控制信号加到了BG\(_{3}\)的基极使BG3导通,BG\(_{2}\)截止,电源电压E+通过R\(_{7}\)、D1加到BG\(_{1}\)的基极使BG1导通。此时W\(_{2}\)、R4及BG\(_{1}\)支路并联到W1、R\(_{3}\)支路上,总电阻(即RB)小则转速低;当K\(_{1}\)打到倍速档位时,BG3截止,BG\(_{2}\)导通。BG2的集电极把A点箝位在1V以下,这又使BG\(_{1}\)截止。于是W2、R\(_{4}\)支路与W1、R\(_{3}\)支路脱开,只由W1、R\(_{3}\)构成RB,此时总电阻阻值增大,转速加快。
以上便是电机转速控制电路的基本原理。GF—700、GF—800的这部分电路与图7基本相同,它们只是没有图7中的BG\(_{3}\),而是将图中的C点直接接到图4、图5控制电路输出端的B点。它们的工作原理完全相同,这里就不重复了。

3.放音补偿电路:为什么在倍速放音时要另加补偿呢?我们知道,如果用多点频响测试带以常速放音时,可以在放音均衡放大电路的输出端得到一条平坦的频响曲线,如图8中的曲线①。但是如果仍用这个频响带以倍速放音时,在放音均衡放大电路的输出端就会得到图8中曲线②那样的不平坦的频响曲线。产生这种曲线的原因,可借助图9来加以说明。图9中的曲线①为频响测试带的带磁通频响曲线(它是符合国际规定的带磁通频响要求的)。曲线②是磁头放音时电磁转换的微分特性(这里没有考虑转换时的损耗)。频响测试带经过磁头放音得到的电信号频响曲线则如图9中的曲线③所示。这样的信号再经过均衡放大电路的频率补偿(如曲线④所示)。便会在输出端得到一条如曲线⑤所示的平直的频率响应曲线。倍速放音时,由于带速加快了一倍,对于磁带上每一个记录信号在经磁头转变成电信号以后,频率都要比常速时高一倍。输出电平也比常速时高6dB。这就相当于把磁头在常速时输出的电信号的频响曲线(见曲线③)向右移了一个倍频程,并向上移动了6dB,如图9中的曲线⑥所示。对于这样的放音频响特性,如果仍使用常速的均衡网络去补偿,其结果必然会产生曲线⑦(即图8中的曲线②)那样的两头向上翘的频响曲线。为此,在倍速放音时需另设补偿网络,使倍速放音输出的频响曲线保持平坦,使其输出电平也接近于常速。

我们知道,一般录音时要求对低频段与高频段都进行提升补偿,如图10所示。然而许多收录机都不加设录音低频补偿,这样在倍速放音时,低频段的提升正好弥补了这一点,这也正是倍速复制时低频频响比常速要好的原因。因此,在倍速放音时往往只对高频段给以适当的补偿。


实际的倍速补偿电路十分简单,它只由两只电阻、一只电容及开关管等组成,如图11中的R\(_{4}\)、R5、C\(_{5}\)和BG1。这个RC网络的频响特性如图12所示。将它接于常速均衡放大电路的输出端,可在倍速放音时进一步衰减高频信号。图11中C点的控制电压来自图3、图4、图5中的B点。常速时为低电平,BG\(_{1}\)截止。倍速时为高电平,BG1导通,补偿网络接入。

GF—700、GF—800所使用的倍速放音补偿电路与图11完全相同,只不过GF—700另用一只开关管控制磁头并联谐振电容的容量,使之在常速时谐振频率比较低,适于常速的放音补偿,而倍速对谐振频率又较高,适于倍速的放音补偿。
4.录音补偿电路:众所周知,录音时由于存在着各种损耗,如厚度损耗、间隔损耗、自去磁损耗、涡流损耗及磁滞损耗等,会使信号的高频特性变差。随着被记录信号的频率增高,高频衰减也会增大。因此在录音时通常对信号要进行高频补偿。如果将常速录音的补偿频率点选为10千赫,倍速录音时,带速提高了一倍,输入给录音头的电信号频率也增加了一倍,此时对应的录音信号频率应是20千赫。由此可见,倍速复制时补偿频率点应是常速的两倍。(未完待续)(魏鹏)