PC-81微计算机是一种普及型的8位个人计算机,该机配有BASIC语言,可以用它编排各种图案及游戏、计算程序,并设有音乐语句及音响功能。为方便用户该机可与家用电视机连接,代替专用监示器作为计算机的输出,还可以和家用录音机连接,作为机器的外部存贮器。由于该机使用方便,价格低廉,其功能基本可以满足初学者的要求,结构较简单,比较适合初学者自己组装。因此,我们选择了它作为介绍的对象。
我们所要制作的PC-81微型计算机是由主机板、键盘板及机壳共同组成的。它包括各种元件、外围电路插口、大规模集成电路芯片和电视调制器等。由于它的零件多,工艺要求高,焊点密在自制组装时要求较高的装置技术,因此本文主要讲述PC-81微型机的组装步骤、装焊和调试方法和经验,以及在组装中应注意的问题。
焊前准备
在组装前应先清查所有散件是否齐全,并将它们分类放好,并检查一遍,看它们的数值、规格质量是否符合要求。
在焊接过程中,静电会造成集成电路芯片的损坏,因此,在操作时,操作者要带上接地环,防止静电将MOS电路损坏。简单的接地环作法可以用一根一米长的铁条打入地下,并用导线与它牢固可靠地连接好,将导线的另一端安上一个金属环,焊接时套在操作者的手指上,就可以起到接地的作用了。参看图1。必须注意,绝对不能用煤气管道作为地线,因为煤气是可然气体,在天气干燥或雷雨天,可能会因静电作用产生火花,造成事故。

有些元件的金属表面,常会形成一层氧化层,给焊接带来困难。因此,在焊接前应将全部要焊的元件的引线,用小刀齐根部刮干净直到露出新的表面,并马上用电烙铁镀上一层焊锡,这样可以使焊接更加牢靠,减少虚焊。镀锡时,为防止过多的热量传入元件的内部造成元件的损坏,最好用镊子夹住引线根部,帮助散热。镀锡的部位与元件引线根部的距离不要小于3毫米,这样可以防止热量过大,破坏元件的内部结构。有些元件引线的强度低,因此,在用小刀刮引线时,用力不要太大,以免将元件引线折断。
组装与焊接
PC-81微型机由主机板、键盘板、导电橡胶键盘及机壳组成。
在图2中我们给出了PC-81微型机组装工作流程图。按此流程进行操作,将使装配工作顺利进行,装制者对此应予以重视。下面分别介绍整机各部分的装置步骤。

(一)、主机板安装 主机板上有8片集成电路,由于它们的强度和耐热性都很差,因此,我们对其中的7片在装置时都使用了插座,只焊接插座,使用时将集成电路片子插入插座。对于没有使用插座的74LS05芯片,在直接焊接芯片的各脚时,速度要快,操作者要带接地环,如果有条件的话,也可使用低压烙铁进行焊接。
在图3中给出了所有散件在主机板上的装焊位置。因此,根据图3我们可以进行焊接工作。但是由于微型计算机的焊接工艺要求高,装焊的次序很重要,一般应先焊接短接线和电阻、二极管以及集成电路插座,插焊电容器和晶体三极管、晶振,最后再装各插口插座和扬声器、散热片等。

下面谈一下装焊中的注意事项。
1.印刷线路板的安装和检查:由于印刷线路板的长期存放和空气的腐蚀,在印制板上会遗留有一些污物,特别是沉积在铜孔内的油污会造成接触不良,因此在装焊之前,先用纱布沾无水酒精清洗印制板,以保证焊接质量可靠。
印制板上元器件之间的相互联系是通过印制板上的连线与沉铜孔来实现的。在焊接前务必要对照印制板图,用万用表仔细检查线路板线路条是否有断、短路的情况,检测各芯片的电源引腿与其它插孔之间或与印制板公共“地”之间是否有短路情况。这样可以避免因电源短路造成芯片的损坏,或因断路使芯片不能正常工作。
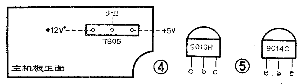
检测方法:选择万用表R×1Ω档,调节调零旋钮,使指针指零。一支表笔接线路板上三端稳压器7805的“地”引线安装孔(见图4),另一支表笔分别接触印制板上各集成电路芯片的“地”引线安装孔,指针应指零。说明各集成电路芯片都接地良好。然后,将一支表笔接触7805的“+5V”引线安装孔,另一支表笔分别接触各集成电路芯片“+5V”引线安装孔,表针应指零,说明所有芯片都能得到工作电压,如电表不指零,说明某处有断路情况,应及时处理连通。

两支表笔分别接触7805的“+12V”引线安装孔和POWER(电源)的“+12V”点,判断是否连通,即检测PC-81机是否能够得到工作电压。
用万用表R×1Ω档,两支表笔交替接触7805的“+5V”,“+12V”,“地”引线插孔,表针应不动,如表针指零,说明有短路现象,应及时找出短路的地方,以免造成芯片的损坏。
各集成电路芯片的电源、地引线号请见附表

2.在焊接电阻和二极管时,首先要用万用表测量其阻值是否与其标称值相等,判断二极管的正、负极性。根据它们在印制板上的安装位置将引线弯成90度直角。使它们平落在板面上。安装时,最好使色环电阻的方向保持一致,这样,可以使板面上的元件排列整齐,便于辨认。
3.安装二极管、三极管、电解电容器时,要注意它们的极性,不要装反,否则将会导致元件的损坏。PC-81机中使用的三极管是9013H和9014C,各管脚的极性见图5。装焊时,不要把它们歪扭,弯折。电容和三极管与板面的距离保持2~3毫米即可。

焊接集成电路插座时,不要使用焊剂,以免焊剂流入插座内,造成接触不良。插座缺口与印制板上所画的缺口要对齐。插座要平放在板面上,不要架起。各插口要平放在印制板上,不要歪斜,其外形示意图如图6。

装焊扬声器之前,应先将两根线焊到扬声器上,然后再焊到线路板上,并用胶固定。注意不要将扬声器内的细导线折断。
装焊三端稳压器7805时,要根据它和散热片固定的位置,将它的三根引线弯成直角后插入安装孔内,另一端用螺丝钉与散热片一起固定在线路板上。
由于焊接后,印制板上会留有松香和焊渣,因此要将焊好的主机板(不插芯片),用纱布沾无水酒精进行清洗,但要注意,不要让清洗剂流入插座内。
以上所有的组装操作,都要在给微型机断电的情况下进行。
在主机板上的所有散件都装好后,首先要检查是否有错焊、虚焊、漏焊现象。尤其要注意二极管、三极管、电解电容器各引线的极性是否焊接正确。然后用万用表,对照印制板图,在断电的情况下测量所有芯片的“+5”电源与“+12V”电源间,“地”与“电源”间是否有短路情况,各芯片是否都能得到工作电压,是否都已接地。
插芯片时,要将芯片的缺口与插座的缺口对齐,不要插反,C4005与Z80A芯片的位置不要插错。芯片要平放在插座上。
主机板进行通电测试时,要将主机板放在印制板装焊夹具上或放在其它绝缘体上,避免因短路给测试带来困难。测验时,要将主机板按图7与外部设备连接好。

如果没有监视器,可用家用电视机代替。由于本机的输出阻抗为75欧,而一般黑白电视机外接天线的输入阻抗为300欧,因此,在用电视机做为本机的显示器时,需要加一个由75Ω转变为300Ω的阻抗匹配器。匹配器的一端接计算机的TV插口,另一端接电视机外接天线VHF端,电视接收频率选择在1频道就可以了。
电源接通后,首先应听到两声BEEP声,然后屏幕上显示READY字样,如图8。

如果我们装悍的主机板出现了上述图象,那么说明我们组装的主机板是成功的。否则说明主机板的组装还存在问题。若有问题,应再认真检查一下,主机板与电源、显示器有无接错的地方,如果检查无误,请参照后面的方法进行调试。
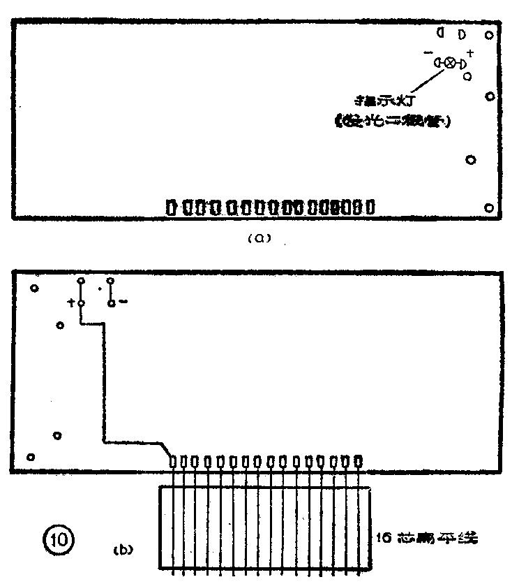
(二)、键盘安装 键盘是微型机不可缺少的输入设备,是实现人机对话的工具。PC-81机键盘由键盘板、键盘中框、导电橡胶键组成,参看图9。图10是键盘正、反面元件位置示意图。


键盘板上需要焊接的元件只有指示灯和16芯扁平线。键盘板上的指示灯实际上是一个发光二极管,它的引线有正、负极之分,在焊接时不要将它焊反。发光二极管的极性可以这样判断,引线长的一端为正,短的一端为负,也可用万用表测定。
由于16芯扁平线是硬线,强度弱,受外力容易折断,而它的表皮受热后又很容易熔化,因此在焊接16芯扁平线时,速度要快,用力要轻。16芯扁平线是连接键盘板与主机板的导线。因此,应将扁平线焊接在键盘板的背面,具体操作请看图11。

组装时,首先将橡胶键装入键盘中框,然后再将键盘板装上并用螺钉拧紧。装键盘时,以指示灯定位,指示灯的高度,应与键平齐。组装时,切记不要来回碰扁平线,以免将它折断。
键盘装好后,要认真检查每个键是否都能在按下后自然弹起,有无卡键的现象。螺钉是否都上紧了,若没有这些现象,则说明键盘组装完毕。
(三)外壳安装 PC-81微型机的外壳由上盖、下盖、插口、功能标牌和四个垫角组成。
具体装配方法请参看图12。按图贴好插口功能标牌。装好垫角。本机的邮购消息请见本期第48页。 (未完待续)(何长伶 王慧林 周明森)
