便携式办公室
美国一家制造厂推出一种装在150×325×450毫米皮包内的便携式办公室。皮包内装有:莫托罗拉公司的电话机、埃泼逊公司的日内瓦牌计算机(附80列显示屏幕)、莫托罗拉公司Datalink牌调制解调器、可用交/直流电源充电的电源系统以及数据交换和文字处理软件。便携式办公室重约13公斤,它能与美国30多个城市的电话系统联机,还可用它从出租汽车、船舶等处收、发电话或发送数据资料。配套附件有供喧闹场所使用的外接铃声增音器、高增益天线和一次充电能供电16小时的大容量电池。 (程宗德译)
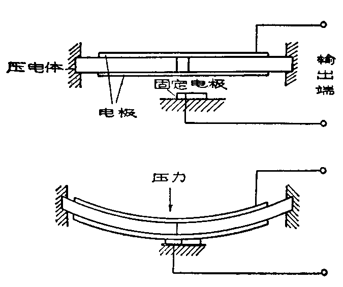
压电开关
日本特殊陶业公司发明了一种压电开关,这种开关是用一种压电体制成,当给压电体施加压力,压电体应力产生的电荷即为开关信号。
工作原理见附图:把压电体的两端固定,在与施加压力部位对应的地方设置固定电极,从固定电极和压电体电极间可取出加压力产生的电荷。(吴茂林译)

1英寸高清晰度电视录象机
日本索尼公司研制成一种用于高清晰度电视(HDTV)的1英寸数字录象机。该录象机具有每秒1000兆位(10\(^{9}\))的录放能力。高清晰度电视需要的带宽为普通电视信号所需带宽的五倍多。该公司指出,高速录放能力的先决条件是用1英寸金属带覆盖上述带宽范围。有一种方案是用频带压缩技术,但得不到高质量的图象。在索尼系统中是采用把数字化的数据分成8部分以形成一帧图象的办法。
这种录象样机包括一种新设计的8通道磁头以及并行信号处理电路,走带每秒805毫米,14英寸磁带盘可录放90分钟。(万方译)
普通纸双色复印机
东芝公司出售一种用一个按钮即可变换复印颜色的双色普通纸复印机。其特点是:(1)用一个按钮动作可改变复印显示颜色—黑色或红色;(2)红色单元可以很方便地更换成青色或棕色单元,可以得到黑、红、青、棕等四种颜色;(3)为了节省复印浓、淡度调整时间,机内设有自动曝光调节指示器(光调谐指示管)。(许官俊译)
温度指示油漆
英国Redpoint公司推出一种新配方的油漆,刷有这种油漆的物体表面,其颜色会随温度而变,从而指示出该表面的温度。采用新配方的油漆能指示58~117℃范围内的温度,适用于检测半导体器件、散热器和其它电子器件的温度。任何深色、不产生反射的物体表面均可涂敷,把显示出的漆色与该公司制定的温度—色谱图对照,就能知道该物体表面的温度了。该公司称,这种油漆在实验室条件下能指示0.5℃的温度变化,他们还打算用喷枪将油漆喷涂在大面积表面上,以显示出物体表面的温度图形。(程宗德编译)
巨型超低音扬声器系统
三菱电气公司最近介绍了D—160和D—80两种口径分别为160厘米和80厘米的巨型超低音扬声器系统。这种系统的扬声器使用碳纤维蜂窝状振动膜,并用高强度塑料加固。因此它可以重视大功率的低音,而且失真较小。
D—80扬声器的磁路采用铝镍钴磁钢,D—160扬声器则使用励磁线圈以减小尺寸和重量。D—80的频率响应范围为10~500赫,在50赫时可容许700瓦的连续输入功率,最大输入功率大于2000瓦,声压达100分贝。其大小为1180×2120×1030毫米,重350公斤。D—160的频率响应为8~500赫,容许1250瓦的连续输入功率,最大功率达3000瓦,声压98分贝。大小为2372×2312×1375毫米,重1500公斤。(蒋泽仁译)
唱片爱好者D—50MKII
索尼公司曾向市场投放过D—50小型便携电唱机,现又对D—50进行改进,使体积更为缩小,整个唱机只有手掌大(125.9×27×125.9mm)称为“唱片爱好者”或“DISCMAN”D—50MKII。这种小型唱机便于携带,可在室外、汽车中或其它场所欣赏音乐,同时它具有许多高级唱机所具有的功能如电脑选曲等。该机拾音器中使用半导体激光器,拾音方式采用光学非接触式。为了改善运动中机器的放音质量采用了新研制的防摇晃机构。该机采用了脉宽调制集成电路和DC/DC变换器以及间接驱动唱盘方式,减少了整机电源消耗。并采用新研制的高能薄型铅蓄电池,充足电可连续使用4.5小时。电池可反复充电200次。(张晋纯 摘译)