在交流市电突然断电时,本文所介绍的告警器就会发出间断的滴、滴、滴……的声响,引人注意。在不需外加电源的情况下,可连续发声十秒钟以上。当市电供电时,只有指示灯发光而无声音。这种通电发光指示、断电发声告警的电路,平时并接在市电电网上,耗电只有数十毫瓦,是一种功耗极低的告警器。全部元器件仅装在一个与电源插头大小相仿的盒内,使用时只要将它插入电源插座即可。
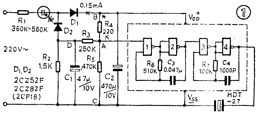
电原理图如图1所示,全部电路分为发声振荡器与电源两部分。

一、发声振荡器部分:由CMOS与非门3和门4及R\(_{7}\)、C4组成单音频振荡器,带动压电陶瓷片发声。单音频振荡的断续输出时间间隔由门1和门2及R\(_{6}\)、C3构成的较低频率振荡器控制。而全部发声告警信号的有无则由A点的电位高低来控制:当A点处于高电位则有声响输出;A点处于低电位则无声。A点的电位高低则由两套电源决定。
二、电源部分:此电路的巧妙之处在于电源部分。由于利用了CMOS集成电路,所以可使用的电源电压范围较广,而且功耗极低,可不用变压器降压和电容降压供电。本电路采用了价格最低、体积最小的电阻降压供电法。市电经R\(_{1}\)降压后,第一路由D1整流C\(_{2}\)滤波后给CMOS电路供电,B点对C点电位为正。第二路由D2整流C\(_{1}\)滤波,R2为负载电阻,D点对C点是负电位。在BA间连接R\(_{4}\),AC间连接R5,DA间连接R\(_{3}\),通过调整此三电阻阻值的大小,使市电供电时,A点电位接近C点,发声振荡器无输出。当市电断电时,电容C1所充的电经R\(_{2}\)很快放掉,D点电位上升并接近C点电位,A点电位由于R4和R\(_{5}\)及R3、R\(_{2}\)的分压作用而迅速上升,使发声振荡器有输出。此时电容C2上所充的电能作为CMOS电路的电源,当C\(_{2}\)上电压低于CMOS电路的工作电压时,发声器停止工作。这样就达到了断电报警的目的。
三、安装与调试:印刷板如图2所示,为了防止漏电,应采用环氧板基敷铜板。CMOS电路焊接在有铜箔一面,其他元件也直接焊在有铜箔的一面,整块板仅在接交流电源处钻两孔,利用市售的圆形电源插头内的铜插头用螺丝帽固定于孔上,使之与铜箔接触良好,也可用其他长度适当的螺杆螺帽。与R1串联的氖灯Ne可使电路通电时作发光指示,由于使用正负两套整流电源,所以在交流电的正负两半周期内氖管都发光,即氖管的两极都发光。如不用氖灯,则R\(_{1}\)需增大到560kΩ左右。安装时除注意D1、D\(_{2}\)两个二极管极性不要接错外,还须注意C1和C\(_{2}\)两电容的极性不要颠倒。电路中需调整的元件除需改变声音频率和间隔时间要调整R7、C\(_{4}\)和R6、C\(_{3}\)外,一般仅需注意R4的阻值大小即可。R\(_{4}\)阻值太大会使断电时发声振荡器无输出,R4阻值大小时则一通电就发声。所以应根据具体情况进行微调。C\(_{2}\)的体积较大,安装时可卧放于CMOS集成块之上。使用时可以印刷板作底板,用有机玻璃或塑料块粘合成一外壳。压电陶瓷片可安装于外壳的内表面,注意应与内部其它元件之间绝缘。外壳表面钻上一些发音孔,整机外形如图3所示。


四、元件的选择:全部电阻都用1/8W的金属膜或炭膜电阻。C\(_{1}\)、C2的外壳最好用有绝缘层封闭的,选择漏电较小的。C\(_{3}\)、C4可用圆片电容。氖灯Ne可用螺丝口电珠式的,直接焊于底板上,测电笔中的氖管也可用,但需用支架支起。压电陶瓷片可选用HDT—27或HDT—20等,D\(_{1}\)、D2选用2CZ52F或2CZ82F(2CP18)。CMOS集成块用CO36或其他与非门电路,CO36集成块内部引线如图4。如需断电后一直有告警音响,只需在V\(_{DD}\)与VSS之间接9伏电池即可。(姜立中)
