国产12、14英寸及部分9英寸黑白电视机,在设计制造时为了改善行扫描非线性失真,加大行偏转线圈的电感量。为了保证所需偏转功率而采取提高行输出级的供电电压的办法,但电源电压只有12伏,因此在行输出电路内采用自举升压电路来解决这个矛盾。以下对自举升压电路的简单原理以及常见的故障与检修方法作一介绍。
工作原理简介
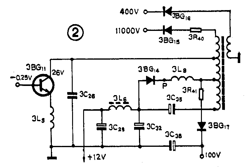
自举升压电路的等效电路如图1所示,其中E为电源电压,BG为行输出管,C为升压电容,D为升压二极管,L\(_{1}\)和L2为行输出变压器。行输出管BG的基极加有行推动脉冲,在行正程期间BG饱和导通,即BG的c、e极之间可近似看成短路,则电源E(+12V)通过升压二极管D、行输出变压器初级绕组的L\(_{1}\)和行输出管BG到地形成回路,回路电流方向如图1中实线箭头所示。这时回路电流在L1中感应一个略小于E的电压U\(_{1}\),这是考虑到回路电流在BG和D上的压降,其极性上正下负。由于L1与L\(_{2}\)之间的互感作用,同时在L2中产生一个上正下负的感应电压U\(_{2}\),U2经过D对升压电容C充电,充电电流方向如图1中虚线箭头所示,因而在C上建立一个左负右正的电压U,这个电压就是提升电压。从图1中看出,U和E的极性相同,则加到行输出管BG集电极的U\(_{C}\)为E+U。改变L2与L\(_{1}\)的匝数比就可改变U与E的比值,12、14英寸黑白电视机一般设计成U约等于E的1.25倍,即E=12V时,U约等于15V,则UC=E+U=12+15=27V。这就是说行输出管集电极电压为电源电压的一倍多,完成电压的提升。

故障及检修
自举升压电路是行输出电路的一部分,因此它的故障往往表现在行输出级。因本文只讨论自举升压电路,这里假设行扫描电路和行输出管的工作均正常,这样就使问题的讨论避免了复杂化。现以飞跃12D1-1黑白电视机的自举升压电路为例,如图2所示,分几种情况进行分析。

1.行输出管3BG11的集电极电压U\(_{C}\)低于正常值27伏。这一般有两种情况:(1)电源电压E和UC都比正常值低,但行输出电路仍能工作,只是光栅变暗且行幅缩小。测量提升电U和E的比值仍约等于1.25,这说明自举升压电路无故障,而是电源电路发生了故障而引起提升电压的下降。这就要检查电源电路并给以排除。(2)U\(_{C}\)约等于电源电压E,即U≈0.5V,E≈10V。通电约半分钟后,行输出管3BG11管壳烫手,此时无光栅。经检查是升压二极管3BG14管子击穿而接近短路,这时行输出变压器初级的3、4之间电感L2被交流短路,即3BG11的负载部分短路,所以通过3BG11的输出电流大大增加。检查电源的负载电流可达2.5A以上,因此稳压电路的工作状态被破坏,故电源输出电压只有10伏。换一个好的升压二极管3BG14,故障即可排除。
2.电源电压E正常而升压电压不正常,通常有以下几种情况:
(1)3BG11的U\(_{C}\)≈1V,无光栅,通电数分钟后3BG11和3BG14管壳无温升,即两个管子的功耗很小。此时用三用表测3BG14两端电压为11伏左右,说明升压二极管的内阻变得较大,使回路电流的很小,所以管子功耗就很小了。把3BG14管从印制板上焊下来,用三用表测它的正向电阻(×100档测)为1000多欧,显然3BG11的集电极负载电阻很大,使电源电压都降到3BG14两端,故3BG11的集电极电压只有1V左右了。这样行输出管停止工作,无高压及中压输出,使显象管也无光栅了。换一个好的3BG14管即可。
(2)3BG11的UC大于12伏但比27伏低得多,即提升电压U比15伏低得多。这时有光栅但行幅变小,如图4所示。一般有两种情况:一是升压二极管3BG14正向电阻比正常值变大一些,使行输出电流变小,使图1中L\(_{1}\)和L2中的感应电压变小,因而提升电压U变小。再一个是升压电容3C\(_{35}\)漏电大或电容量变小,而使充上的电压很快又降下来,同样使提升电压U变小。这就要对这两个元件分别检查,发现哪个有问题就更换,故障即可排除。

(3)3BG11的U\(_{C}\)约为11.5伏,提升电压U约为-0.5伏。检查升压二极管3BG14完好,测得提升电容3C35二端电压为-0.5伏,其实这是3BG14二端的正向管压降,因电表测电容电压时反接在二极管两端,故得负值。测升压电容两端电压时,注意表的输入阻抗要高(大于500kΩ),否则会因由表内阻、3BG14等组成回路在L\(_{1}\)中感应电压使测试不准了。这时UC=E+U=12+(-0.5)=11.5(V)。经检查是升压电容3C\(_{35}\)内部引线断头,等于无升压电容。有时因使用环境温度较高使电容内电解液干枯而失去电容作用,也会引起此故障。
(4)3BG11的U\(_{C}\)=E,提升电压U=0伏。检查升压二极管和升压电容均完好,进一步检查行扫描电路及行输出变压器等,发现问题给于排除。这几部分电路不属本文讨论范围,这里不再赘述。(田耕)