目前市场上销售的各种收录机,大部分都没有交流电路自动切断装置。在交流供电情况下,使用录放音或睡眠装置时,在磁带走完后,虽然能自动关闭直流电源,却不能自动切断交流供电,使用很不方便。每次使用完毕后,用户必须把电源插头拔下来。如果插头不拔下来,收录机的电源部分将一直在工作着,时间长了,容易烧坏电源变压器,损坏录音机。一般的录音机在使用快进或倒带键时,自停装置不起作用,在磁带转到末尾时,电机的直流电源不能断开,时间长了会影响电机的使用寿命。
本文介绍的电路,可以解决上述两个问题。当使用录音、放音、睡眠装置、快进或倒带键时,只要磁带转到尾部,直流与交流电源就会先后自动切断,从而保护了录音机。
电路工作原理
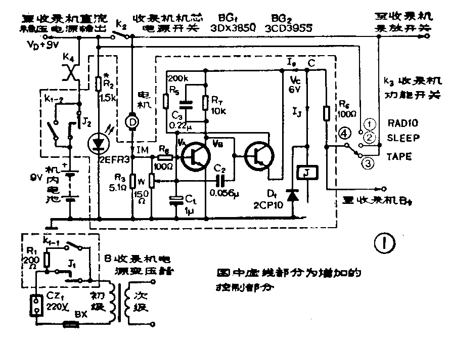
收录机的有关电路及改进的有关电路见图1。图中,CZ\(_{1}\)为原收录机的交流电源插座(附交直流转换开关K4)。K\(_{2}\)为原收录机的机芯电源开关,它由收录机机芯上的有关键控制。K3为原收录机上的“功能开关”。B为原收录机内的电源变压器。D为收录机内的电机。J\(_{1}\)、J2为继电器J的常开触点,它们分别接在被控制的电路里,J\(_{1}\)控制交流电源,J2控制直流电源。K\(_{1-1}\)、K1-2为新增加的“手动自动转换开关”。图中虚线框内的电路为新增加的控制部分。

1、继电器的工作过程:继电器J绕组的直流供电电源来自功能开关K3的第④点,这一点是+9V直流电源向整机供电的唯一通路。R\(_{6}\)是一个降压电阻。在使用过程中,当功能开关K3处于收音“RADIO”位置时,K\(_{3}\)的④与①接通,此时只要按一下K1(K\(_{1}\)采用一只有自锁功能的双刀双掷开关),则交、直流电源均接通,继电器吸合,接点J1、J\(_{2}\)均闭合,J1闭合后使继电器自锁,全机正常工作。再按一下K\(_{1}\),K1-1、K\(_{1}\)-2均断开,全机电路则处于自动状态。当将K3拨向“TAPE”时,K\(_{3}\)的④与①点断开,即直流电路断开,继电器J停止工作,常开触点J1、J\(_{2}\)断开,交流电源和用电池供电的电路全部切断。
当K\(_{3}\)处于“TAPE”位置时,K3的④与③接通,此时装上磁带,按下放音键(录音时同时按下录音键),K\(_{2}\)则接通。然后按一下K1,J通过K\(_{2}\)及K3的③、④点接通电源,J工作,并通过J\(_{1}\)自锁,此时J1、J\(_{2}\)闭合,全机工作。再按一下K1,使K\(_{1}\)断开,电路则处于“自动状态”。当磁头走完后,放音键自动复位,K2则自动跳开,继电器的直流电源断开,J\(_{1}\)、J2断开,于是录音机的交流电源电路及电池电源电路均被切断。
当K\(_{3}\)处于“SLEEP”位置时,K3的④与②点接通,此时装上磁带,按下放音键,K\(_{2}\)接通,然后按一下K1,继电器J通电并自锁,J\(_{1}\)、J2闭合,全机正常工作。再按一下K\(_{1}\),使K1断开,电路即处于“自动状态”。磁带走完后,放音键复位,K\(_{2}\)触点跳开,直流电源被切断,继电器J停止工作,J1、J\(_{2}\)断开,交流电源及电池电源则被切断了。
在进行以上几项操作时,具有自锁功能的开关K\(_{1}\)只按一次,电路则处于“手动”状态,此时继电器J的两个常开接点J1、J\(_{2}\)一直处于闭合状态,收录机与一般常规使用情况相同。只有将K1再按一次,使K\(_{1}\)处于断开状态,自动功能才能发挥。K1如果不使用带自锁功能的开关,采用一般微动开关也是可以的,只是使用起来不太方便。
2、开关电路的作用及工作原理:在使用“快进”与“倒带”功能键时,为了使磁带走完以后能自动切断交、直流电源,图1中虚线框内的开关电路开始起作用。控制信号电压是从R\(_{3}\)两端取出的,电机转速快、负载重的时候,R3两端的压降则增大,反之R\(_{3}\)两端压降减小。我们就利用这个压降的变化去控制开关电路,让开关电路再去控制继电器J,达到预定的目的。
开关电路的工作原理是:由BG\(_{1}\)、BG2等元件组成电子开关电路,在使用录音机的快进或倒带键时,由于R\(_{3}\)串联在电机的接地回路中,电机正常转动时,R3两端产生约0.2~0.3V的压降,这个压降较小,还不足以使BG\(_{1}\)导通,BG1、BG\(_{2}\)均处于截止状态,I0≈0,继电器J两端能获得6V电压而一直处于导通工作状态,J\(_{1}\)、J2闭合,电机正常运转。此时图1中V\(_{C}\)≈6V、VB≈6V。
当磁带快进或倒带到磁带末尾时,电机处于制动状态,负荷很大,流过R\(_{3}\)的电流剧增,VA升高到0.75V以上,BG\(_{1}\)导通进入饱和区,BG2也立即导通,BG\(_{2}\)的导通使BG1更加导通,形成一个正反馈。由于I\(_{o}\)突增,使C点对地电位迅速降低,从6V急速降到1.5V以下,大部分电压降到R6上。这时继电器J停止工作,J\(_{1}\)、J2接点断开,交流及电池电路均被切断。
在使用录、放与睡眠装置时,由于转速一定,V\(_{A}\)点电压保持在0.3V~0.42V之间,BG1、BG\(_{2}\)均处于截止状态,开关电路处于断态。
元器件选择及电路调试方法
BG\(_{1}\)的β≥80,BVceo≥30V,I\(_{ceo}\)≤2μA,Vces≤0.5V,I\(_{CM}\)≥300mA。可选用3DX3850,也可用3DK4A、3DG12代用;BG2的β≥85,BV\(_{ceo}\)≥30V,BVces≤0.5V,I\(_{CM}\)≥150mA。可选用3CD3955,也可用3CG2B、3CG5B、3CG8B、3CG23B、3CG121B代用;继电器选用JRX—13F—12V(300Ω);电位器W选用实心电位器,型号为WS30—0.25—150Ω;K1选用双刀双掷按键开关(自锁),耐压250V、额定电流1A。
调试方法:首先按图2印刷极图焊接好电子开关部分全部元件。如果读者只要求在“放音、录音、睡眠”控制时使用自动切断交、直流电源供电电路,则电子开关部分可以不装配。如果希望“倒带、快进”时也能自动切断供电电路,则要求录音机稳压电源部分的性能要好一些,图1中的直流电源电压要求为9V\(^{+}\)0.1V\(_{-}\)0.2V。不同收录机的直流电源电压可能不同,可自己灵活掌握,但必须要求图1中电机正端对地的电压要稳定在9.1~8.8V之间。其余条件是,放音时VA应在0.3~0.42V之间变化;快进、倒带时,在起动与正常工作时V\(_{A}\)在0.22~0.4V之间变化;当制动时VA约为0.72~0.78V。可按如下步骤具体进行调试:

1.K\(_{3}\)置于“RADIO”位置,按下K1接通电源,继电器处于工作状态,J\(_{1}\)、J2接通。此时V\(_{C}\)应为6V±0.2V,VD为9V\(^{+}\)0.1\(_{-}\)0.2V,VB为6V左右。
2.调整放音时的自控功能。将K\(_{3}\)置于“TAPE”档,装入磁带,按下放音键,K2则接通,此时因K\(_{1}\)已接通电源,所以录音机已处于放音状态。调整电位器W,使VA处在0.3V~0.42V范围内,V\(_{D}\)稳定在9.1~8.8V之间。
按下停止键,取出磁带,再按一下K\(_{1}\),这时录音机处于自动控制状态。打开带盒仓,按下放音键,并同时用手按住收带盘,迫使收带盘停转,此时电机负荷加大,VA应上升到大于0.7V,继电器应释放,自动切断交直流电源。
3.调“快进”与“倒带”时的自控功能。将K\(_{3}\)置于“TAPE”位置,装好磁带,按下“快进”或“倒带”键(K2接通),再连续按两次K\(_{1}\),使电路处于自动控制状态。磁带快速行进时,VA应在0.22V到0.4V之间变化,可通过调整电位器W满足要求。磁带快速走到尾部时,V\(_{A}\)应上升到0.72~0.78V,自动开关电路应动作,自动切断交、直流电源。
如果上述要求不满足,则应反复细心调整电位器W。调试完毕后,可将印刷电路板连同继电器一起装配在收录机内的合适位置。应引起读者注意的是,交流电部分的接线必须绝缘良好,防止使用时触电。(顾志遐)