本文介绍的这种有闪光显示的触摸延时渐暗灯,其特点是用手触摸触点时白炽灯ZD点亮,经过一定的时间(可事先调定)后,由亮逐渐变暗,最后到完全关断。触摸开关处设有闪光显示灯,以便在夜晚指示触摸开关的位置。这种灯很适合于安装在机关、宿舍的楼道里,可以节省电能。
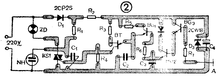
附图为电路原理图。图中采用220伏交流电源供电,接通电源后,当人手触摸A点时,电源从A点通过人体给BG\(_{3}\)一个基极电流,使BG3、BG\(_{2}\)相继导通,于是电源通过D2、BG\(_{2}\)迅速给C3充电,C\(_{3}\)两端电位慢慢升高。高到一定值后,BG1导通,电容C\(_{2}\)开始充电,充到一定值后,单结晶体管BT33导通,C2通过BT33放电,于是在R\(_{4}\)上端输出一个脉冲去触发双向可控硅KS1,使白灯灯ZD点亮。随着电容器C3的不断放电,C\(_{3}\)两端电压慢慢降低,BG1由完全导通向截止过度,C\(_{2}\)充电的速度减慢,R4上端输出的触发脉冲频率减低,KS1导通角变窄,于是白炽灯泡渐暗。当C\(_{3}\)放电结束时,KS1完全关断。ZD熄灭。这样,每用手触摸一次A点,灯泡就亮一次,每次亮一定时间,而且是由亮逐渐变暗直至熄灭。改变R6和C\(_{3}\)的数值,可调节ZD点亮的时间。


闪光显示部分采用了一个氖管NHO-12B。电源通过R\(_{1}\)向C1充电,充到氖泡的点亮电压时,氖泡点亮,于是C\(_{1}\)通过氛泡N放电,C1上电压降低,氖泡熄灭。然后C\(_{1}\)又充电,氖泡再亮。这样下去,氖泡便会不断地一闪一闪地发光。将这个氖泡安装在触点A附近,在夜晚就可以较醒目的指示出触点A的位置。改变R1、C\(_{1}\)的数值,可调节氖泡的闪光间隔时间。电路焊接好以后,只要没有虚焊、错焊。不需调整就可以工作。
氖管除可采用NHO-12B外。其它规格的只要起辉电压在110~125V之间的也可以用。还可以用日光灯起辉器代替;双向可控硅耐压应大于400V,如果选用3CTS3,则照明灯ZD的功率可达200W。触点A很好处理,可将其接在任意的金属物上。金属物不易过大,触点A的引出线不要太长,一般应小于2米。(黄宇聪)