随着电子工业的不断发展,集成电路的应用越来越广泛。在实际工作中,我们用TTL门电路和RC电路组成的多谐振荡器,性能稳定,电路简单,下面就TTL与非门及多谐振荡器的工作原理作一介绍。
TTL与非门的工作原理
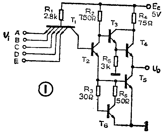
在分析具体的振荡器电路之前,先对TTL与非门的工作原理加以分析。以7MY23型电路为例,其内部电路如图1所示。其中多射极三极管T\(_{1}\)和R1构成电路的输入级,通过多射极三极管的各个发射极来实现与的功能。T\(_{2}\)和R2为中间极,这一级的主要作用是:当基极有信号输入的时候,可从T\(_{2}\)的集电极和发射极同时输出两个相位相反的信号,分别作为T3和T\(_{5}\)的驱动信号。T3、T\(_{4}\)、T5和R\(_{4}\)、R5构成输出级,以提高带负载的能力。T\(_{6}\)和R3、R\(_{6}\)组成一个有源泄放电路,以提高T5的翻转速度。

我们知道,在逻辑电路中,集成电路的各输入端及输出端的电压信号只有两种状态,即“1”态和“0”态。通常规定,对应于“1”态的电平称为高电平,高电平U\(_{H}\)≥3.6伏;对应于“0”态的电平称为低电平,低电平UL≤0.3伏。为便于分析晶体三极管的工作状态,有必要先对三极管的一些基本情况作些说明。晶体三极管运用在开关状态情况下,若是处在“关”状态,即三极管饱和导通时,其集电极与发射极之间的电压称为饱和压降。且饱和压降U\(_{CES}\)≤0.3伏,其基极与发射极之间的正向偏置电压UBE≈0.7伏(NPN型硅三极管)或U\(_{BE}\)≈0.3伏(PNP型锗三极管);若三极管工作在“开”状态,即三极管截止时,其三个极的电压为该三极管从电路中拿掉后,各对应点的开路电压值。在明确了上述规定及基本概念之后,下面结合图1分析电路的工作过程。
1.当A、B、C、D、E各输入端均为高电平(输入电压U\(_{i}\)≥3.6伏)时:电源EC可通过R\(_{1}\)和晶体管T1的基极—集电极及T\(_{2}\)、T5的基极—发射极到地形成回路。由于T\(_{1}\)的集电结为正向偏置,T1的集电极电流I\(_{c}\)向T2提供基极电流,使T\(_{2}\)饱和导通,T2的发射极电流I\(_{E2}\)有两条路,一条是直接经T5的基极—发射极到地,另一条是经电阻R\(_{3}\)及T6的基极—发射极到地。由于基极—发射极可等效成电阻电容并联支路,所以I\(_{E2}\)将分别向两条通路的RC回路充电,显然T5支路的充电过程要比T\(_{6}\)支路快得多,因而IE2几乎大部分注入到T\(_{5}\)的基极,形成T5的过驱动电流(大大超过T\(_{5}\)饱和导通时所需要的基极电流),使T5迅速达到深度饱和状态,而后T\(_{6}\)才处于饱和导通状态。综上所述,应有UB1=U\(_{BC1}\)+UBE2+U\(_{BE5}\)=0.7+0.7+0.7=2.1伏,UB2=U\(_{B1}\)-UBC1=2.1-0.7=1.4伏,U\(_{B5}\)=0.7伏。由于UCES5≤0.3伏,所以与非门的输出电压U\(_{0}\)=UCES5≤0.3伏。至此可以说电路实现了与非门的逻辑关系,即当与非门的所有输入端全为高电平时,输出才为低电平。为进一步说明这一点,在讨论一下T\(_{3}\)、T4的工作状态。由于U\(_{CES2}\)≤0.3伏,T2的集电极电压U\(_{C2}\)=UB3=U\(_{CES2}\)+UBE5=0.3+0.7=1伏,大于T\(_{3}\)的偏置压降(UBE3=0.7伏),故T\(_{3}\)导通。于是就有UB4=U\(_{E3}\)=1-0.7=0.3伏,该电压小于T4的正向偏置压降,所以T\(_{4}\)截止。T4的截止使T\(_{5}\)的集电极负载为无穷大,IC5≈0,结合前述的很大过驱动电流I\(_{B5}\)注入T5,足使T\(_{5}\)工作在深度的饱和状态,使输出电压U0≤0.3伏。
2.当A、B、C、D、E输入端中任何一个或几个为低电平(输入电压U\(_{i}\)≤0.3伏)时:电源EC可通过R\(_{1}\)和T1的发射极形成回路,使T\(_{1}\)导通。其基极—发射极为正向偏置,UBE1=0.7伏,其基极电压U\(_{B1}\)=Ui+U\(_{BE1}\)=0.3+0.7=1伏。该电压加在T1的基极—集电极及T\(_{2}\)、T5、T\(_{6}\)的基极—发射极之间,由于每只三极管的正向导通偏压UBE均为0.7伏,因而1伏的电压不可能使其中的任何一只三极管导通,而只能处于截止状态。由于T\(_{2}\)截止,电源EC将通过R\(_{2}\)向T3提供基极电流使T\(_{3}\)导通。为了讨论T4的基极电位,可列出下面的电压回路方程,即:
I\(_{B3}\)·R2+U\(_{BE3}\)+IE3·R\(_{5}\)=EC
由于I\(_{E3}\)>IB3,R\(_{5}\)>R2,则有I\(_{E3}\)·R5》I\(_{B3}\)·R2,上式中忽略掉I\(_{B3}\)·R2一项后,则有I\(_{E3}\)·R5=E\(_{C}\)-UBE3=5-0.7=4.3伏,即U\(_{E3}\)=4.3伏。T4的基极电压U\(_{B4}\)=UE3=4.3伏,故T\(_{4}\)必然导通,其负载为截止管T5。此时与非门的输出电压U\(_{0}\)=UE4=U\(_{B4}\)-UBE4=4.3-0.7=3.6伏。这就实现了与非门的逻辑关系,即输入端只要有一个为低电平,其输出端就为高电平。
综上所述,可将与非门的逻辑关系表示为Z=A-BCDE。该电路的传输时间(即与非门的输出电压变化对输入电压变化的响应时间)很短,一般来说,传输时间t\(_{pd}\)为15nS左右。
对上述电路所作的电压传输特性曲线见图2。由图可见,曲线AB段几乎为一直线,与非门就工作在这段曲线上。当任一输入端的输入电压U有一个微小的变化时,U\(_{0}\)便有相当大的变化,这可以理解为此时与非门对输入信号有极强的放大能力。正是由于该段曲线的陡直程度决定了整个电路传输时间的大小,我们把该段曲线所对应的输入电压UT称为与非门电路的转折电压(又称开门电压)。只有当全部输入端的电压U\(_{i}\)>UT时,与非门才导通,输出低电平U\(_{OL}\),UOL≤0.3伏。当输入端中任何一个或几个的电压U\(_{i}\)≤0.3伏时,与非门就截止,其输出为高电平UOH,U\(_{OH}\)≥3.6伏。通常手册中规定UT≤1.8伏。对于上述具体电路的电压传输特性曲线,其开门电压U\(_{T}\)≈1.4伏。

具体的7MY23与非门的外型如图3(a)所示,其逻辑符号见图3(b)。它有14个引出脚,其中④为电源E\(_{c}\)端,为接地端,⑩、分别为两个输出端,①、②、③、、及⑤、⑥、⑦、⑧、⑨分别为两个与非门的五个输入端。由于我们只用一个输入端。为防止其余输入端悬空时会引入干扰,在应用中,将五个输入端短接在一起,因而等效为一个输入端。为画图方便,将等效输入端用Ⅰ表示。在详细介绍了与非门内部电路及特性、外形之后,下面介绍多谐振荡器的组成及其工作原理。

多谐振荡器的工作过程
图4(a)是一个由三个与非门(G\(_{1}\)、G2、G\(_{3}\))电路组成的振荡器接线图,图4(b)是它的逻辑符号电路图。图5是振荡器工作过程的波形图。在图4中,取G3的输出端作为振荡器的输出端。接通电源Ec后,由于电路的偶然扰动,总会使G\(_{1}\)、G2、G\(_{3}\)处于一个暂时的稳定状态,即或是导通或是截止。为分析方便,不妨可先设门G3在t=0时截止,则输出U\(_{OH3}\)为高电平,UOH3≥3.6伏,见图5(a)中0~a段。由于G\(_{1}\)的全部输入端连在一起,其输入端UI1=U\(_{0}\)3≥3.6伏为高电平,则经过与非门G1本身的传输时间t\(_{pd1}\)(图5(b)中0~b段)后,G1达到稳定的导通状态,其输出为低电平U\(_{OL1}\)≤0.3伏,见图5(b)中b~c段。由于G1的输出端直接接到G\(_{2}\)的输入端(五个输入端连接在一起),使UI2=U\(_{OL1}\)≤0.3伏,则经过门G2的传输时间t\(_{pd2}\)(图5c中d~e段)后,使其输出为高电平UOH2≥ 3.6伏。由于G\(_{2}\)的输出端直接接到G3的输入端(五个输入端连接在一起),使U\(_{I3}\)=UOH2≥3.6伏,G\(_{3}\)的所有输入端全为高电平,经过G3的传输时间t\(_{pd3}\)后,G3达到稳定的导通状态,则有低电平U\(_{O3}\)≤0.3伏。该电平又送到G1的输入端。依上述分析方法继续下去,则有如下过程,即U\(_{I1}\)=UOL3<U\(_{T1}\)经tpd1→U\(_{I2}\)UOH1>U\(_{T2}\)经tpd2→U\(_{I3}\)=UOL2<U\(_{T3}\)经tpd3→G\(_{3}\)截止,又回到初始t=0时G3截止状态,完成一个振荡周期全过程。


图4电路的实际应用价值不大,因与非门的传输时间很短,处在毫微秒范围会使电路的振荡频率太高,且不可调。为了克服这一缺点,在实用电路中常把R、C引入电路,利用RC电路的延时特性,并通过调节R、C的数值来达到改变电路振荡频率的目的。
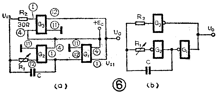
图6(a)所示电路为一用TTL与非门和RC电路构成的实用多谐振荡器电路。由于RC积分电路的存在,故该电路又称RC环形积分多谐振荡器。在逻辑电路中,图6(a)电路一般用逻辑符号来表示,见图6(b)。为分析方便,由于R\(_{1}\)C的时间常数远大于与非门的传输时间tpd,故将该时间常数略去不计。因R\(_{2}\)的取值不大,故可忽略掉在它上面产生的压降损失。下面我们对两种暂稳状态分别加以叙述。

第一暂稳状态及自动翻转过程:为便于分析,先设在t=0时刻G\(_{3}\)截止,则有突变电压UOH3=U\(_{I1}\)≥3.6V>UT1(见图6),使得门G\(_{1}\)导通。因此时G1的输出电压U\(_{O1}\)=UI2≤0.3V<U\(_{T2}\),故使G2截止,又有U\(_{O2}\)≥3.6V。这样在G2的输入和输出端就产生了一个突变的阶跃电压U=U\(_{O2}\)-UI2=3.6-0.3=3.3V,加在电容C的两端。由于电容是储能元件,其两端电压不能突变,这就引起了电路的过渡过程。图6电路中,在突变电压出现前一瞬间电容C原有的初始电压,是前一个暂稳状态(即G\(_{3}\)导通、G1截止、G\(_{2}\)导通)结束时瞬间加给电容C的电压。此时由于G1截止,电容C的右端接于G\(_{1}\)的输出端,所以该端电压应为UO1=U\(_{OH1}\)≥3.6伏。要使电路处于我们所讨论的第一暂稳状态(即G3截止、G\(_{1}\)导通、G2截止),在不考虑电阻R\(_{2}\)压降的情况下,必须使UI3≤U\(_{T3}\)=1.4伏,换路动作(电路运行状态的改变)才能开始。因此,换路前瞬间电容C两端的电压应为UC=-2.2伏。此值即为电容C两端的初始电压,即图7(b)中,t=0时刻U\(_{I3}\)的数值。而后高电平UOH2经过R\(_{1}\)向C充电,使UI3不断上升,当升至U\(_{I3}\)≥UT3时,见图7(b)中的a点,电路将进入下一个稳态。

第二暂稳状态及自动翻转过程:由于在第一暂稳状态中已设G\(_{3}\)截止,放在此时应为G3瞬时导通。这时U\(_{OL3}\)=UI1≤0.3伏,使G\(_{1}\)截止,又使G2导通,则U\(_{O2}\)≤0.3伏。同样在电容C的两端产生一个突变电压,由于电容两端电压不能突变,故迫使UI3随着U\(_{I2}\)一起产生正跳变,而后电容C开始放电,使UI3不断下降。当下降到U\(_{I3}\)≤UT3时,G\(_{3}\)又转为截止状态。至此电路又回到了第一个暂稳状态。
综上所述,将两个暂稳状态联系在一起,便得到电路在工作时的状态瞬间转换流程如下:
如此周而复始,便在输出端得到一连续的方波脉冲。
图6中的电阻R\(_{2}\)是限流电阻,用以防止向电容C充电时,因瞬间电流过大而损坏门器件。
由以上电路分析及图示可知,电路的振荡周期T=t\(_{充}\)+t放=2.24R\(_{1}\)C(公式推导从略)。在分析与计算中,由于忽略了与非门的输出电阻及在输出低电平UOL时近似地认为是零电位,故上式反应的是近似情况。
由与非门和RC电路构成的多谐振荡器,因电容C的取值没有严格的界限,故频率调节范围较宽。但因受与非门输入端负载特性的影响,对R\(_{1}\)的取值有一定的限制,一般不应超过1kΩ,否则电路将不能正常工作。若取300Ω≤R≤500Ω,且连续可调,则在不同的电容值时,可得到几组不同的频率调节范围。(张胜杰)