目前新开的电视频道不少选在UHF频段,而以前生产了大量非全频道电视机,只能接收VHF频段(1~12频道)的电视节目。为了能使这些电视机也能收看UHF频段(13~68频道)的节目,笔者实验制作了一种性能良好且使用方便的U/V全频道转换器。使用该转换器时,不需要对电视机作任何改动,只要将转换器的输出线夹在电视机的天线上就行了。另外,不少录象机的射频输出在UHF频段,使用该转换器就能利用非全频道电视机观看这些录象节目。如果将转换器输出线夹在普通调频收音机的天线上,就能利用调频收音机收听UHF频段的电视伴音。转换器用一节五号电池作电源,总电流小于3.5mA,因此一节电池可用半年以上。
电路原理
U/V全频道转换器的方框图如图1所示,圆形电视天线收到的电视信号,经过输入滤波回路滤除VHF频段的信号,再进入混频级与本振送来的振荡信号进行混频,混频后得到的中频(在VHF频段范围)信号,经中频放大器放大后由输出线送到电视机去。

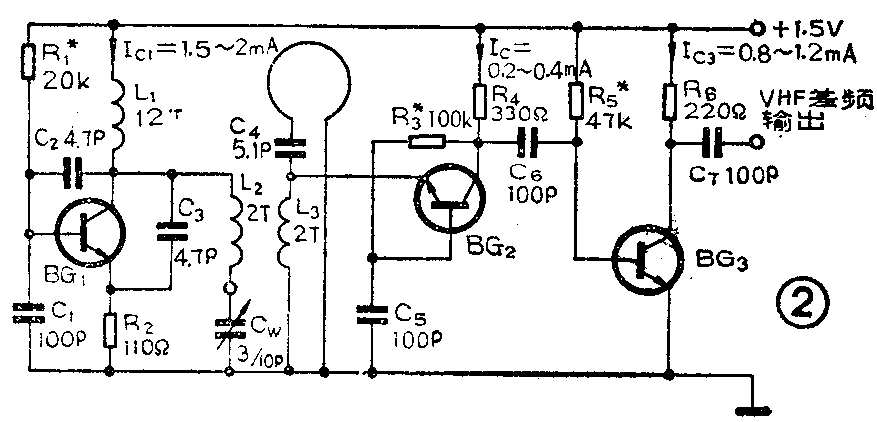
图2是转换器的原理图。BG\(_{1}\)是振荡管,它与C2、C\(_{3}\)、Cw、L\(_{2}\)及分布电容Cie构成改进型电容三端振荡器,其等效电路如图3所示。L\(_{2}\)是振荡回路电感,Cw是调节振荡频率的电容,C\(_{2}\)、C3及C\(_{ie}\)为振荡回路电容。BG2是混频管,振荡信号通过L\(_{3}\)耦合到它的发射极,并与由圆形天线进来的电视信号进行混频,产生的VHF差频信号从集电极输出经C6送到差频放大管BG\(_{3}\)的基极。L3的另一个作用是与C\(_{4}\)组成输入滤波回路,其等效电路如图4所示,实际上是一个高通滤波器,用来滤除VHF频段的电视信号或其它干扰信号。L2与L\(_{3}\)之间是电感耦合,只要改变它们之间的耦合度,就能改变输入到BG2管发射极的振荡信号的强弱,使温频管工作在较佳状态,即使得混频噪声最小而增益较高。混频级为宽带输出式,采用电阻R\(_{4}\)作混频管集电极负载,没有采用常规的谐振回路,以便在收到UHF频段的信号再转换到VHF频段的不同频道时,不用改变任何元件的参数。采用电阻作负载会使电路的选择性变差,由于在某一个地区UHF频段开播的节目少,不会因选择性差而造成干扰。混频级采用共基极线路,它的截止频率比共发射极线路高得多,在工作频率较高时其功率增益也比共发射极的高。此外,因集电极到发射极的分布电容小,使得共基极电路稳定性也好。为了适应弱信号地区的转换,加一级VHF差频放大使混频后的差频信号经过放大后输出。差频放大器采用阻容放大式,由于频率稍低,中放管BG3采用了共发射极电路,以取得较大的功率增益。如果在信号较强的地区使用,也可以不接差频放大,直接由混频级输出。



这里采用的是二次变频接收方式,即转换器是第一次变频,而VHF高频头是第二次变频。为了不使频谱发生倒置,转换器的本振频率应比所接收的信号频率低一个VHF差频f\(_{V}\),则变频后的图象频率f′图与伴音频率f′\(_{伴}\)的相对次序没有发生改变,即f′图比f′\(_{伴}\)低6.5MHz分分符合VHF频段电视信号的频谱关系。如果本振频率比接收信号的中心频率高一个中频,则变频后f′图与f′\(_{伴}\)的相对顺序发生了变化。即此时图象中频f′图比伴音中频f′\(_{伴}\)高6.5MHz,不符合VHF频段电视信号的频谱关系。这样在经过第二变频以后,在电视机内就会出现伴音中频比图象中频高6.5MHz的倒置现象,在电视信号较弱的地区就会发生收不到伴音或伴音严重干扰图象的现象。
振荡电路中L\(_{2}\)的电感量为0.07μH,分布电容Cie约为3P左右,通过计算f\(_{本振max}\)≈463MHz;f本振min≈310MHz,即本振频率的调节范围为310~463MHz。本振信号的二次谐波的频率范围是620~926MHz。由于混频级和差频放大级是采用宽带输出式,因而可以选用VHF电视机的任一频道来接收转换器输出的差频。例如,选用2频道时,由于其中心频率为60.5MHz,这时转换器可以接收13~19频道(474~522MHz)的电视节目。而利用本振的二次谐波,就可以接收34~68频道(680~952MHz)的电视节目。如果选用12频道,由于其中心频率为219MHz,转换器就可以接收20~34频道(530~680MHz)的电视节目。从以上分析可知,只要适当选用电视机VHF频段的频道,并通过调节电容C\(_{w}\),就能使非全频道电视机接收UHF频段所有(13~68频道)的电视节目了。
转换器采用电池供电,新旧电池的电压相差较大,因此影响电路稳定性的主要因素是电源电压的变化。由于电源电压为1.5V,不便采用加较大的发射极直流负反馈电阻来稳定直流工作点,而是采用发射极电阻很小或是为零又不加下偏电阻的作法,来提高电路的稳定性(关于它的原理参阅《无线电》1985年第2期41页“想想看答案”)。三极管不加下偏电阻,不但有利于工作点稳定,而且电路简化使分布参数大大减小,对提高振荡频率有利。经实验得知,当电源电压在1.1V~1.6V范围变化时,该转换器能正常工作。对于12V低压供电的中小屏幕电视机,可以用发光二极管作一个稳压器,如图5所示,得到1.5V的稳定电压供给转换器使用。

元器件的选用与制作
1.元器件选择:BG\(_{1}\)、BG2可选用f\(_{T}\)≥1000MHz的超高频小功率三极管,如3DG142、3DG30C、3DG81、2SC684、2SC1070等。从选用的管子中挑选噪声系数小的作混频管,β值较大和fT值较高的作振荡管。BG\(_{3}\)可选用fT≥600MHz的任何型号的小功率三极管。电容可选用高频圆片式瓷式质电容器,可变电容C\(_{w}\)选用3/10P的空气介质微调电容器。如果没有这种电容器,也可以用3/10P的小体积的瓷介微调电容器,调节没有前种方便,且介质损耗较大,故最好用空气介质微凋电容器。电阻选用1/8瓦碳膜电阻或1/4瓦金属膜电阻均可。
2.元部件的制作:电感线圈要自行绕制,其绕制方法是,L\(_{1}\)用Φ0.51mm的高强度漆包线,在φ3·2mm钻头或其它圆金属棒上密绕10圈。L2、L\(_{3}\)用φ0.8mm的高强度漆包线,如果用镀银线更好,在φ6.5mm钻头或φ6.5mm左右的圆铅笔杆上绕2圈。所有线圈均为空心的,即绕制完毕后把芯棒抽掉。圆形天线可用φ2.3mm的金属丝弯成φ170mm左右的圆环,作成室内天线用馈线接在印制板上。
印刷电路板要选用高频介质损耗小的环氧玻璃纤维敷铜板,或用聚四氟乙烯敷铜板。转换器的印刷电路板图如图7所示,电路板的制作用刀刻或用腐蚀的办法都可以。打好孔以后,再用细砂纸将铜箔面磨光。清洗干净之后,再涂上一层酒精松香水,这样不仅可以防锈还利于焊接。转发器的输出线可用一段约30Cm长的软导线,一端接在C\(_{7}\)上另一端焊接一只鳄鱼夹子。


3.组装:组装前将所有元器件进行仔细检查核对,有条件的可对管子进行测试挑选。为了防止虚焊,各元器件的引线在焊接前应先刮腿镀钖,焊接时元器件的引出线应尽量留得短些,以减少分布参量。晶体管最好采用“反焊法”,即先在印制板上打一个比管帽稍大一些的孔,再把三极管的管脚折向外侧,从铜箔面将三极管焊上,如图8所示。这种晶体管的“反焊法”常在超高频电路中应用,它的特点是分布参量较小,调换管子也很方便。由于超高频三极管的基极很薄,为了避免三极管在焊接时损坏,应先焊其它元件,最后焊三极管。焊三极管时,还应先焊集电极,再焊发射极,最后焊基极。如果用的三极管是4条腿,一定要将与外壳相连的那条腿接地,切不可把它剪掉,以免失去屏蔽作用而引起自激或增大噪声。电源开关的外壳也应接地,它的引线也应尽最短些,以免引起在频率高端起振困难。印制板上已留有电池位置,用磷铜片作一副电池夹子焊上去或用铆钉铆上去。最后电路板装进一个金属屏蔽盒内。
整机调试
元器件焊接完以后,应仔细检查确认无误后,方可通电调试。
1.调电流:在高频电路内调三极管电流,不采用在集电极串接电流表直接测电流的方法,这是因为电路里接入电表以及引线等会引起电路自激,这样就无法测试。一般是通过测有关电阻两端电压值来近似确定电流值。本电路首先调节R\(_{1}\),使R2两端电压为0.2V左右,即I\(_{C1}\)≈2mA。再调节R3,使R\(_{4}\)两端的电压力0.1V左右,即IC2≈0.3mA。最后调节R\(_{5}\),使R6两端电压为0.2V左右,即I\(_{C3}\)≈1mA。根据实验,如果所用的晶体管β值在50~100范围以内,电阻按图2所示的标称值装配,电流一般是不需要调整的。
2.调节振荡器:电流调正常后,将三用表(打在电流档)串在电源引线之中。将可变电容器C\(_{w}\)全部旋入,这时Cw的容量最大。用镊子或小起子碰触C\(_{w}\)和L2的连接点,电流表的指示有明显的下降,说明振荡电路在频率低端已经起振了。如果电流表的指示有明显的上升,这说明振荡电路在频率低端没有起振,一般是因为C\(_{3}\)值太小而使反馈太弱,适当增加C3的值就会使振荡电路起振。低端调好后,再将C\(_{w}\)的动片全部旋出,这时容最最小。同样用镊子或小起子碰触Cw和L\(_{2}\)的连接点,电流表的指示有较明显的下降,说明振荡电路在频率高端已经起振了。如果在调节过程中电流表指示不变化,有可能电容C1、C\(_{2}\)、C3以及C\(_{w}\)中有某个电容已经损坏或接线有问题,仔细检查予以排除。如果振荡电路在频率低端起振而高端不起振,这是由于所用晶体管的截止频率fT太低或者是电容器的介质损耗太大所引起,应换上质量好的元器件,再进行调整直到电路工作正常为止。
3.试收UHF频段的电视节目:以上调节完成后,在有UHF频段电视广播时,将非全频道电视机的高频头置于某一频道,但一定要避开当地电视台的广播频道。例如北京地区在收中央电视台第三套节目(15频道)时,可将VHF高频头置于4频道。把转换器的输出线前端的鳄鱼夹子夹在电视机的天线上,开启电视机和转换器的电源。缓慢地调节C\(_{w}\)并适当转动天线,一般都能收到图象和信号。然后再拨动L2与L\(_{3}\)之间的距离,使图象和伴音均达到最佳。注意L2与L\(_{3}\)之间的距离也不能太近,以免造成高端不起振,L2与L\(_{3}\)之间的距离应在4mm以上。如果调不出图象且在屏幕上出现很强的网状条纹,说明电路已经自激了。这时要首先检查各元件的引线是否过长,混频管的电流是否大一些。一般只要元件的引线不是过长,将R3的阻值增大一些,自激就会排除。在信号较强地区接收时,输出线不一定夹在电视机天线上,将转换器放在电视机旁边,就能收到良很的图象和伴音。而在信号较弱且干扰较大的地区接收时,要将转换器的输出线(最好用同轴电缆)直接接到电视机的天线输入插孔上,以提高接收效果。(朱小华)