本文介绍的二分频/立体声两用扩音机,采用场效应管和集成电路组装,具有电路简单、性能优良、无需调整等特点,适合业余爱好者装制。该机的正弦波输出功率在2×5瓦以上,能满足一般家庭的需要。作二分频扩音机使用时,可与收音机、录音机和通用电唱机相配,分频频率为2000赫。如把立体声收录机的线路输出信号送入本机相应插口,则可进行立体声扩音。
整机电路如图1所示。单声道全频信号从插口CK\(_{1}\)输入,前置放大级由场效应管BG1接成源极输出电路,具有输入阻抗高、噪声低等优点,静态工作点不需调整。该级的额定输入电压是100毫伏,输入阻抗达500千欧,能满足陶瓷或晶体拾音器的匹配要求,音质较好。BG\(_{1}\)的源极输出端接有由C4、R\(_{5}\)组成的高通滤波器和由R6、C\(_{5}\)组成的低通滤波器,从而把信号分成高、低两个频道,并由电位器W1、W\(_{2}\)分别控制这两个频道的音量。为了便于业余制作,本机只用简单的RC滤波节组成分频网络,当R5=R\(_{6}\)=R,C4=C\(_{5}\)=C时,该网络的分频频率f≈\(\frac{1}{2πRC}\)衰减率约6分贝/倍频程。这个衰减率正好与普通音调控制电路的衰减率相似,所以调节W1、W\(_{2}\)时,还可兼得音调控制的效果,高、低音的衰减凋节量达无限大。如果需要升高或降低分频频率,可同时减小或增大C4、C\(_{5}\)的容量。

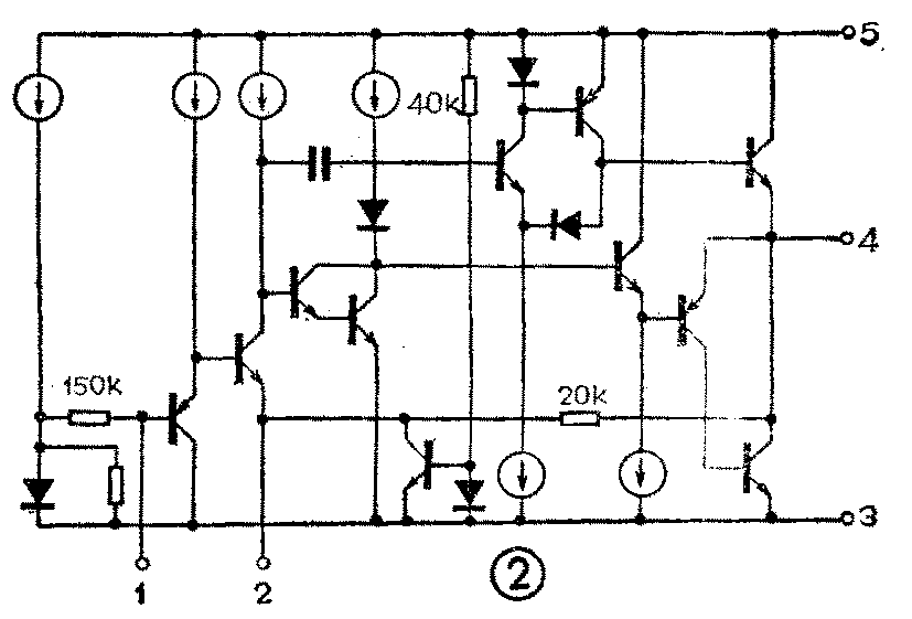
本机两路功率放大器均用集成电路装制、电路相同。二分频应用时,IC\(_{1}\)、IC2分别是高、低频道的功率放大器。如用于立体声扩音,则IC\(_{1}\)、IC2改作左、右声道的功率放大,此时收录机送来的信号从CK\(_{2}\)、CK3输入,W\(_{1}\)、W2成为左、右声道的音量控制器。集成电路IC\(_{1}\)、IC2的型号相同,国产品叫做D2002,相当于进口品LM2002、CA2002、TDA2002、μPC2002、HA2002等。这种集成电路的性能优良,内有限流和过电压、过热保护电路,具有电流容量大、失真小、噪声低、接通电源时的浪涌冲击小等特点,其内部电路如图2,主要参数见附表。该集成电路只要很少的外围元件,电源电压可在8~18伏的范围内选用,工作点无需调整,很适合业余爱好者使用。2002型集成电路的外形见图3,与常见的塑封大功率管相似。它只有5个出脚,其读法如下:面对型号,管脚朝下,自左到右依次为1到5脚,其中前排是1、3、5三脚,后排是2、4两脚。



功放电路各外围元件的功能如下:C\(_{6}\)、C7、C\(_{12}\)、C13是耦合电容;R\(_{7}\)、R9、C\(_{8}\)和R8、R\(_{1}\)0、C9分别组成上、下功放的负反馈电路,减小或加大R\(_{7}\)、R8的阻值便可提高或降低相应频道的电压增益;C\(_{1}\)0、R11和C\(_{11}\)、R12是补偿元件,如功放级出现高频自激,可加大C\(_{1}\)0、C11的容量。
IC\(_{1}\)、IC2需紧固在散热器上,其安装方法与塑封大功率管相似。散热器可用面积为100×50平方毫米的铝片弯制,外购时可选SRZ302型叉指散热器(两只)。图4是本机的印刷电路板安装图。为了便于初学者安装,本机把各输入插座、电位器、散热器以及整流滤波元件全部安装在印刷电路板上,装好后接上交流12伏电源和扬声器便可使用,不用再焊其他连接导线,十分方便。如果所用滤波电容C\(_{14}\)的体积较大,可平卧安装,借助印刷电路板上的槽孔,便能用薄铜片或铜线把它箍紧固定。

由于本机电源电压较低,工作点又无需调整,所以只要所选元件良好,焊接无误,通常装好后便可得到预期性能,投入使用。本机配用的扬声器阻抗为4欧,如手头上只有8欧的扬声器,可把它每两只并联供一路使用,否则扩音机的输出功率将减小。另外,如果每路输出都并联接上两只4欧扬声器,使扩音机的负载阻抗为2欧,则每个声道的输出功率还可增大到8瓦左右。扬声器并联使用时,需注意其连接相位要一致。
图1已标有本机晶体管和集成电路各出脚的对地直流电压,可供检修参考。
本机从电路特点、制作方法等几个方面都进行了较周到的考虑,尽量作到适合无线电业余爱好者自行安装和调试。(李应楷)