米老鼠游戏机外形见题头图,它能测验你的反应能力。当接通电源后,米老鼠的鼻尖会发出红或绿以及橙三种颜色的闪光,有时还有不发光的间歇时间。有趣的是三种颜色的闪光和间歇出现的先后次序和持续的时间长短都变幻莫测,使人捉摸不定。你可以预先选定一种颜色,比如红色,当红色闪光出现的瞬间,迅速地按下米老鼠脚上的两只按钮。如果你的动作及时,则红色光会固定下来,保持不变,表示你反应敏捷。要是你稍有迟疑,这红色光就会转换为其他色光,或者熄灭。这说明你的反应力欠佳,还需多练习。你可以和朋友们比比看,看谁成功的次数最多。
工作原理
米老鼠游戏机的电路见图1。图中三色变色发光二极管2EF302是在同一只管壳中封装了红、绿两种颜色的发光管芯各一只。两只管芯的负极有一根公共线(C)引出,红光管芯的正极(R)和绿光管芯的正极(G)则分别引出。因此这种变色发光管有三条引出线,见图1。当在R与C之间加上正向电压,使管芯通过约10毫安电流时,管子发出红光;同样,当在G与C之间加上正向电压,使管芯通过约10毫安电流时,管子发出绿光;当R与C、G与C之间都通过正向电流时,红、绿管芯同时发光,管子即发出红光与绿光的混合色光——橙色光。图1中R\(_{3}\)、R4的阻值供参考、如在实际使用中,发现红光(或绿光)亮度较弱,可减小R\(_{3}\)(或R4)的阻值,使发光亮度增加,同时也改变了混合色光的颜色,但应注意流过管芯的电流不能过大。


图1中选用的集成电路型号为C036,其它型号C006、C066也可用。C036是二输入端四与非门,将每个门的两个输入端连接在一起作为非门使用。其中门1、2与R\(_{1}\)、C1组成低频振荡器Ⅰ,门3、4与R\(_{2}\)、C2组成另一低频振荡器Ⅱ。振荡器的工作原理见本刊85年第四期第35页,这里不再讲述,改变R\(_{1}\)C1或R\(_{2}\)C2的数值可以分别改变两个振荡器的频率。电路设计时使Ⅰ、Ⅱ两个振荡器的振荡频率略有不同。振荡器Ⅰ的频率约2赫兹,振荡器Ⅱ的频率约1.5赫兹。当振荡器Ⅰ输出高电平而振荡器Ⅱ输出低电平时,BG\(_{1}\)驱动发光管发出红色光;当振荡器Ⅱ输出高电平而振荡器Ⅰ输出低电平时,BG2驱动发光管发出绿色光;当两个振荡器都输出高电平时,发光管发出橙色光;而当两个振荡器都输出低电平时,发光管不发光。详见图3波形图,这样发光管就有如附表所列的四种状态。同时,由于振荡器Ⅰ与Ⅱ的频率略有差别,因此这四种状态的出现次序和每种状态的持续时间都仿佛是随机的,让人捉摸不定。这样就增加了游戏的趣味性和难度。


实际上,这四种状态的出现还是有一定的规律可循。只是它们重复出现的周期较长,在同一周期中的变化较多,使人不易察觉和记忆罢了。
当你看准时机,同时按下按钮AN\(_{1}\)、AN2时,两个振荡器会立即停振,这时每一个振荡器输出端将保持在当AN\(_{1}\)、AN2按下时刻的状态,不再变化。因此,发光管的发光颜色也就保持你按钮时的状态不变。由于发光管的状态变幻莫测,而且每种状态持续的时间也很短暂,这就要求你反应迅速、动作敏捷、在预定颜色光发出的瞬间同时按下AN\(_{1}\)和AN2两只按钮。如果你稍不留意,就会失败。
制作安装

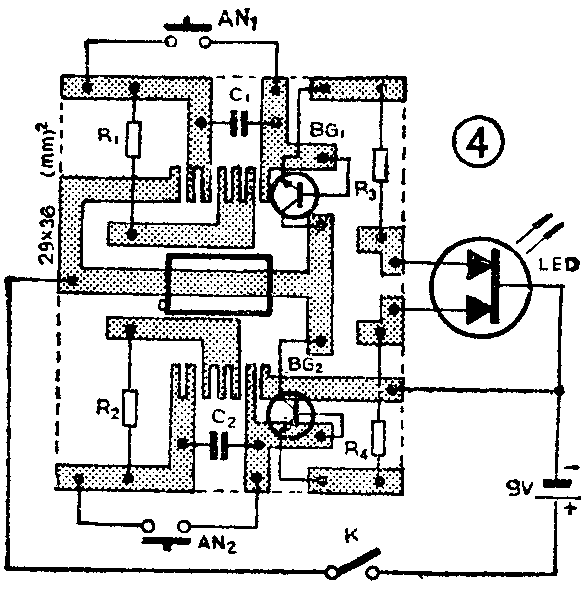
图3是印刷电路板及引脚排列图。因电路十分简单,可用刀直接刻制。线路板也不必钻孔,全部元器件都焊在有铜箔这一面上。按钮开关和电源开关可用弹性好的磷铜皮自制。全部元器件焊好后,将线路板固定在一个大小合适的盒子里或瓶盖里。再参照题头图作一只米老鼠,将它固定在盒盖上。在米老鼠的鼻尖上嵌上变色发光二极管。最后,装上9伏叠层电池。合上电源开关,米老鼠的鼻尖立即发出变幻多彩的闪光,一只神奇的米老鼠游戏机就制作成功了。(李光宇)
