为了配合业余无线电爱好者和青少年科技实验活动,我们组织了六管中波段超外差式收音机套件,供初学者练习装配使用。收音机套件函购方法见48页。下面介绍此收音机调试方法及装配中应注意的问题。
电路特点
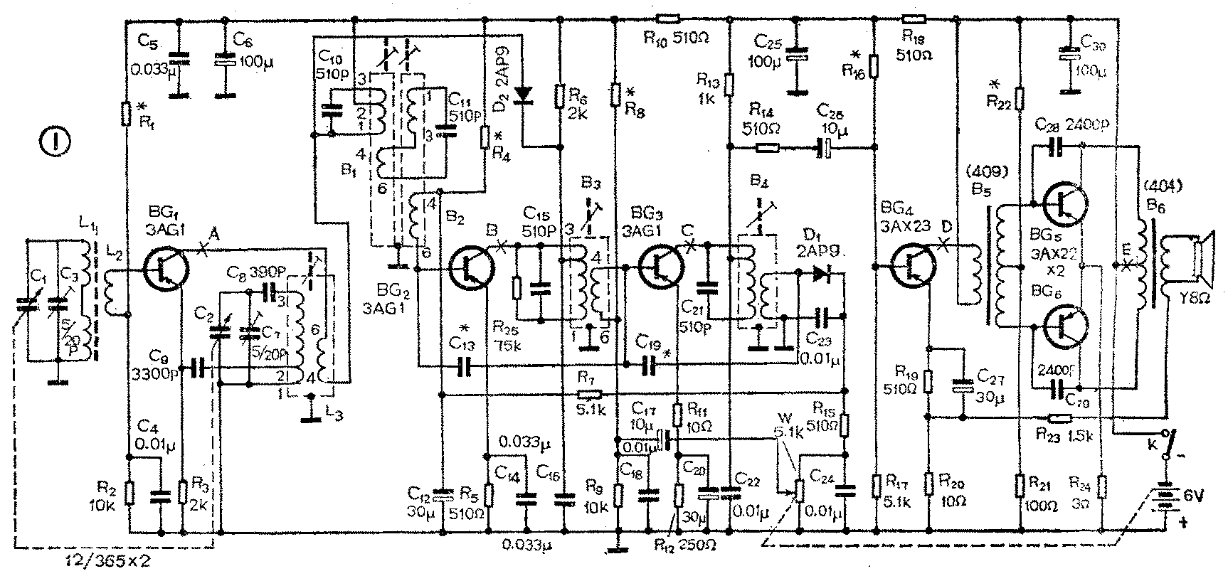
收音机电路见图1。全机均采用锗管。变频级采用共基极调发射极振荡电路。第一中放级的中频变压器采用电感耦合双调谐回路,克服单调谐回路的选择性、通频带不够理想的缺点。经两级中放后的信号,通过检波二极管D\(_{1}\)检波,得到音频信号,再经C23、R\(_{15}\)、C24组成的滤波器滤除中频,输出音频信号加到音量电位器W上,通过C\(_{17}\)加到BG3管基极进行来复低放,使BG\(_{3}\)管具有中放、低放两重作用。放大后的信号经过R14、C\(_{26}\)加到末前级进行低频放大。R20、R\(_{23}\)为反馈电阻,加上此电阻目的为减小失真,改善音质。

元器件选择
收音机中二极管D\(_{1}\)、D2选用2AP9。三极管BG\(_{1}\)、BG2、BG\(_{3}\)选用3AG1,BG4选用3AX23,BG\(_{5}\)、BG6选用配对的3AX22。上述几种管子的管脚排列见图2。

磁性天线中的磁棒选用φ10×100中波磁棒。天线线圈选用7×0.07的纱包线分段绕制,如图3。

振荡线圈L\(_{3}\)选用SZZ14,内部接线图见图4。

中频变压器B\(_{1}\)2\(_{3}\)4分别选用SZP7、SZP1、SZP2、SZP3。它们的内部接线图见图5。

输入变压器选用409型,输出变压器选用404型。本机可变电容器选用2×365pF等容双连。
本机选用铝壳电解电容器,引线较长为正极,较短为负极。还可从外壳上的标志来区分正、负极,详见图7。

本机选用色环电阻,为方便初学者识别阻值,特列出色环与数值的对应表。下面举两例作说明。

①电阻上色环次序为橙、绿、金、金,表示3.5Ω±5%的电阻。
②电阻上色环次序为绿、棕、棕、银,表本510Ω±10%的电阻。
电路图中C\(_{3}\)、C7采用拉线电容,它们的外形见图8,接线时注意动片接地。

整机调试
本机印刷电路板见图9。全机焊好后,经检查无误,即可接入喇叭,通电调试。

(一)调整静态工作点。可以从前级开始调整,也可以从后级开始调整。将万用表拨至直流电流档,串联到需要调整的那一级晶体管集电极电路中去,测量该级集电极电流值。调整时,图1中偏置电阻(打星号的电阻)可暂用可变电阻代替。方法是选一个数值相当的电位器,串接一个小阻值电阻,接到电路中去。串接小阻值电阻的目的是为防止电位器旋到最小值时,该级管子基极电流过大,使晶体管烧坏。各级工作点要反复调整几次,达到规定数值后,用一固定阻值电阻代替。调整时要保持整机无信号输入,可将双连电容全部旋出或旋入,防止调整误差。
1.变频级调试:将图1中A点断开,把万用表串接进去,其红表笔接BG\(_{1}\)的集电极,黑表笔接中振线圈L3的6端。调整R\(_{1}\),使集电极电流IC1为0.5mA左右。电流太小在电池电压下降时,容易停振;电流过大,稳定性差,容易产生间歇振荡或寄生振荡,增大噪声。R\(_{1}\)的阻值大约在30~50KΩ。
2.第一中放级调试:将图1中B点断开,串接万用表,其红表笔接BG\(_{2}\)的集电极,黑表笔接中频变压器B3初级3端。调整R\(_{4}\),使IC2为0.4mA左右。因一中放加有自动增益控制电路,所以电流不宜取得过大。R\(_{4}\)阻值大约在30~50KΩ。
3.第二中放级调试:将图1中C点断开,串接万用表,其红表笔接BG\(_{3}\)的集电极,黑表笔接中频变压器B4初级。调整R\(_{8}\),使IC3为2mA左右。电流不宜过小,要兼顾来复低放的增益,防止低频信号失真。R\(_{8}\)阻值大约在30~50KΩ。
4、末前级调试:将图1中D点断开,串接万用表,其红表笔接BG\(_{4}\)的集电极,黑表笔接输入变压器B5的初级。调整R\(_{16}\)、使IC4为2mA左右。R\(_{16}\)阻值大约在10~25KΩ。
5、功率放大级调试:将图1中E点断开,串接万用表,其红表笔接输出变压器B\(_{6}\)初级中心抽头,黑表笔接电源负极。调整R22,使I\(_{C5}\)与IC6之和为2~3mA。电流不宜太大,否则效率将降低。R\(_{22}\)阻值大约在2~5KΩ。
(二)判断电路是否起振。可用振荡连电容C\(_{2}\)对地短路方法检查。将万用表拨至最低直流电压档,并联在BG1管发射极电阻R\(_{3}\)两端,其黑表笔接BG1管发射极,红表笔接地。用螺丝刀将振荡连电容C\(_{2}\)动片、定片短路。如果振荡正常电压表指示将变小,因起振时电流变大,不起振时电流小。否则应检查该级元器件有补损坏,BG1管静态工作点是否正常,双连电容有否碰片。如有哨叫声,可在R\(_{3}\)两端并联1000pF左右旁路电容器或减小C9的数值,消除自激振荡。
(三)调整中频频率。可在中波段低端找到一个电台,此电台信号不宜过强,否则自动增益控制电路作用不明显,使输出音量变化迟钝。可以通过改变磁棒位置,来减弱电台信号或选一个弱信号电台,反复调整四个中频变压器的磁帽,使此电台声音达到最大时为止。也可以利用万用表最低电压档,测量一中放级晶体管发射极电阻R\(_{5}\)上的电压降。用万用表黑表笔接R5上端,红表笔接地。调整中频变压器时,使发射极电压退至电压表指示最小值为小。中频变压器调整应从后级开始,即按B\(_{4}\)3\(_{2}\)1的顺序调整。如发现中放级产生自激振荡,出现哨叫声,可适当加入3~10pF中和电容,即图中C\(_{13}\)、C19两个电容。另外检查中频变压器内部有否损坏,它的引出端序号有否搞错。还要检查中频变压器屏蔽罩下方的弯角与印刷板上地线有否用焊锡连接上。
(四)调整全机频率范围。如没有拉线刻度盘,可找一台市售成品收音机,比较双连可变电容器旋出的角度。方法是在高频率和低频率端各选一个已知频率的电台,如640KHz和1480KHz两个电台。低端调振荡线圈L\(_{3}\)的电感磁帽,高端调微调电容C7(印制板上双连电容上方的那个拉线电容),使高、低端电台声音到最大为止。拉线电容上的拉线拉出几圈后,容量减小,所以调整时要仔细,一圈一圈地慢慢拉出。如拉出过多可以再绕回去,用胶粘住。由于高、低端调整时会互相影响,所以要反复仔细调整几次,才能调准。也可以类似调中频变压器那样,用万用表电压档测一中放R\(_{5}\)电阻上的电压,使电压表针指示最小为止。
(五)整机统调。首先收听一个低端电台,调整磁棒上线圈的位置,使声音最大,即达到低频率端统调。再收听一个高端电台,调节输入回路中的微调电容C\(_{3}\)(双连电容右侧那个拉线电容)、使声音最大、即达到高频率端统调。需反复调整几次,才能准确。
应注意事项
1、安装过程中,要注意晶体管引出脚不能焊错。例如:集电极与发射极颠倒,造成偏流调不上去,音量很小。输出、输入变压器若装颠倒,偏流虽可调,但音量很小。
2、检波二极管接反,造成一中放管集电极电流调不下来,在有电台时,产生“朴朴”声,灵敏度很差。(康浩)