玩具电子琴种类繁多,目前市场上供应的可分为分立元件和集成电路两大类。前者线路繁复,要想使每个音符都准确,还需非常仔细地调节相应的音调电阻,而且不容易调得很准确。后者外围元件少,应用电路很简单,装、调均很容易,而且音域宽广、体积小巧,深受业余爱好者欢迎。下面介绍几种常见的玩具电子琴集成电路。
22键CW93520电路
这种集成电路外形很小,只有一粒药片那样大,但内部包含有振荡器、音符发生器、前置放大器等电路,而且能演奏22个音符。
它的特点是:①低电压供电,电源采用2~5V直流电压;②不须外接放大器就能驱动峰鸣器放音。蜂鸣器可采用φ27mm的压电陶瓷片;③装配时不需外设音键电阻;④音色优美。
图2是外接22键键盘的应用电路。晶体管CS9013也可用3DG12代替。扬声器也可用8Ω0.1VA的代替。改变图中R\(_{2}\)的阻值,可调节音量的大小。
图3为印刷电路板与元件排列安装图。出厂时CMOS集成片CW93520已焊封在印刷电路板上,不需另行焊接插脚,所以组装特别方便。图4是按键盘时相应的输出音量图,从它的输出情况来看,特别适合于制成玩具吉他等电子乐器。


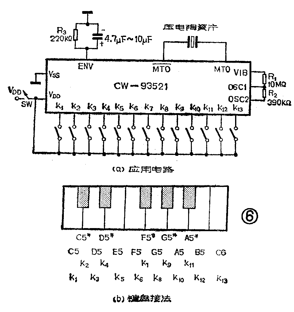
25键CW93521电路
这个电路的功能跟CW93520相仿,但它除了具有与CW93520相同的特点之外,还可以使电键之间经适当连接处理后扩展为25个键。
图5为CW93521集成片的引脚位置排列图。图6为外接13键键盘时的电路图。图7为外接17键键盘时的电路图。图8为外接25键键盘时的电路图。图9为印刷电路板和元件排列安装图,读者在制作时只要按电路连接,则不需调试,即能得到满意的效果。





具有多功能的CW93511电路
这个电路除了能够演奏乐曲之外,还具有记忆、放音和自奏的功能。集成块内部包含有振荡器、音符发生器、乐曲固定存储器和乐曲随机存储器等大规模集成电路。所以又叫做电脑电子琴。它的外围元件很少,组装很方便。
图10是CW93511的应用电路图,按下开关SW\(_{1}\),并把功能健SW3拨向A端时,只要按一下13脚(R\(_{4}\))和14脚(C4)引出线相交点的放音键盘,就能把电路内原来储存的14首世界名曲,从头到尾并周而复始地自行演奏下去。如果按下其它键盘,就能从跟这个键盘相对应的那首名曲开始唱起。若把SW\(_{3}\)拨向B时,自奏即停止,再按动键盘,就能演奏曲子。在演奏的同时,电路能自动地把演奏的曲子存储(记忆)在电路中。停止演奏后,只要按一下放音键,就能把刚才存储起来的乐曲自动地重新放出来。如果按一下常闭开关SW2,就能把已存储的曲子全部抹去,又能重新存储新的乐曲。

图11是CW93511的外形和插脚位置排列图,它采用18引线双列直播式塑料封装,没有焊封在印刷电路板上,应注意的是它的键盘是用矩阵形式排列的,安装时一定要按照图10中的矩阵次序接线。

25键LM6402多功能电路
LM6402电子琴集成块,实际上是一种四位单片微型电子计算机系统,内储容量较大,它除了具有CW93511的全部特点之外,由于采用了一块400KHz的石英晶体作为主振器,所以频率非常稳定,可以输出175、185、196、208、220、233、247、262、277、294、311、330、349、370、392、415、440、467、494、523、554、587、622、660、698Hz等25种不同的音符。其频率误差不大于0.6%。
图12为该集成电路的应用电路,电路的各部分公用一个5V直流电源,其中SW\(_{1}\)为高八度音选择开关,SW2为功能转换开关。当SW\(_{2}\)拨向M端时,用手按音键即能演奏乐曲;当SW2拨向R端时,能把演奏的乐曲存储在电路中,若不需要存储时,可瞬时断开跟RESET相连的电源即可;当SW\(_{2}\)拨向P端时,能将刚才存储的乐曲重放出来;当SW2拨向A端时,并且分别按1~13音键和REST键,就能把内储的14首世界名曲逐一播放出来。集成块的33脚至第36脚为音调调节输入端。第12脚至第19脚为音调调节输出端。进行矩阵式排列后,按下相应的连接点即能输出25种音符。第22脚为音符输出端。晶体管CS9012也可用3CG5代替。(汤诞元)


