本刊过去曾介绍过用普通袖珍电子计算器的“=”号键进行累加计数的方法。例如,当计算器显示板清零后,先按一下“1”键,再按一次“+”号键,之后,每按一次“=”号键,就进行一次“1”的累加运算。如果从“=”号键处引出两根引线,通过控制两根引线的接通与断开,来进行累加运算,效果也一样。上述办法由于简单易行,准确度也较高,在工厂技术革新和日常生活中常常用到。但采用这种办法时对被控制的信号有一定要求,即:“=”号键接通后的持续时间应大于0.02秒,两次接通之间的时间间隔不能小于0.2秒。也就是说,累加速度不能超过每秒5次,否则会出现漏计或乱计现象。同时,对持续时间小于0.02秒的短脉冲信号也不能直接累加。
在生产和科研当中,常常遇到需要累加短脉冲信号。例如,自动机床加工好的螺丝钉和螺母,通过滑槽自由落到容器里,若在它们降落到离容器20厘米处设置一个光电转换器,以便配合上面提到计算器对产品进行计数,由于1厘米左右长的螺丝钉遮光时间仅约为5毫秒,2毫米左右厚的螺母遮光时间则仅有1毫秒左右,这样短的脉冲信号,单借助光电管或机械触点去直接控制计算器的“=”号键,显然是不行的。
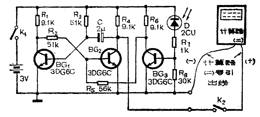
本文介绍一种用液晶显示的袖珍计算器累加短脉冲的方法。原理图见附图。液晶显示的袖珍计算器,电源电压一般为直流3伏。如果从“=”键处引出两条引线,这两条引线之间的直流电压也应为3伏,一条为正极性的,另一条为负极性的(见附图),当将两条线相接时,就等于按下“=”号键,于是进行“=”号运算。值得注意的是,因为两条引出线的开路电阻较大,所以如果用普通万用表测量两条引出线之间的电压,由于万用表内阻较低,所以测得的开路电压值会偏低,例如,用MF-30表的25伏档测量时,会发现仅有2伏左右。

电路的工作原理是:BG\(_{1}\)、BG2组成单稳态电路,合上K\(_{1}\)接通电源后,晶体管BG1导通,BG\(_{2}\)截止,这是一个稳态。晶体管BG3工作在开关状态,当光电管D有光照射时,D的内阻变小,相当于BG\(_{3}\)的上偏流电阻变小,使BG3很快进入饱和导通状态。此时BG\(_{3}\)的集电极电位很低,这一低电位通过R5加到BG\(_{2}\)的基极,BG2的基极电位就被钳制在一个很低的电平上(接近零伏),于是BG\(_{2}\)的集电极电位保待“1”电平(接近3伏)。
进行计数时,先接通计算器本身电源,然后按计算器上的“1”、“+”两个键(设累加的数为1),再合上附图中串联于正极性线上的开关K\(_{2}\)。设需要计数的是前面提到的螺丝钉,当螺丝钉下落,使光电管被瞬间遮光时,附图中的光电管内阻变得很大,晶体管BG3截止,于是BG\(_{3}\)集电极产生一个正脉冲,这个正脉冲通过R5加到BG\(_{2}\)基极,使BG2由截止变为导通,BG\(_{2}\)集电极由“1”电平迅速变为“0”电平,即BG2的内阻近似为零,相当于将引出线端的(+)和(-)接通,即“=”号键接通。由于BG\(_{2}\)集电极产生一个负脉冲,通过电容C耦合到BG1基极,使BG\(_{1}\)迅速截止,BG1集电极电位升高,促使BG\(_{2}\)更加导通,这是一个暂稳态。之后随着C通过BG2放电,BG\(_{1}\)基极电位又慢慢抬高,到一定程度后BG1又导通、BG\(_{2}\)则又截止了,这就又进入原来的稳态。单稳态电路的暂稳时间T=0.7R3·C,也就是“=”号键接通的时间,按照电路中所给出的参数,“=”号键的接通时间约为0.07秒。这样就把光电管产生的短脉冲变成了计算器可以累加的宽脉冲。光电管每被遮光一次,就相当按了一次“=”号键,进行了一次累加运算。由于光电管的响应时间、开关管BG\(_{3}\)的过渡时间和单稳态电路的翻转时间总共还不到1微秒,所以用这种方法完全可以累加重复频率不超过每秒5次的微秒级脉冲信号。我通过在BL-802型袖珍计算器上作试验,证明此法准确可靠。
在按电路进行安装和操作时,应注意以下几点:
1.用电平信号控制“=”号键,要求“1”电平和“0”电平之差,要尽量接近“=”键两引线之间的开路电压。如果两电平差值太小,则不能有效地去控制“=”号键。差值电平如果太大,则又可能损坏电子计算器。该电路中,用两节1.5伏干电池作电源,两电平之差约为3伏,几乎对所有的液晶显示的袖珍计算器都适用。
2.计算器“=”号键的(+)、(-)两根外引线,在同外电路连接之前,一定要先用万用表的直流电压档测量一下,分清正、负极,千万不要接错。焊接时,电烙铁要可靠接地线,最好是待烙铁烧热后拔下电源插头迅速进行焊接,以防止损坏计算器内部的大规模集成电路。
3.进行累加操作时,先合上开关K\(_{1}\),接通外电路电源。再接通计算器本身的电源,按“1”、“+”两个键(设累加为1)。最后合上串联在“=”键正引线电路中的开关K2。这时计算器只作累加运算,再按任何其它的键都不起作用。如果断开K\(_{2}\),则其它每个键的作用又恢复正常。
4.具有累加功能的计算器有两种情况需要注意:按了“1”、“+”键后,再按几次“=”键,有一种计算器的累加结果等于n,而另有一些计算器的累加结果可能等于(n+1)。
5.有些计算器,如fX—100型,按了“1”健后,需连续按两次“+”键,再按“=”号键,才进入累加运算,这一点也需引起注意。(王宝舫)