从黑白电视的诞生到现在,电视技术已经有了半个多世纪的历史。彩色电视的出现又为电视技术的发展开辟了新的前景。现在,电视技术领域里出现了各种新的技术改革,而高清晰度电视正是其中的一个重要方面,它以其清晰的图象,鲜艳的色彩,高保真的立体声伴音,给广播电视带来了新的生机。
高清晰度电视的提出
与黑白电视相比,彩色电视引入了彩色信息,使图象更真实而富有生气。然而,如果与彩色电影相比,我们总感到彩色电视依然不如彩色电影清晰、逼真。
当我们靠近电视机荧光屏仔细观察时,就会看到在荧光屏上有一条条亮线,这些亮线就是图象的扫描线。一幅画面被扫描线分解成许多小光点,通常称为“象素”。扫描线数越多,象素数目也越多,图象分解的也越细;反之,象素数目越少,荧光屏上的图象就显得粗糙、模糊。目前,世界上现有的电视系统中有每秒传送30幅画面的、60场,每幅画面分为525行扫描线;还有每秒传送25幅画面的、50场,每幅画面625行扫描线等制式。我国采用后一种制式。由于受扫描线数的限制,使得图象不够清晰;由于亮度与色度信号进行频谱交织的混合传送,不可避免地存在亮度与色度的互相干扰。因而人们又提出了更高的要求:希望对画面的水平和垂直的分辩率都提高一倍,以与35毫米的电影相媲美;希望解决由于频谱间置而引起的亮度与色度之间的串扰;在实现了高保真立体声音响以后,希望有优质的图象与之相匹配。
经过十几年的研究,在国外正在开发一种高质量的标准彩色宽屏幕电视系统,称为高清晰度电视。日本是最早投入高清晰度电视的研制工作的,他们采取的措施是将扫描行数提高到1125行,从而将图象水平和垂直清晰度各提高约一倍,信息量扩大到普通电视信息量的4倍;同时,将现在的荧光屏宽高比4∶3改变为5∶3,由于宽高比的增加使传送图象的信息量相应增加。因此,高清晰度电视所传送的信息量比现有的标准制式扩大到4倍以上,图象质量的水平清晰度接近于35毫米的电影。
高清晰度电视制式
在15年前,日本广播协会就开始了关于高清晰度电视方面的心理物理学和设备技术上的研究。经过全套设备和广播卫星传送的试验,于三年前,向全世界公开介绍了这种高清晰度电视系统。根据实验提出的初步标准是:每幅画面分为1125扫描行,采用隔行扫描制,每幅画面分两场传送,帧频为30赫,屏幕宽度比为5∶3,以及高保真立体声伴音。在此标准下,图象的亮度信号带宽为20兆赫,两个色差信号带宽分别为7兆赫和5.5兆赫。图象的质量优劣是按以下七个等级来评定的,即非常差、差、较差、尚好、好、优质、理想等七级。采用1125行的高清晰度电视与625行普通电视相比,其图象质量高出二级多。高清晰度电视的扫描行数同样是依据人眼的视觉频率响应来决定的,与人眼观看图象时的距离有关。眼睛距图象位置越近,则要求扫描行数越多,否则,将使人眼产生图象扫描线的分隔感觉。普通电视为保证人眼不产生这种分隔感觉,人眼视距应在图象高度的7倍左右。而高清晰度电视即使视距缩短到屏幕高度的3倍时,眼睛仍感觉不出有分隔现象。另外,根据成象面积与幅型比的主观评价得出结论为:成象面积越大,宽高比取5∶3或6∶3就比4∶3更为合适,所以,高清晰度电视采用5∶3的宽屏幕显象。
高清晰度电视的信号形式
高清晰度电视目前使用两种信号格式,一种是复合彩色信号系统,另一种是时间压缩组合信号系统。
1.复合彩色信号系统
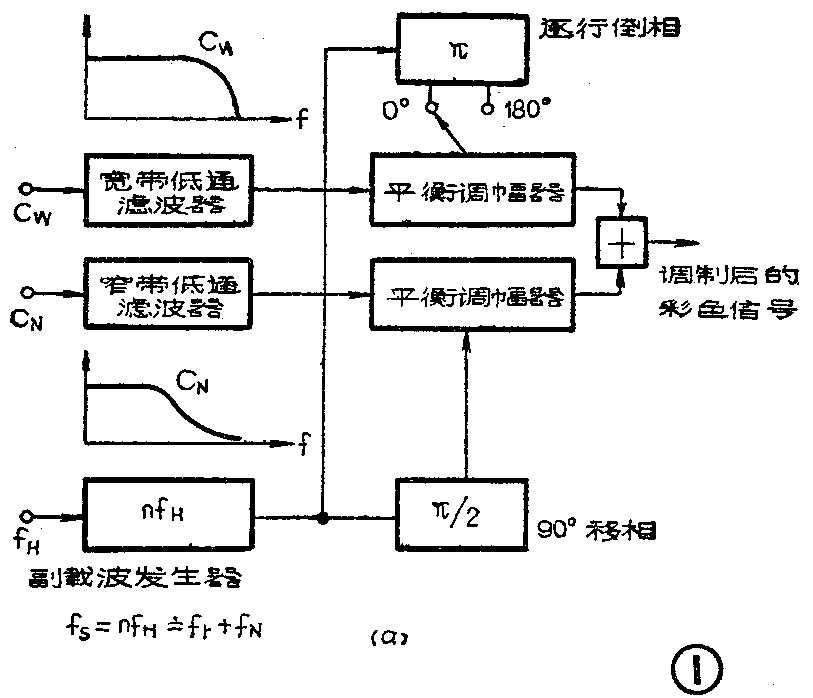
所谓复合彩色信号系统,就是对于彩色电视信号中的亮度信号(Y)和色度信号(C)在频率上采用频分的办法进行传输。在PAL制中,为提高信号的频带利用率,把彩色副载波放在Y信号的频域内一起传送出去。但是,由此而导致了亮度信号的色度信号之间的干扰。同PAL制一样,在高清晰度电视制式中,两路色差信号C\(_{w}\)(宽带R—Y)和Cn(窄带B—Y)分别对副载频进行平衡正交调制,而后与亮度信号Y相加。在图1中表示了半行频偏置逐行倒相的彩色调制器方块图和其彩色调制后的频谱。在对色度信号进行调制的过程中,C\(_{w}\)为逐行倒相的色差信号。与现行彩色制式不同的是色副载频与调制后的色信号窄带部分处于亮度信号频带之外,只有宽带色信号的一部分频率成分与亮度信号的高频端进行半行频偏置的交错编织。为保证这一部分的频谱交错,副载频选为行频的整数倍,从而使亮度信号与部分宽带色信号保持半行频的间距。显然,这种方式,虽然也利用了频分的办法,但由于用展宽信号频带的方法将亮、色两部分尽可能地分开,所以减小了亮度信号与色度信号之间的串扰,使彩色和亮度都准确地重视。

2.时间压缩彩色信号合成系统
时间压缩信号合成系统是将亮度信号和色度信号通过可变延时后,使两者在一行周期(或两行周期)内处于不同的时间段落上,这又叫做时分复用。日本广播协会的时间压缩信号合成系统共有三种信号形成格式,如图2中a、b、c所示。这三种格式的共同特点是在一行(或两行)的周期内对分量信号进行时间压缩后再合成。

从图中可见,图a的信号是将亮度和两个色度分量按一定比例压缩后,再合成在一个行周期内;而图b的信号,也是对亮度和色度分量进行时间压缩,再合成到一行周期内,但不同于图a的是,在一行周期内只传送一个色度分量,两个色度成份是逐行轮流传送的;而图c信号则是将两行的亮度和色度进行一些处理后,再经时间压缩合成在两行的周期内的。可见,从信号占用的频带宽度来看,图a占的频带最宽,而图c占频带最窄。时间压缩信号合成系统对信号的处理较复杂,传送前要经过时轴压缩,而接收后还要进行时轴扩张。现行的广播系统中(NTSC、PAL、SECAM制)在发送端都是将一个高频彩色副载波置于亮度信号通带内,在接收机中又将亮度和色度利用滤波器分离开来。但在分离过程中,往往把高频亮度细节也当作彩色信息取出,造成了假的彩色图案;而在亮度通道中,又因为高频亮度细节的丢失使图象的清晰度下降。而时间压缩信号系统从时间轴上完全分开了亮度和色度信号,因而彻底消除了亮色串扰的现象,从传输效率和低噪声观点出发,在现代的磁带记录及调频广播方面更优于复合信号系统。
高清晰度电视的传输方式
由于高清晰度电视所占的信息频带很宽,超出现行电视信息频带宽度4倍以上,因此,它的已调波射频传送带宽达50兆赫左右。在目前的电视广播卫星传送中,每一频道的传送带宽规划为27兆赫,可见欲利用广播卫星进行高清晰度电视的转播,解决频带过宽是一个关键问题。
日本研究了一种高清晰度电视的编码传送方式。在这种编码方式中采用了多重二次抽样的频带压缩技术,其工作原理是:将一帧画面分四场进行扫描,每秒钟扫60场,即在每\(\frac{1}{60}\)秒的时间内传送一场画面。在接收端,将集成电路存储器中积累的四场信号再重新合成、补全,从而再现出原来的一帧画面。此方式可使传送信号的频带压缩一半以上。那么,原来占有20兆赫的高清晰度电视信号,经处理后,频带被压缩到8兆赫以内,即使传送时采用频率调制,用现行的广播卫星中的一个频道也有足够的传送频带。
这种编码方式还可以实现高清晰度电视与现有普通电视的兼容,只要将编码转换器接于标准的电视机上,对水平扫描进行适当调节,可使5∶3的宽屏幕高清晰度电视信号再现于4∶3的普遍接收机屏幕上。
英国也提出了一种电视卫星广播制式,采用亮度和色度信号分离的时序方式,将图象信号的亮、色成份按一定比例进行时间压缩,并置于一个行周期内。在64μs的行周期内(对于625行的电视系统),按时分复用传输图象信号和数字音频信号。数字音频信号被压缩成码率为20.25Mbit/s,持续时间约为10μs的“脉冲串”,并处于行消隐期内。亮度(Y)和色度(U和V)是经过时间轴压缩的时分复用模拟信号,占据行周期的正程。不同色度(U和V)采用逐行轮换传输,从而使各信号压缩比最小,以改善信噪比。亮度信号被压缩到2/3处,即从原占有的行正程54μs减到35μs,色差信号则被压缩到1/3处,即占行正程时间的17.5μs,如图3所示。

由于时间轴的压缩,使得信号频带的宽度按比例增加,压缩后图象信号的带宽将增加到8.4兆赫。在传送高清晰度电视时,为增加传输的图象信息,将传送声音等信息的数据脉冲持续时间进行压缩,以扩展高清晰度电视信号的亮度信号;同时,又将其色差信号的扩展信息内容放入场消隐期间进行传送。这一传送系统的信息容量不仅可以提供高清晰度宽屏幕的图象,还可与现有的625行电视系统兼容,其信号形式如图4所示。

除以上两种方式之外,还有调频传输方式和光纤传输等。
高清晰度电视的前景
当黑白电视向彩色电视迈步时,人们提出了彩色电视与现存的黑白电视兼容的要求。同样,在当今世界上彩色电视广泛普及的情况下,发展高清晰度电视使人们不得不考虑到这种高清晰度电视与现有标准电视的兼容问题。新的电视系统与现有电视系统保持高度的兼容,涉及到高清晰度电视的发展及现有标准系统的充分利用,兼容程度的优劣,涉及到高清晰度电视的生命力,制式转换的方便与否,转换后节目质量的高低,取决于高清晰度电视与现行电视之间在图象的扫描行数,帧频、场频方面是否存在着简单的比例关系。世界上现有的两个基本体制是525行/60场和625行/50场,而日本广播协会提出的高清晰度电视的原型是1125行/60场,如何与现有电视系统兼容是一重要问题。美国哥伦比亚广播公司提出双频道兼容高清晰度电视直播卫星系统的建议,打算建立能与现有的525行制式的接收机相兼容的1050行(2×525行)卫星传送高清晰度电视的收发系统。它用空间区分的方法,用2个标准的24兆赫调频卫星信道,其中一个传送节目为525行/60场、宽高比为4∶3的标准电视信息;另一频道则传送剩余一半的竟高比为5∶3,525行/60场的附加图象信息。普通电视则显示第一频道送出的图象,但宽屏幕高清晰度电视则把两个信道的内容结合在一起,在屏幕中部(占屏幕80%的区域)为高清晰度图象,再采用内插电路来补充左边和右边失去的部分信息。
当前,世界上对高清晰度电视的研究主要涉及到降低传送带宽和与现存电视系统兼容这两个主要问题。在研究高清晰度电视的同时,有人则认为,图象清晰度的提高,主要可通过解决亮色之间的串扰和闪烁问题来实现,而不在于扫描行数的提高,所以认为现有行数的电视系统在提高清晰度方面的潜力很大,主张研究所谓改良电视系统。目前,研究的改良电视主要是在两个方面进行:一种是在不改变现有的彩色电视制式标准的条件下,在发端和收端采取措施来改善图象的质量;另一种是在保持525行/60场或625行/50场的扫描规格前提下,采用新的传送标准以改善接收图象清晰度的电视系统。这两方面的探讨都有了初步的令人满意的结果,因而人们认为,改良电视将是现行电视向高清晰度电视发展的一个过渡阶段,高清晰度电视将从节目制作和卫星广播两个环节上首先进入广播领域。与此同时,高清晰度电视还可应用于其它的技术领域中,如图象印刷、图象编目及电影制作。
近些年来,日本、美国和欧洲一些国家都在高清晰度电视的研制方面及采用制式上进行竞争。日本准备在1989年发射BS-3广播卫星,进行高清晰度电视的转播。美国准备于1990年进行双频道兼容的高清晰度电视广播,英国也提出电视卫星广播制式,为高清晰度宽屏幕电视图象提供充分的信息容量。显然,电视技术新的起飞就要到来,高清晰度电视将以其全新的姿态步入人们的文化生活。(于志洁)